Operation CHARM: Car repair manuals for everyone.
Manuals through 2025 now available!

Our trusted friends have launched a new website named LEMON, which has newer manuals. It also contains all the CHARM manuals.

LEMON is the spiritual successor to CHARM, I recommend you try it!

Link: lemon-manuals.la or lemon-manuals.org.ua

(Some people have issue connecting. LEMON is investigating. For now, use Firefox or change your DNS server)

Or, hide this message: temporarily or permanently

Part Two




Automatic Transmission Removal and Installation

















*: Available through the Honda Tool and Equipment Program 888-424-6857

Installation

31. Transmission Mount Bracket





1. Loosely install new transmission mount bracket mounting bolt and nuts (A).

2. Tighten a new transmission mount mounting bolt (B).

3. Tighten the transmission mount bracket mounting bolt and nuts.

4. Install the ground cable terminal (C).

32. Raise The Vehicle On The Lift

1. Raise the vehicle on the lift.

33. Lower Torque Rod Mounting Bolt - Tighten





1. Loosen the lower torque mount mounting bolt.

2. Tighten the lower torque rod mount mounting bolts in the numbered sequence shown.

34. Lower The Vehicle On The Lift

1. Lower the vehicle on the lift.

35. Upper Torque Rod - Tighten





1. Tighten the upper torque rod mounting bolt.

36. Raise The Vehicle On The Lift

1. Raise the vehicle on the lift.

37. Front Engine Mount Mounting Bolt - Tighten





1. Tighten the front engine mount mounting bolt.

38. Lower The Vehicle On The Lift

1. Lower the vehicle on the lift.

39. Upper Transmission Mounting Bolt





1. Install the upper transmission assembly mounting bolts.

40. Engine Support Hanger





1. Remove the engine support hanger.

2. Remove the universal lifting eyelet and the spacer (A).

41. Cowl Top Cover - Both Sides





NOTE: Repeat this procedure on the opposite side.

1. Install the cowl top cover (A).

2. Install the hood rear seal (B).

3. Install the clip (C).

42. Automatic Transmission Peripheral Assembly, Upper Side





1. Install the ATF warmer bracket.









2. Connect the ATF warmer hose (A) until the hose end contacts the bulge. Align the green paint mark (B) pointing up.

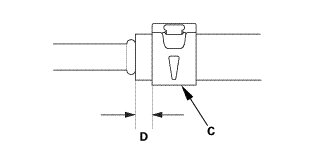
3. Secure the hose with the clip (C) at 6-8 mm (0.24-0.31 in) (D) from the hose end. Keep the tabs of the clip clear of other parts.





4. Install the harness clamps (A).

5. Connect the connectors (B).





6. Insert the dipstick (A) into the guide tube aligning the notch (B) with the guide tab (C).

43. ATF - Replacement





1. Remove the ATF dipstick (yellow loop) (A), and wipe it with a clean cloth.





2. Refill the transmission with the recommended fluid into the dipstick guide tube opening (A) to bring the fluid level between the upper mark and the lower mark of the dipstick. Always use ATF DW-1 (genuine Honda automatic transmission fluid). Using a non-Honda ATF can affect shift quality.












3. Insert the dipstick (A) into the guide tube aligning the notch (B) with the guide tab (C).





4. Remove the dipstick.

5. Make sure the fluid level is between the upper mark (A) and the lower mark (B) on the dipstick.

6. Insert the dipstick into the guide tube aligning the notch with the guide tab.

44. Steering Column Lower Slide Shaft - Release





1. Cut the wire (A).

45. Steering Wheel Release





1. Remove the steering wheel holder tool (A).

46. Steering Joint - Reconnection





1. Place the rack in the straight ahead driving position.

2. Slip the lower end of the steering joint (A) onto the pinion shaft (B).

NOTE: Position the steering column by aligning the gap (C) within the angle.





3. Align the bolt hole (A) on the steering joint with the groove (B) around the pinion shaft.

4. Loosely install the steering joint bolt (C).

5. Be sure that the joint bolt is securely in the groove in the pinion shaft.

6. Pull on the steering joint to make sure that the steering joint is fully seated.

7. Tighten the steering joint bolt to the specified torque.

47. Steering Joint Cover





1. Install the steering joint cover (A).

48. Battery Base Assembly





1. Remove the battery base and install the clamps.

49. Intake Air Pipe





1. Install the intake air pipe.

50. Intake Air Duct





1. Install the intake air duct.

51. Air Cleaner Assembly





1. Install the air cleaner (A).

2. Connect the intake air pipe (B) and the intake air duct (C).

3. Install the harness clamp (D).

4. Connect the MAF sensor/IAT sensor connector (E).

52. Battery





1. Install the battery (A) and the battery setting plate (B).

NOTE: Do not deform the battery setting plate by over-tightening the nuts.

53. Battery Terminal - Reconnection





NOTE: If the battery performance is abnormal, test the battery.

1. Clean the battery terminals.

2. Connect the positive cable (A) to the battery.

NOTE: Always connect the positive side first.

3. Connect the negative cable (B) to the battery.

4. Apply multipurpose grease to the terminals to prevent corrosion.

54. Wide - Hood Open Position





1. Remove the hood prop bar.

2. Install the front fender trim (A), then install the clips (B, C). Make sure the clips (D) snap into place securely.

55. Front Splash Shield





1. Install the front splash shield (A), then install the bolts (B) and the clips (C, D). Make sure the clips snap into place securely.

56. Front Wheel - Both Side





1. Install both front wheels.

NOTE: Before installing the wheel, clean the mating surfaces between the brake disc and the inside of the wheel.

57. A/T After Install Check

1. Set the parking brake. Start the engine, and shift the transmission through all positions three times.

2. Check the shift lever operation, the A/T gear position indicator operation, and the shift cable adjustment.

58. Pre-Alignment Checks

For proper inspection and adjustment of the wheel alignment, do these checks:

1. Release the parking brake to avoid an incorrect measurement.

2. Make sure the suspension is not modified.

3. Make sure the fuel tank is full, and that the spare tire, the jack, and the tools are in place on the vehicle.

4. Check the tire size and tire pressure according to tire information.

5. Set the steering column to the middle tilt position and telescopic position.

59. Caster - Inspection

Use commercially available computerized four wheel alignment equipment to measure wheel alignment (caster, camber, toe, and turning angle). Follow the equipment manufacturer's instructions.

1. Check the caster angle.















* If the measurement is within specifications, measure the front camber angle.
* If the measurement is not within specifications, check for bent or damaged suspension components.

60. Camber - Inspection

Use commercially available computerized four wheel alignment equipment to measure wheel alignment (caster, camber, toe, and turning angle). Follow the equipment manufacturer's instructions.

1. Check the camber angle.















* If the measurement is within specification, measure the toe-in.
* If the measurement for the front camber is not within the specification, go to front camber adjustment.
* If the measurement for the rear camber is not within the specification, check for bent or damaged suspension components.

61. Front Toe - Inspection

Use commercially available computerized four wheel alignment equipment to measure wheel alignment (caster, camber, toe, and turning angle). Follow the equipment manufacturer's instructions.

1. Set the steering column to the middle tilt position and telescopic positions.

2. Center the steering wheel spokes, and install a steering wheel holder tool.

3. Check the toe with the wheels pointed straight ahead.

Front toe-in: 0±2 mm (0±0.08 in)
* If adjustment is required, go to the front toe adjustment.
* If no adjustment is required, remove the alignment equipment.

62. Turning Angle - Inspection





Use commercially available computerized four wheel alignment equipment to measure wheel alignment (caster, camber, toe, and turning angle). Follow the equipment manufacturer's instructions.

1. Turn the wheel right and left while applying the brake, and measure the turning angle of both wheels.














2. If the measurement is not within the specifications, even up both sides of the tie-rod threaded section length while adjusting the front toe.

3. If it is correct, but the turning angle is not within the specifications, check for bent or damaged suspension components.

63. Warm Up The Engine

1. Start the engine. Hold the engine speed at 3,000 rpm without load in P or N until the radiator fan comes on.

2. Park the vehicle on level ground.

3. Turn the ignition switch to LOCK (0).

64. ATF Level Check





NOTE:
* Keep all foreign particles out of the transmission.
* Check the fluid level within 60-90 seconds after turning the engine off.
* Higher fluid level may be indicated if the radiator fan comes on twice or more.

1. Remove the ATF dipstick (yellow loop) (A), and wipe it with a clean cloth.

2. Insert the dipstick into the guide tube aligning the notch (B) with the guide tab (C).





3. Remove the dipstick, and check the ATF level. It should be between the upper mark (A) and the lower mark (B).

4. If the ATF level is below the lower mark, check for fluid leaks at the transmission, the hoses, and the line joints. If a problem is found, fix it before filling the transmission with ATF.

NOTE: If the vehicle is driven when the ATF level is below the lower mark, one or more of these symptoms may occur:
* Transmission damage.
* Vehicle does not move in any gear.
* Vehicle accelerates poorly, and engine revs up abnormally high when starting off in forward and reverse positions.
* Engine vibrates at idle.

5. If the ATF level is above the upper mark, drain the ATF to proper level.

NOTE: If the vehicle is driven when the ATF level is above the upper mark, the vehicle may creep forward while in N, or have shifting problems.





6. If necessary, fill the transmission with ATF through the dipstick guide tube opening (A) to bring the fluid level between the upper mark and the lower mark of the dipstick. Do not fill the fluid above the upper mark. Always use ATF DW-1 (genuine Honda automatic transmission fluid). Using a non-Honda ATF can affect shift quality.

7. Insert the dipstick into the guide tube aligning the notch with the guide tab.

65. HDS DLC - Connection





1. Connect the HDS to the data link connector (DLC) (A) located under the driver's side of the dashboard.

2. Turn the ignition switch to ON (II).

3. Make sure the HDS communicates with the vehicle. If it does not communicate, go to the DLC circuit troubleshooting.

66. Automatic Transmission Road - Test

1. Apply the parking brake, and block all four wheels.

2. Start the engine.

3. Shift to D while pressing the brake pedal. Press the accelerator pedal, and release it suddenly. The engine should not stall.

4. Repeat step 3 in all shift lever positions.

5. Prepare the HDS and the MVCI to take a SNAPSHOT (refer to the user's guide for more details if needed):

* Set the Trigger Type to Parameter.
* Adjust the Parameter setting to APP Sensor A (V) above 1.2 V.
* Set the recording time to 60 seconds.
* Set the trigger point to (Negative) -30 seconds.

6. Find a suitable level road.

7. When you are ready to do the test, press OK on the HDS.

8. Accelerate quickly until APP Sensor A reads 1.3 V. Maintain a steady throttle until the transmission shifts to 5th gear, then slow the vehicle and come to a stop.

9. Save the snapshot if the entire event was recorded or increase the recording time setting as necessary, and repeat step 8.

10. Adjust the APP Sensor A parameter setting to 2.4 V.

11. Test-drive the vehicle again. Accelerate quickly until APP Sensor A reads 2.5 V. Maintain a steady throttle until the transmission shifts to 5th gear (or a reasonable speed), then slow the vehicle and come to a stop.

12. Save the snapshot if the entire event was recorded or increase the recording time setting as necessary, and repeat step 11.

13. Adjust the APP Sensor A parameter setting to 4.5 V.

14. Accelerate quickly until the accelerator pedal is to the floor. Maintain a steady pedal until the transmission shifts to 4th gear, then slow to a stop, and save the snapshot.

15. Review each snapshot individually, and compare the Shift Control, APP Sensor A (V), and the Vehicle Speed to the following table.




























16. Drive the vehicle in 4th or 5th gear, then shift to 2nd gear. The vehicle should immediately begin to slow down from engine braking.

17. Shift to 1, accelerate from a stop at full throttle, and check for abnormal noise and clutch slippage. Upshifts should not occur in this position.

18. Shift to 2, accelerate from a stop at full throttle, and check for abnormal noise and clutch slippage. Upshifts and downshifts should not occur in this position.

19. Shift to R, accelerate from a stop at to full throttle momentarily, and check for abnormal noise and clutch slippage.

20. Park the vehicle on an upward slope (about 16 degrees), apply the parking brake, and shift into P. Release the brake; the vehicle should not move.

NOTE: Always use the parking brake to hold the vehicle when stopped on an incline in gear. Depending on the grade of the incline, the vehicle could roll if the brake is released.

67. VSA Sensor Neutral Position - Memorization

1. Park the vehicle on a flat and level surface, with the steering wheel in the straight ahead position.

2. Select VSA ADJUSTMENT, then select ALL SENSORS with the HDS, and follow the screen prompts.

NOTE: See the HDS Help menu for specific instructions.

68. Steering Angle Sensor Neutral Position - Clear

1. Select EPS ADJUSTMENT, then select EPS STEERING ANGLE SENSOR VALUE CLEAR and follow the screen prompts on the HDS.

NOTE: See the HDS Help menu for specific instructions.

69. Maintenance Minder Reset

1. Reset the Maintenance Minder. Description and Operation