Operation CHARM: Car repair manuals for everyone.
Manuals through 2025 now available!

Our trusted friends have launched a new website named LEMON, which has newer manuals. It also contains all the CHARM manuals.

LEMON is the spiritual successor to CHARM, I recommend you try it!

Link: lemon-manuals.la or lemon-manuals.org.ua

(Some people have issue connecting. LEMON is investigating. For now, use Firefox or change your DNS server)

Or, hide this message: temporarily or permanently

Wiper Blade: Service and Repair




Wiper Blade Replacement

Windshield

1. Lift the wiper arms from the windshield.

NOTE: Lift the driver's side first.

2. Gently pry up the lock (A) of the wiper blade assembly (B), and remove the wiper blade assembly from the wiper arm (C).






3. Slide the blade (A) out from the wiper blade holder (B).






4. Align the groove (A) of each rail (B) with the tabs in a new blade (C), then install the blade and the rails into the blade holder in the reverse order of removal.





5. Install the wiper blade assembly onto the wiper arms in the reverse order of removal.

6. Check the wiper operation. If the blades slip, turn the wiper switch OFF, and reinstall the blades securely.

Rear Window

1. Lift the wiper arm off the rear window.

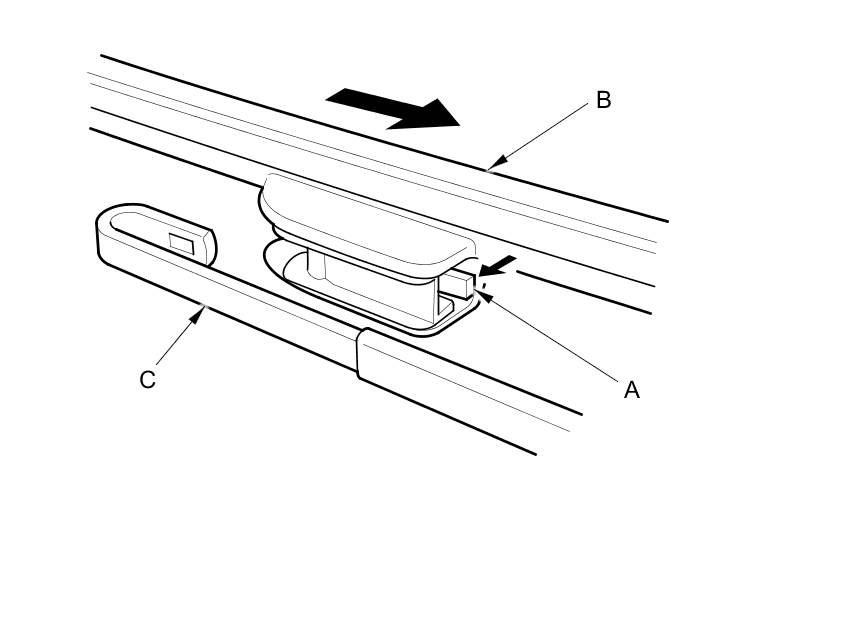
2. Push the lock (A) of the wiper blade assembly (B), and remove the wiper blade assembly from the wiper arm (C).






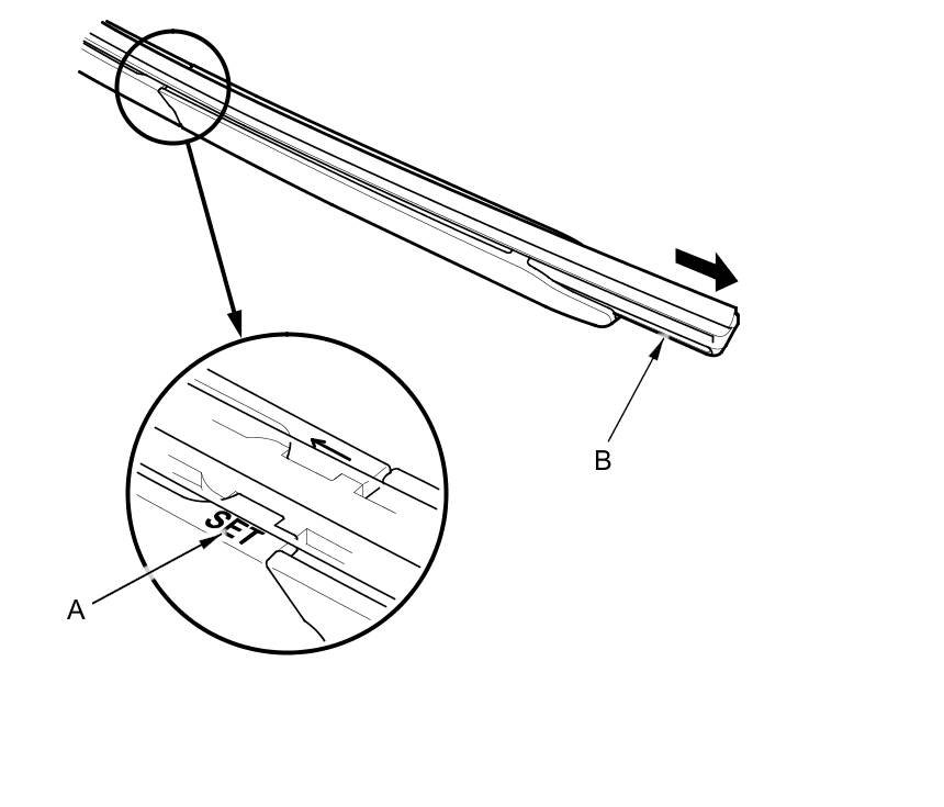
3. Locate the word SET (A) and the arrow on the wiper blade holder, then pull the blade (B) in the opposite direction of the arrow to remove it.





4. Install a new blade in the reverse order of removal.

5. Install the wiper blade assembly onto the wiper arm in the reverse order of removal.

6. the wiper operation. If the blade slips, turn the wiper switch OFF, and reinstall the blade securely.