Operation CHARM: Car repair manuals for everyone.
Manuals through 2025 now available!

Our trusted friends have launched a new website named LEMON, which has newer manuals. It also contains all the CHARM manuals.

LEMON is the spiritual successor to CHARM, I recommend you try it!

Link: lemon-manuals.la or lemon-manuals.org.ua

(Some people have issue connecting. LEMON is investigating. For now, use Firefox or change your DNS server)

Or, hide this message: temporarily or permanently

Power Distribution Relay: Testing and Inspection




Service Information

Power Relay Test





Test

1. Power Relay - Test

Use this chart to identify the types of the relay, then do the test listed for it.






*: Carefully remove the relay using the relay puller. Do not use pliers. Pliers will damage the relay.














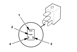
Normally-Open Four-Terminal Type

Check for continuity between the terminals:
* There should be continuity between terminals No. 1 and No. 2 when battery power is connected to terminal No. 3, and battery ground is connected to terminal No. 4.
* There should be no continuity between terminals No. 1 and No. 2 when power is disconnected.









Five-Terminal Type

Check for continuity between the terminals:
* There should be continuity between terminals No. 1 and No. 2 when battery power is connected to terminal No. 3, and battery ground is connected to terminal No. 5.
* There should be continuity between terminals No. 1 and No. 4 when power is disconnected.