Operation CHARM: Car repair manuals for everyone.
Manuals through 2025 now available!

Our trusted friends have launched a new website named LEMON, which has newer manuals. It also contains all the CHARM manuals.

LEMON is the spiritual successor to CHARM, I recommend you try it!

Link: lemon-manuals.la or lemon-manuals.org.ua

(Some people have issue connecting. LEMON is investigating. For now, use Firefox or change your DNS server)

Or, hide this message: temporarily or permanently

Receiver Dryer: Service and Repair






Receiver/Dryer Desiccant Removal and Installation

















*These tools are available through the Honda Tool and Equipment Program; call 888-424-6857

Removal

CAUTION:
* Air conditioning refrigerant or lubricant vapor can irritate your eyes, nose, or throat.
* Be careful when connecting service equipment.
* Do not breathe refrigerant or vapor.

NOTE:
* If accidental system discharge occurs, ventilate the work area before resuming service.
* Additional health and safety information may be obtained from the refrigerant and lubricant manufacturers.
* Install the receiver/dryer as quickly as possible to prevent the system from absorbing moisture from the air.

1. Glove Box - Move





1. Lower the glove box (A).

2. R-134a Refrigerant Recovery/Recycling/Charging Station - Connection





1. Connect an R-134a refrigerant recovery/recycling/charging station (A) to the high-pressure service port (B) and the low-pressure service port (C), as shown, following the equipment manufacturer's instructions.

3. A/C Refrigerant - Recovery

1. Recover the refrigerant from the A/C system.

2. Measure the amount of refrigerant oil removed from the A/C system after the recovery process is completed. Be sure to put the same amount of new refrigerant oil back into the A/C system before charging.

4. Front Bumper





1. Remove the screws (A), the bolts (B), and the clips (C, D) securing the front bumper (E).





2. Pull out the front bumper (A) from the side spacer (B). Repeat this step on the opposite side.





3. With the help of an assistant, pull out both sides of the front bumper (A) from the upper beam (B).





4. With the help of an assistant, remove the front bumper (A).

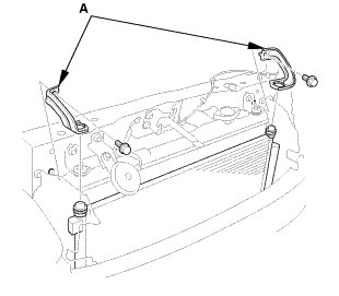
5. A/C Line - Disconnection (A/C Condenser Side)





1. Disconnect the discharge hose (A).





2. Disconnect the receiver line (A).

6. Both A/C Condenser Upper Mount Bracket





1. Remove the A/C condenser upper mount brackets (A).

7. A/C Condenser Assembly





1. Remove the A/C condenser (A).

NOTE: Be careful not to damage the radiator and A/C condenser fins when removing the A/C condenser.

8. Receiver/Dryer Desiccant





2-door

1. Remove the cap (A) and the O-ring (B).

2. Remove the desiccant (C).





4-door

1. Remove the receiver/dryer (A) the O-rings (B).

Installation

CAUTION:
* Air conditioning refrigerant or lubricant vapor can irritate your eyes, nose, or throat.
* Be careful when connecting service equipment.
* Do not breathe refrigerant or vapor.
* Do not operate the leak detector near flammable vapors. Its sensor operates at high temperatures, and could ignite the vapors, resulting in personal injury and/or damage to the equipment.

NOTE:
* If an accidental system discharge occurs, ventilate the work area before resuming service.
* Additional health and safety information may be obtained from the refrigerant and lubricant manufacturers.
* Check the system for leaks using an R-134a refrigerant leak detector with an accuracy of 14 g (0.5 oz) per year or better.
* Replace the O-rings with new ones, and apply a thin coat of refrigerant oil (SP-10) before installing them. Be sure to use the correct O-rings for HFC-134a (R-134a) to avoid leakage.

1. A/C Refrigerant Oil - Replacement

Recommended PAG oil: SP-10

P/N 38897-P13-A01AH: 120 mL (4 floz)

It is important to have the correct amount of refrigerant oil in the A/C system to ensure proper lubrication of the A/C compressor. Too little oil damages the A/C compressor; too much oil reduces the cooling capacity of the system, and can produce high vent temperatures.
* To avoid contamination, do not return the oil to the container once dispensed, and never mix it with other refrigerant oils.
* Immediately after using the oil, reinstall the cap on the container, and seal it to avoid moisture absorption.
* Do not spill the refrigerant oil on the vehicle; it may damage the paint; if it gets on the paint, wash it off immediately.

Add the recommended refrigerant oil in the amount listed if you replace any of the following parts.






2. Receiver/Dryer Desiccant





2-door

1. Install the desiccant (A).

2. Install the cap (B) with a new O-ring (C) that is lubricated with clean refrigerant oil.





4-door

1. Install the receiver/dryer (A) with new O-rings (B) that are lubricated with clean refrigerant oil.

3. A/C Condenser Assembly





1. Install the A/C condenser (A).

NOTE: Be careful not to damage the radiator and A/C condenser fins when installing the A/C condenser.

4. Both A/C Condenser Upper Mount Bracket





1. Install the A/C condenser upper mount brackets (A).

5. A/C Line - Reconnection (A/C Condenser Side)

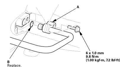
1. Connect the receiver line (A) with a new O-ring (B) that is lubricated with clean refrigerant oil.









2. Connect the discharge hose (A) with a new O-ring (B) that is lubricated with clean refrigerant oil.

6. A/C System Evacuation

1. Evacuate the system. The vacuum pump should run for a minimum of 30 minutes to eliminate all moisture from the system. When the suction gauge reads -93.3 kPa (-700 mmHg, -27.55 inHg) for at least 30 minutes, close all valves, and turn off the vacuum pump.

2. If the suction gauge dose not reach approximately -93.3 kPa (-700 mmHg, -27.55 inHg) in 15 minutes, there is probably a large leak in the system. Partially charge the system, and check for leaks.

7. A/C Refrigerant - Charging

1. Charge the system with the specified amount of R-134a refrigerant. Do not overcharge the system; the A/C compressor will be damaged.

Select the appropriate units of measure for your refrigerant charging station.








8. A/C Refrigerant - Leak Check

Leak Detector Usage Tips (Refer to the Operator's Manual for complete operating instructions)

* Position the vehicle in a wind-free work area. This will aid in detecting small leaks.
* When using the leak detector for the first time, allow it to warm up for 2 minutes with the probe in a clean atmosphere. This lets the temperature sensor in the detector stabilize.
* The calibration check should be done in the "Search 2" mode. Once that is done, the other check modes do not need calibrating.
* When leak checking through the HVAC module drain hose, avoid drawing water into the probe. Water can damage the internal pump and sensor.
* Avoid creasing the flexible probe extension. Creases can restrict air flow and give false readings.
* Because the detector recalibrates itself for ambient gases, it may be necessary to move the detector away from the leak to clear the sensor. Once the sensor has cleared, recheck the suspected leak.
* When removing the clear probe tip, be careful not to lose the flow ball.
* R-134a is heavier than air; always check below and to the sides of all potential leak sources.
* Halogen leak detectors are sensitive to chemicals: windshield washing solutions, solvents/cleaners, and some vehicle adhesives. Keep these chemicals out of the area when doing leak detection.

Fluorescent Dye Usage Tips

* Use only Tracer-Stick single dose fluorescent dye capsules from Tracerline(R). Other dyes contain solvents that may contaminate the refrigerant oil, leading to component failure.
* Adding excessive amounts of dye can damage the A/C compressor.
* PAG oil is water soluble, so condensation on the evaporator core or the refrigerant lines may wash the PAG oil and fluorescent dye away from the actual leak. Condensation may also carry dye through the HVAC module drain.
* After checking and repairing leaks, thoroughly clean any residual dye from the areas where leaks were found. Use GLO-AWAY dye cleaner, from Tracerline(R), and hot water to remove the dye (follow the instructions on the bottle). Residual dye stains can cause misdiagnosis of any future A/C system leaks.
* If any refrigerant dye contacts an exterior paint surface, remove it by doing this:

- Carefully wash the affected surfaces to remove any dirt, and to prevent paint scratching.
- Mix water and isopropyl alcohol in a 50/50 mixture. Soak a soft 100 % cotton towel with the water/alcohol mixture, and place the cloth on the affected areas to remove the dye.
- After removing the dye with the water/alcohol-soaked cloth, carefully wash the affected areas, and check that there is no remaining dye.

1. With the engine OFF, use a halogen leak detector first to detect the leak source. Follow a continuous path in order to ensure that you will not miss any possible leaks. Test the following areas of the system for leaks:







2. Close the quick coupler valves, then disconnect the quick couplers from the vehicle service ports.

3. Attach the universal connect set, from the Optimax Jr. Leak Detection Kit, to the service valve fitting. Close the control valve (the black knob on the connect set).

4. Attach the charging station low pressure hose quick coupler to the service valve fitting, and open the quick coupler valve. Evacuate the connect set using the charging station vacuum pump, then close the quick coupler valve.

5. Detach the universal connect set, and install a Tracer-Stick(R) dye capsule between the connect set and the service valve fitting (see the manufacturer's instructions for more detail).

6. Attach the quick coupler on the universal connect set to the low pressure service port on the vehicle. Open the charging station low pressure hose quick coupler valve, but do not open the control valve.

7. Start the engine, and set the A/C system to maximum cooling. Open the control valve to let refrigerant and the dye enter the A/C system through the low pressure service port. Close the control valve when the Tracer-Stick(R) dye capsule is empty.

8. Run the engine and A/C system for 15 minutes to thoroughly circulate the dye. Then shut the engine off, and inspect the following areas of the system for leaks:

NOTE:
* Check for leaks in a dark work area, and use the UV light and the special glasses from the leak check kit. Other UV lights may not work well with the Tracer-Stick(R) dye.
* Small leaks may take up to 1 week of vehicle operation (with normal A/C use) to become visible.








9. A/C System - Test





1. Insert a thermometer (A) in the center vent.

2. Place a hygro-thermometer (B) near the blower unit's recirculation inlet duct.

3. Test conditions:

* Move the vehicle out of direct sunlight and let it cool down to the surrounding (ambient) temperature. If necessary, wash the vehicle to cool it down more quickly.
* The blower intake temperature must be at least 68°F (20°C).
* Open the hood.
* Open the front doors.
* Start the engine.
* Set the temperature control dial or temperature control button to Max Cool, the mode control button to Vent, and the recirculation control button to Recirculate.
* Turn the A/C button on and the fan control dial or fan control button to Max.
* Run the engine at 1,500 rpm.
* No driver or passengers in vehicle.

4. Inspect the A/C components for the following conditions:

* A/C compressor clutch not engaged.
* Abnormal frost areas.
* Unusual noises.

If you observe any of these conditions, refer to the Symptom Troubleshooting Index.

5. After running the air conditioning for 10 minutes under the above test conditions, read the delivery temperature from the thermometer in the center vent, the intake temperature near the blower unit, and the discharge (high) and suction (low) pressures on the A/C gauges.

6. To complete the vent (delivery)/intake temperature chart:

* Mark the vent (delivery) temperature on the vertical line.
* Mark the intake temperature on the bottom line.
* Draw a vertical line from the intake temperature mark.
* Draw a horizontal line from the vent (delivery) temperature mark until it intersects the vertical line.

NOTE: The vent (delivery) temperature and intake temperature should intersect in the shaded area. Any measurements outside the line may indicate the need for further inspection.





7. To complete the high side (discharge) pressure/intake temperature chart:

* Mark the high side (discharge) pressure on the vertical line.
* Mark the intake temperature on the bottom line.
* Draw a vertical line from the intake temperature mark.
* Draw a horizontal line from the high side (discharge) pressure mark until it intersects the vertical line.

NOTE: The high side (discharge) pressure and intake temperature should intersect in the shaded area. Any measurements outside the line may indicate the need for further inspection.





8. To complete the low side (suction) pressure/intake temperature chart:

* Mark the low side (suction) pressure along the vertical line.
* Mark the intake temperature along the bottom line.
* Draw a vertical line from the intake temperature mark.
* Draw a horizontal line from the low side (suction) pressure mark until it intersects the vertical line.

NOTE: The low side (suction) pressure and intake temperature should intersect in the shaded area. Any measurements outside the line may indicate the need for further inspection.





10. Glove Box - Move





1. Install the glove box (A).

11. Front Bumper





1. With the help of an assistant, install the front bumper (A).





2. With the help of an assistant, install both sides of the front bumper (A) to the upper beam (B).





3. Install the front bumper (A) to the side spacer (B). Repeat this step on the opposite side.





4. Install the screws (A), the bolts (B), and the clips (C, D) securing the front bumper (E).