Operation CHARM: Car repair manuals for everyone.
Manuals through 2025 now available!

Our trusted friends have launched a new website named LEMON, which has newer manuals. It also contains all the CHARM manuals.

LEMON is the spiritual successor to CHARM, I recommend you try it!

Link: lemon-manuals.la or lemon-manuals.org.ua

(Some people have issue connecting. LEMON is investigating. For now, use Firefox or change your DNS server)

Or, hide this message: temporarily or permanently

Part One




Installation

1. Engine Installation

1. Install the lower torque rod bracket, and tighten the new bolts to the specified torque.





2. Chain Hoist





1. Attach the universal lifting eyelet to the threaded hole (A) on the auto-tensioner.





2. Lower the vehicle, attach the chain hoist with the engine hanger stay to the universal lifting eyelet (A) and the transmission hanger (B).

3. Lift the engine/transmission in the vehicle.

NOTE: Reinstall the mounting bolts/support nuts in the sequence given in the following steps. Failure to follow this sequence may cause excessive noise and vibration, and reduce engine mount life.

3. Engine Support Hanger





1. Attach the universal lifting eyelet to the cylinder head.





2. Install the engine support hanger as shown.

3. Attach the hook to the slotted hole in the universal lifting eyelet.

4. Tighten the wing nut (A) by hand, and lift and support the engine/transmission.

NOTE: Be careful when working around the windshield.

4. Side Engine Mount - Reconnection





1. Loosely install the new side engine mount mounting bolt and nut.

5. Transmission Mount - Reconnection





1. Loosely install the new transmission bracket mount mounting bolt and nuts.

6. Chain Hoist





1. Remove the chain hoist.

2. Remove the universal lifting eyelet.

7. Raise The Vehicle On The Lift

1. Raise the vehicle on the lift.

8. Subframe Support





1. Using the subframe adapter, raise the front subframe up to the body.

9. Front Subframe Assembly

1. Loosely install the new front subframe mounting bolts (A).






2. Insert the subframe alignment pin (B) through the positioning hole (C) on the right front subframe, and into the positioning hole (D) on the body, then loosely tighten the subframe right front mounting bolt.

3. Insert the subframe alignment pin through the positioning slot on the left front subframe, and into the positioning hole on the body, then loosely tighten the subframe left front mounting bolt.

4. Tighten the subframe mounting bolts to the specified torque values starting with the right front subframe mounting bolt. Use the subframe alignment pin when tightening the front side subframe mounting bolts.

5. Check all of the subframe mounting bolts, and retighten if necessary.

NOTE: Tighten the bolts in the sequence shown.

6. Remove the transmission jack and the subframe adapter.





7. Connect the EPS connectors.





8. Tighten the new mid-stiffener mounting bolt on both sides.

10. Lower Torque Rod - Reconnection





1. Loosely install the new lower torque rod mounting bolts.

11. Lower The Vehicle On The Lift

1. Lower the vehicle on the lift.

12. Engine Support Hanger





1. Remove the engine support hanger.

2. Remove the universal lifting eyelet.

13. Side Engine Mount - Tighten





1. Tighten the side engine mount bracket mounting bolt and nut.

14. Transmission Mount - Tighten





1. Tighten the transmission mount bracket mounting bolt and nuts.

15. Raise The Vehicle On The Lift

1. Raise the vehicle on the lift.

16. Lower Torque Rod Mounting Bolt - Tighten





1. Loosen the lower torque mount mounting bolt.

2. Tighten the lower torque rod mount mounting bolts in the numbered sequence shown.

17. Lower The Vehicle On The Lift

1. Lower the vehicle on the lift.

18. Upper Torque Rod





1. Install the upper torque rod using new bolts.

2. Tighten the upper torque rod mounting bolts in the numbered sequence shown.

19. Raise The Vehicle On The Lift

1. Raise the vehicle on the lift.

20. Compressor Assembly - Move





1. Install the A/C compressor.

21. Front Driveshaft Both Inboard Side - Reconnection









1. Left driveshaft: Install a new set ring (A) into the set ring groove (B) of the driveshaft.

2. Left driveshaft: Clean the areas where the driveshaft contacts the differential thoroughly with solvent.

NOTE: Do not wash the rubber parts with solvent.

3. Left driveshaft: Dry them with compressed air.

4. Left driveshaft: Insert the inboard end (C) of the driveshaft into the differential (D) until the set ring (E) locks in the groove (F).

NOTE: Insert the driveshaft horizontally to prevent damaging the oil seal.













5. Right driveshaft: Install a new set ring (A) into the set ring groove (B) of the intermediate shaft.

6. Right driveshaft: Apply 0.5-1.0 g (0.018-0.035 oz) of molybdenum grease to the whole splined surface (C) of the right driveshaft.

7. Right driveshaft: After applying grease, remove the grease from the splined grooves at intervals of 2-3 splines and from the set ring groove (D) so that air can bleed from the intermediate shaft.

8. Right driveshaft: Clean the areas where the driveshaft contacts the differential thoroughly with solvent.

NOTE: Do not wash the rubber parts with solvent.

9. Right driveshaft: Dry them with compressed air.

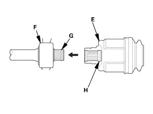
10. Right driveshaft: Insert the inboard end (E) of the driveshaft into the intermediate shaft (F) until the set ring (G) locks in the groove (H).

22. Front Driveshaft Both Outboard Side - Reconnection









1. Apply about 5 g (0.18 oz) of molybdenum grease to the contact area (A) of the outboard joint and the front wheel bearing.

NOTE: The grease helps to prevent noise and vibration.

2. Install the outboard joint (B) into the front hub (C) on the knuckle.

23. Front Driveshaft Spindle Nut Both





1. Apply a small amount of engine oil to the seating surface of a new spindle nut (A).

2. Install the spindle nut.

3. After tightening, use a drift to stake the spindle nut shoulder (B) against the driveshaft.

24. Lower Arm Joint - Reconnection, Both Knuckle Side





1. Connect the lower arm to the knuckle on both sides using new flange bolt and new self-locking nuts.

2. After lightly tightening all three fasteners, tighten them to the specified torque in the following order; the nut on the front (B), the nut on the rear (C), then the bolt (D).

25. Tie-Rod End Ball Joint - Connection, Both Side





1. Wipe off any grease contamination from the ball joint tapered section and threads.

2. Connect the tie-rod ball joint (A) to the knuckle.

3. Install the nut (B).

4. Install a new cotter pin (C).

NOTE: Bend the cotter pin as shown.

26. Front Stabilizer Ball Joint, Both Damper Side - Reconnection





1. Connect the stabilizer link (A) on both sides.

2. Install a new flange nut (B) on both sides while holding the joint pin (C) with a hex wrench (D).

27. Under Floor TWC Assembly





1. Install the under-floor TWC.

28. Splash Shield

1. Install the splash shield (A).





29. Lower The Vehicle On The Lift

1. Lower the vehicle on the lift.

30. Steering Column Lower Slide Shaft - Release





1. Cut the wire (A).