Operation CHARM: Car repair manuals for everyone.
Manuals through 2025 now available!

Our trusted friends have launched a new website named LEMON, which has newer manuals. It also contains all the CHARM manuals.

LEMON is the spiritual successor to CHARM, I recommend you try it!

Link: lemon-manuals.la or lemon-manuals.org.ua

(Some people have issue connecting. LEMON is investigating. For now, use Firefox or change your DNS server)

Or, hide this message: temporarily or permanently

Front Fender Fairing Replacement




Front Fender Fairing Replacement

NOTE:

- Put on gloves to protect your hands.
- Take care not to scratch the body.

1. Remove the front inner fender as needed Front Inner Fender Replacement.

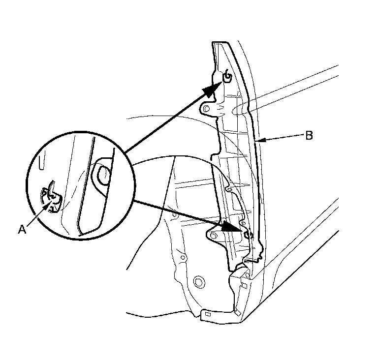
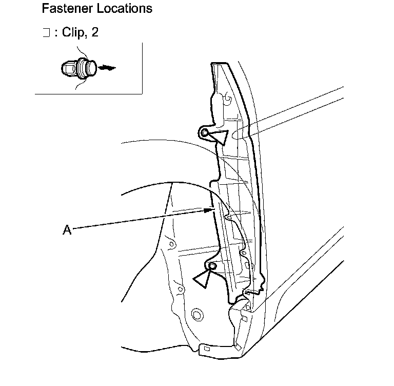
2. From the wheel arch, release the clips securing the front fender fairing (A).






3. Release the hooks (A) securing the front fender fairing (B).






4. Remove the front fender fairing (A).





5. Install the fender fairing in the reverse order of removal, and note these items:

- If the clips are damaged or stress-whitened, replace them with new ones.
- Push the clips and the hooks into place securely.