Operation CHARM: Car repair manuals for everyone.
Manuals through 2025 now available!

Our trusted friends have launched a new website named LEMON, which has newer manuals. It also contains all the CHARM manuals.

LEMON is the spiritual successor to CHARM, I recommend you try it!

Link: lemon-manuals.la or lemon-manuals.org.ua

(Some people have issue connecting. LEMON is investigating. For now, use Firefox or change your DNS server)

Or, hide this message: temporarily or permanently

Steering Angle Sensor: Service and Repair




Steering Angle Sensor Replacement

SRS components are located in this area. Review the SRS component locations Locations and the precautions and procedures Service Precautions before doing repairs or service.

NOTE: Do not damage or drop the combination switch assembly/cable reel as the steering angle sensor is sensitive to shock and vibration.

1. With the wheels in the straight ahead position and the steering wheel centered, remove the steering wheel Steering Wheel Removal.

2. Remove the steering column covers Service and Repair.

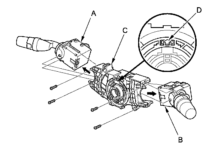
3. Disconnect the combination light switch 12P connector (A) and the steering angle sensor 5P connector (B) from the combination switch assembly/cable reel (C).






4. Disconnect the cable reel connector B (4P) (A) from the cable reel connector B (4P) (B), then disconnect the cable reel connector A (20P) (C) and the wiper/washer switch 8P connector (D).






5. Disconnect the wire harness (A) from the harness holders (B).





6. Remove the combination switch assembly/cable reel mounting screws (C), then remove the combination switch assembly/cable reel from the steering column.

7. Remove the cable reel Service and Repair.

8. Remove the combination light switch (A) and the wiper/washer switch (B) from the combination switch body assembly (C).

NOTE: When installing the cable reel, set the turn signal canceling sleeve position so that the arrow points (D) straight up.





9. Install the combination switch body assembly in the reverse order of removal, and note these items:

- Do not remove the steering angle sensor from the combination switch body assembly.
- Tighten the combination switch assembly/cable reel mounting screw in the proper sequence.