Operation CHARM: Car repair manuals for everyone.
Manuals through 2025 now available!

Our trusted friends have launched a new website named LEMON, which has newer manuals. It also contains all the CHARM manuals.

LEMON is the spiritual successor to CHARM, I recommend you try it!

Link: lemon-manuals.la or lemon-manuals.org.ua

(Some people have issue connecting. LEMON is investigating. For now, use Firefox or change your DNS server)

Or, hide this message: temporarily or permanently

Heated Glass Element: Service and Repair




Rear Window Defogger Wire Repair

NOTE:

- Aftermarket widow tinting should be remove before testing.
- To make an effective repair, the broken wire section, must be no longer than 25 mm (1.0 in).

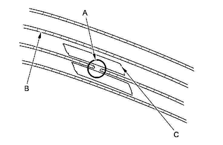
1. Lightly rub the area around the broken section (A) with fine steel wool, then clean it with isopropyl alcohol.





2. Carefully mask above and below the broken portion of the defogger wire (B) with cellophane tape (C).

3. Using a small brush, apply a heavy coat of silver conductive paint (commercially available) (A) extending about 3.0 mm (0.1 in) on both sides of the break. Allow 25 minutes to dry.





4. Do the function test to confirm that the wire is repaired.

5. Apply a second coat of paint in the same way. Let it dry 3 hours before removing the tape.

6. After making repairs, check the rear window defogger for correct operation.