Operation CHARM: Car repair manuals for everyone.
Manuals through 2025 now available!

Our trusted friends have launched a new website named LEMON, which has newer manuals. It also contains all the CHARM manuals.

LEMON is the spiritual successor to CHARM, I recommend you try it!

Link: lemon-manuals.la or lemon-manuals.org.ua

(Some people have issue connecting. LEMON is investigating. For now, use Firefox or change your DNS server)

Or, hide this message: temporarily or permanently

Wiper Arm: Service and Repair




Wiper Arm Replacement

NOTE:

- Before removal and installation, turn the wiper/washer switch ON to (LO) or (HI) position, then OFF to return the motor shaft to the park position.
- Do not use the wiper/washer switch (INT) position in this step.

Windshield

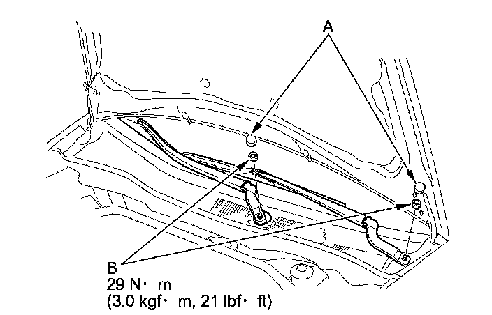
1. Open the hood. Remove the caps (A) and nuts (B).






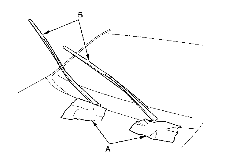
2. Close the hood, then spread protective cloths (A) on the hood to avoid scratching the hood edge





3. Raise the wiper arms (B) off the windshield, then remove the wiper arms.

4. Install the wiper arms in the reverse order of removal. After installation, adjust the wiper arms.

Rear Window

NOTE: Be careful not to damage the tailgate.

1. Raise the wiper arms (A) off the rear window, then remove the cover (B), the nut (C), and the wiper arm.






2. Install the wiper arm in the reverse order of removal. After installation, adjust the wiper arm.