Operation CHARM: Car repair manuals for everyone.
Manuals through 2025 now available!

Our trusted friends have launched a new website named LEMON, which has newer manuals. It also contains all the CHARM manuals.

LEMON is the spiritual successor to CHARM, I recommend you try it!

Link: lemon-manuals.la or lemon-manuals.org.ua

(Some people have issue connecting. LEMON is investigating. For now, use Firefox or change your DNS server)

Or, hide this message: temporarily or permanently

Cam Chain Removal




Cam Chain Removal

NOTE: Keep the cam chain away from magnetic fields.

1. Turn the crankshaft so its white mark (A) lines up with the pointer (B).






2. Remove the cylinder head cover Cylinder Head Cover Removal.

3. Check the No. 1 piston at top dead center (TDC). The "UP" mark (A) on the camshaft sprocket should be at the top, and the TDC grooves (B) on the camshaft sprocket should line up with the top edge of the head.






4. Remove the right front wheel.

5. Remove the splash shield Splash Shield Replacement.

6. Loosen the water pump pulley mounting bolts.

7. Remove the drive belt Service and Repair.

8. Remove the water pump pulley.

9. Remove the crankshaft pulley Service and Repair.

10. Support the engine with a jack and a wood block under the oil pan.

11. Remove the ground cable (A), then remove the side engine mount/bracket assembly (B).






12. Remove the cam chain case.






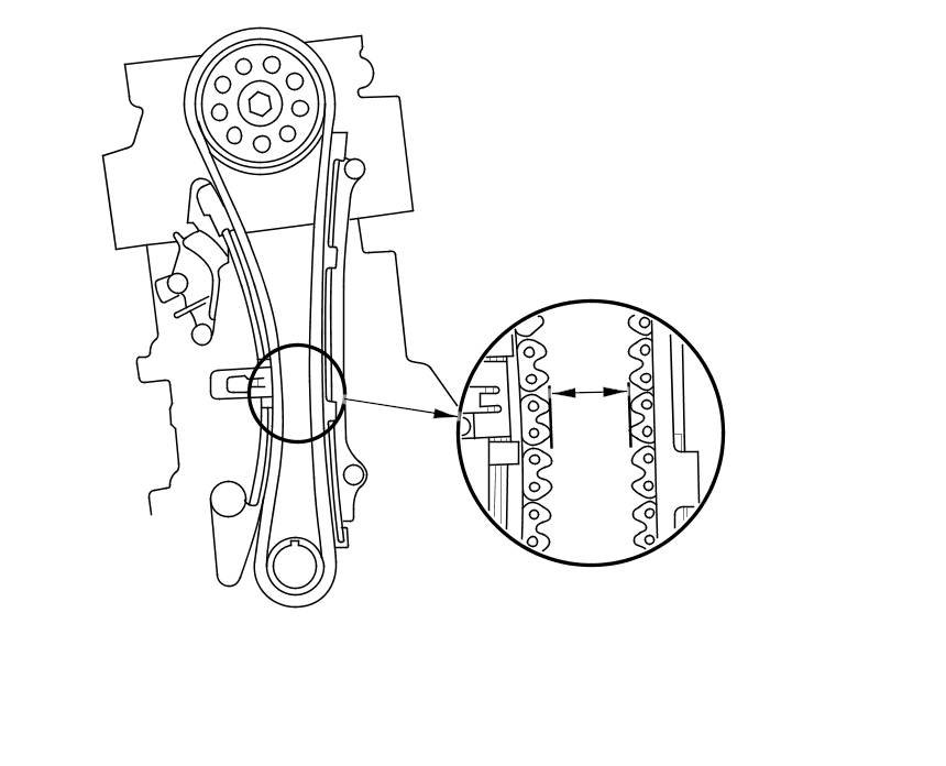
13. Measure the cam chain separation. If the distance is less than the service limit, replace the cam chain and the cam chain tensioner.










14. Apply new engine oil to the sliding surface of the cam chain tensioner slider (A).





15. Hold the cam chain tensioner slider with a screwdriver, then remove the upper bolt (B), and loosen the lower bolt (C).

16. Remove the cam chain tensioner slider.






17. Remove the cam chain tensioner (A) and the cam chain guide (B).





18. Remove the cam chain.