Operation CHARM: Car repair manuals for everyone.
Manuals through 2025 now available!

Our trusted friends have launched a new website named LEMON, which has newer manuals. It also contains all the CHARM manuals.

LEMON is the spiritual successor to CHARM, I recommend you try it!

Link: lemon-manuals.la or lemon-manuals.org.ua

(Some people have issue connecting. LEMON is investigating. For now, use Firefox or change your DNS server)

Or, hide this message: temporarily or permanently

Multiplex Integrated Control System Description




Multiplex Integrated Control System Description

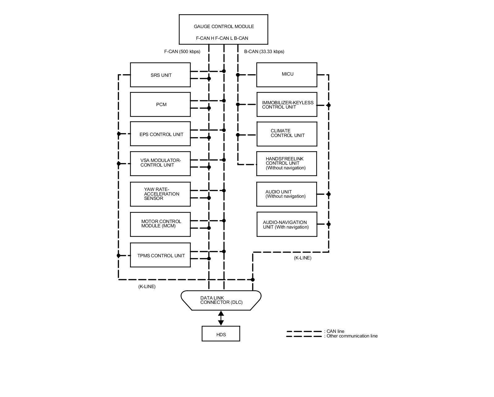
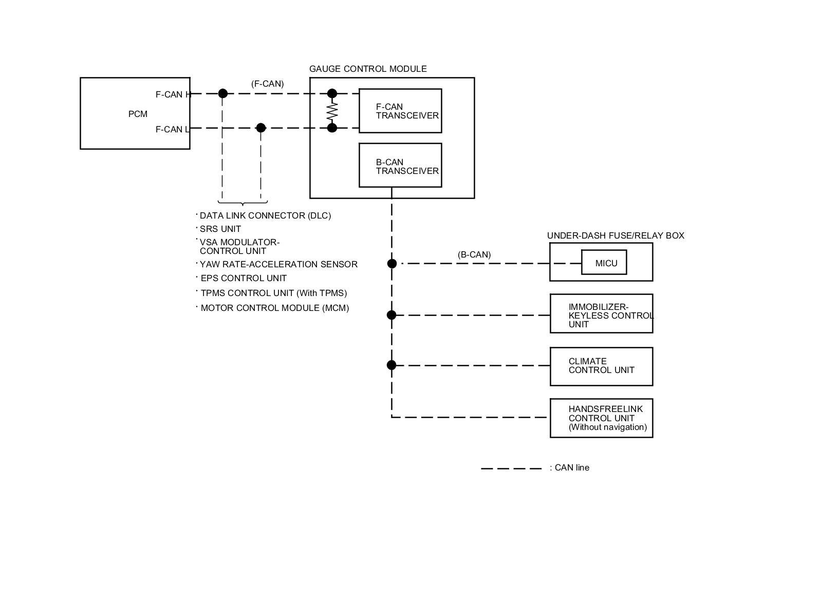
Body Controller Area Network (B-CAN) and Fast Controller Area Network (F-CAN)

The body controller area network (B-CAN) and the fast controller area network (F-CAN) share information between multiple electronic control units (ECUs). B-CAN communication moves at a slower speed (33.33 kbps) for convenience related items and for other functions. F-CAN information moves at a faster speed (500 kbps) for "real time" functions such as fuel and emissions data. To allow both systems to share information, the gauge control module translates and relays the information from B-CAN to F-CAN and from F-CAN to B-CAN. This is called the Gateway Function.






Gateway Function

The gauge control module acts as a gateway to allow both systems to share information. The gauge control module translates and relays the information from B-CAN to F-CAN and from F-CAN to B-CAN.






Network "Loss of Communication" Error Checking Function

The ECUs on the CAN circuit send messages to each other. If there are any communication malfunctions on the network, the multi-information display on the gauge control module can indicate the error messages by entering the gauge control module self-diagnostic function Testing and Inspection.






Self-diagnostic Function (On-board diagnosis)

By connecting the HDS to the data link connector (DLC), the HDS can retrieve the diagnostic information from the MICU via a diagnostic line called the K-LINE. The K-LINE is a separate communication line from the CAN lines, but it is connected to most of the CAN related ECUs. The MICU is a gateway between the HDS and B-CAN related ECUs, and sends B-CAN diagnostic information to the HDS. When doing a function test with the HDS, the HDS sends an output signal through the K-LINE to the MICU. The MICU either relays the request to another ECU, or commands the function itself.






Wake-up and Sleep Function

The multiplex integrated control system has wake-up and sleep functions to decrease parasitic draw on the battery when the ignition switch is in LOCK (0).

- In the sleep mode, the multiplex integrated control system stops functioning (communication and CPU control) when it is not necessary for the system to operate.
- As soon as any operation is requested (for example, a door is unlocked), the related control units in the sleep mode immediately wake up and begin to function.
- When the ignition switch is turned to LOCK (0) with all the doors and the hatch closed, and the driver's door is opened, then closed, there is a delay of about 40 seconds before the control unit goes from the wake-up mode to the sleep mode.
- The sleep mode will not function if any door or the hatch is open or if a key is in the ignition switch.

NOTE: Sleep and Wake-up Mode Test Multiplex Integrated Control System Sleep and Wake-Up Mode Test.

Fail-safe Function

To prevent improper operation, the MICU has a fail-safe function. In the fail-safe mode, the output signal is fixed when any part of the system malfunctions (for example, a faulty control unit or communication line).
Each control unit has a hardware fail-safe function that fixes the output signal when there is a CPU malfunction, and a software fail-safe function that ignores the signal from a malfunctioning control unit, which allows the system to continue operating normally.

Hardware Fail-safe Control

Fail-safe function

When a CPU problem or an abnormal power supply voltage is detected, the MICU moves to the hardware fail-safe mode, and each system output load is set to the pre-programmed fail-safe value.

Software Fail-safe Control

When any of the data from the B-CAN circuit cannot be received within a specified time, or an unusual combination of data is recognized, the MICU moves to the software fail-safe mode. The data that was not received is forced to a pre-programmed value.

Power Supply Voltage Monitoring Function

The MICU monitors the power supply voltage (back-up voltage). If the voltage drops below 10 V, the MICU does not store DTCs.






Headlights

The MICU controls the headlights based on inputs from each switch.






Turn Signal/Hazard Warning Light

The MICU controls the turn signal/hazard warning lights based on inputs from the turn signal switch and the hazard warning switch.






Entry Lights Control System (Ceiling Light)*

The MICU controls the ceiling light ON/OFF based on inputs signals from each switch.










Automatic Lighting

The MICU controls the automatic lighting system based on inputs from the automatic lighting sensor.






Cargo Area Light

The MICU controls the cargo area light based on inputs from the hatch latch switch.






Daytime Running Lights

The MICU controls the headlights as daytime running lights based on inputs from each switch.










Windshield Wiper/Washer (Normally Operation)

The MICU controls the windshield wiper motor and the windshield washer motor based on inputs from each switch.










Rear Window Wiper/Washer (Normally Operation)

The MICU controls the rear window wiper motor and the rear washer motor based on inputs from each switch.






Windshield Wiper/Washer (Vehicle Speed Operation)

The MICU controls the windshield wiper motor and the windshield washer motor based on inputs from each switch.










Rear Window Wiper/Washer (With Reverse Linked Rear Wiper)

The MICU controls the rear window wiper motor and the rear window washer motor based on inputs from each switch.






Windshield/Rear Window Washer

The MICU controls the windshield and rear window washer motor based on inputs from each switch.






Power Window Timer (Key-Off Operation)

The MICU controls the power window key-off operation based on inputs from each switch.






Collision Detection Signal (CDS)

The MICU controls the door lock actuators based on IG1 and SRS (CDS) inputs.






Power Door Locks*

The MICU controls the door lock actuators based on inputs from each switch.










Door Lock Response Operation*

The MICU controls the door lock actuators LOCK, UNLOCK, DRIVER'S UNLOCK, HATCH UNLOCK based on B-CAN door lock switch signals.










Keyless Entry System*

The MICU controls the door lock actuators based on the inputs signals from each switch.










Key-in Reminder

The MICU controls the door lock actuators based on inputs from each switch.






Key Interlock

The MICU controls the key interlock solenoid based on ignition switch ACCESSORY (l) position, the transmission range switch P position, and the park pin switch inputs.






Security Alarm System

The MICU controls the lighting system and horn based on inputs from each switch.






Keyless Answer Back (Without security)*

The MICU controls the lighting system and horn based on keyless signals sent by B-CAN.










Security Answer Back (With security)*

The MICU controls the lighting system and horn based on keyless signals sent by B-CAN.










Answer Back Response Operation*

The MICU controls the lighting system and horn based on keyless signals sent by B-CAN.










Hatch Outer Handle Switch Operation

The MICU controls the hatch release actuator based on inputs from each switch.






Auto Door Lock*

The MICU controls the door lock actuators based on inputs from each switch.










Auto Door Unlock*

The MICU controls of the door lock actuators based on inputs from each switch.










Keyless Panic Function

The MICU controls the keyless PANIC operation based on signals sent by B-CAN.






HDS Inputs and Commands

Certain inputs happen so quickly that the HDS cannot update fast enough. Hold the switch that is being tested while monitoring the Data List. This should give the HDS time to update the signal on the Data List.

Because the HDS software is updated to support the release for newer vehicles it is not uncommon to see system function tests that are not supported.

Make sure that the most current HDS software is loaded.

Input





Input





Input









Input





HDS Inputs and Commands

Function Test: