Operation CHARM: Car repair manuals for everyone.
Manuals through 2025 now available!

Our trusted friends have launched a new website named LEMON, which has newer manuals. It also contains all the CHARM manuals.

LEMON is the spiritual successor to CHARM, I recommend you try it!

Link: lemon-manuals.la or lemon-manuals.org.ua

(Some people have issue connecting. LEMON is investigating. For now, use Firefox or change your DNS server)

Or, hide this message: temporarily or permanently

CVT Input Shaft Disassembly/Inspection/Reassembly




CVT Input Shaft Disassembly/Inspection/Reassembly

Special Tools Required

- Snap Ring Pliers 07LGC-0010100

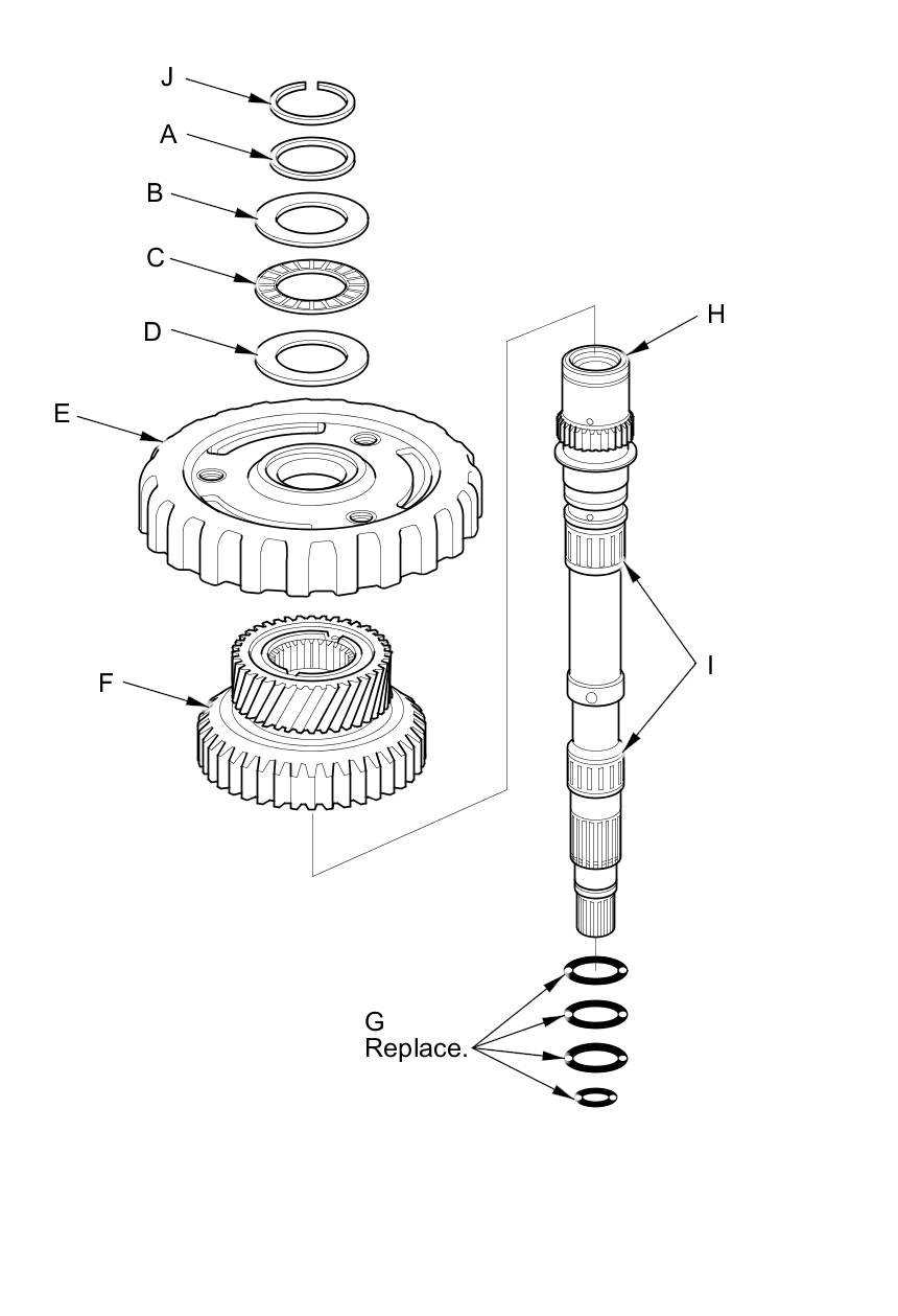
1. Expand the snap ring (A) on the input shaft (B) using snap ring pliers, and remove the snap ring from the input shaft.






2. Remove the 25 x 31 mm thrust shim (A), the 25 x 41.5 x 2.5 mm thrust shim (B), the thrust needle bearing (C), the 25 x 41.5 x 1 mm thrust shim (D), the planetary carrier (E), the sun gear (F), and the O-rings (G) from the input shaft (H).





3. Check the 25 x 31 mm thrust shim, the 25 x 41.5 x 2.5 mm thrust shim, the thrust needle bearing, the 25 x 41.5 x 1 mm thrust shim, the planetary carrier, the sun gear, the O-rings, the input shaft, and the needle bearing (I) for wear or damage, and replace them if necessary.

4. Install new O-rings, the sun gear, the planetary carrier, the 25 x 41.5 x 1 mm thrust shim, the thrust needle bearing, the 25 x 41.5 x 2.5 mm thrust shim, the 25 x 31 mm thrust shim, and the snap ring (J) to the input shaft.

5. After installing the snap ring, check that the snap ring is seated in the snap ring groove of the input shaft, and check that the ring outside diameter (A) is 30.7 mm (1.21 in) or less.






6. Inspect the planetary carrier clearance CVT Input Shaft Planetary Carrier Clearance Inspection.