Operation CHARM: Car repair manuals for everyone.
Manuals through 2025 now available!

Our trusted friends have launched a new website named LEMON, which has newer manuals. It also contains all the CHARM manuals.

LEMON is the spiritual successor to CHARM, I recommend you try it!

Link: lemon-manuals.la or lemon-manuals.org.ua

(Some people have issue connecting. LEMON is investigating. For now, use Firefox or change your DNS server)

Or, hide this message: temporarily or permanently

CVT Transmission Reassembly




CVT Transmission Reassembly

Special Tools Required

- Reverse Brake Spring Compressor 07TAE-P4V0110
- Start Clutch Installer 07TAE-P4VA131

NOTE: When you reassemble the transmission, soak the start clutch assembly, the forward clutch assembly, and the reverse brake disks in Honda Genuine CVTF for at least 30 minutes prior to installation.

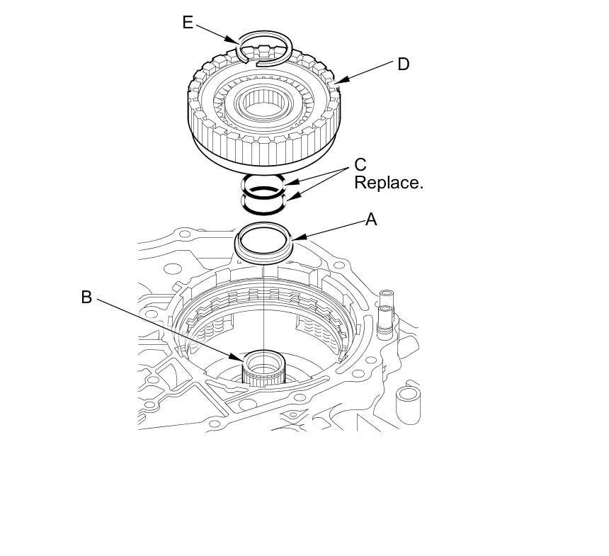
1. Install new O-rings (A) on the CVTF feed pipes (10.9 x 56 mm) (B), then install them with the filter ends into the transmission housing (C).





2. Install the two dowel pins (D) and a new gasket (E) on the transmission housing.

3. Push the selector control shaft (F) toward the outside of the transmission housing, then install the intermediate housing (G).

4. Pull the selector control shaft back, then install the roller (H) in the intermediate housing by aligning the groove on the control shaft.

5. Install two new O-rings (A) on the reverse brake piston (B), then install the piston in the intermediate housing (C).





6. Install the spring retainer/return spring assembly (D); install the return springs on the spring guides (E) of the reverse brake piston.

7. Install the reverse brake spring compressor through the drive pulley shaft to compress the spring retainer/return spring assembly (A). Be sure the reverse brake spring compressor is set over the spring retainer, not over the reverse brake piston.






8. Compress the spring retainer/return spring assembly, and make sure that the reverse brake spring compressor is set over the return springs, and the reverse brake spring compressor tabs (A) do not ride on the reverse brake piston (B).





9. Install the snap ring in the intermediate housing above the spring retainer, and remove the reverse brake spring compressor.

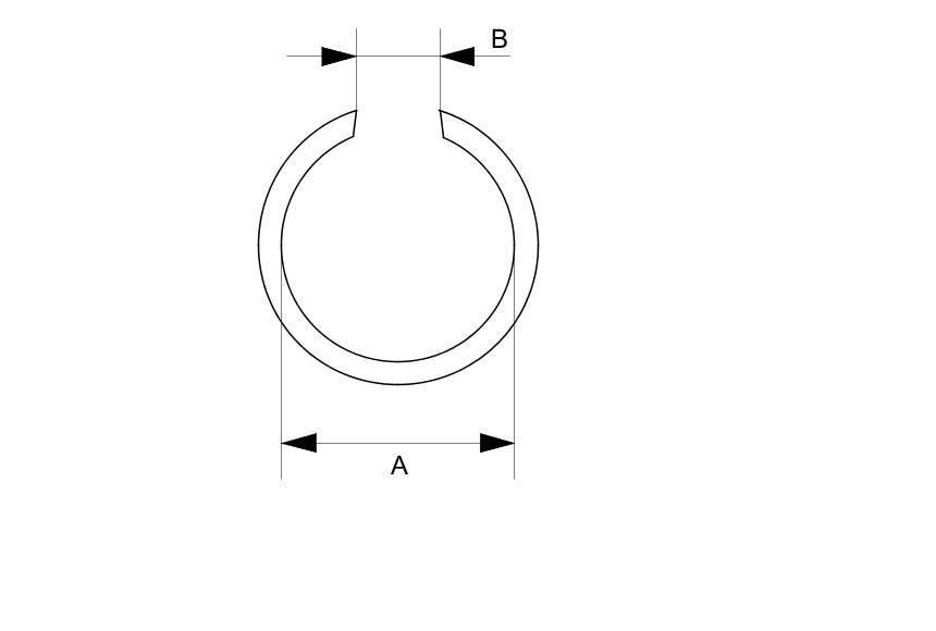
10. After installing the snap ring, check that the snap ring is seated in the snap ring groove of the intermediate housing, and that the ring end gap (A) is 15 mm(0.59 in) or more.






11. Install the disc spring (A) on the spring retainer (B) in the direction shown.





12. Starting with the two reverse brake plates (C), alternately install the two reverse brake plates and the reverse brake discs (D). Install the reverse brake end-plate (E), then install the snap ring (F).

13. After installing the snap ring, check that the snap ring is seated in the snap ring groove of the intermediate housing, and that the snap ring inside diameter (A) is 143.5 mm (5.65 in) or more, and also check that the snap ring end gap (B) is 8.7 mm (0.34 in) or more.






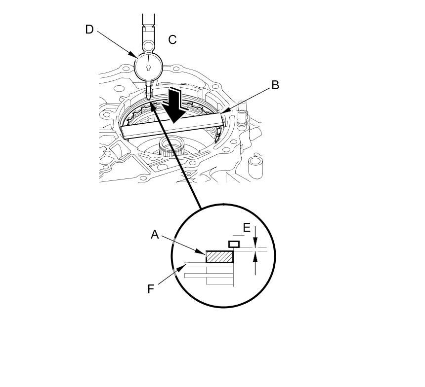
14. Set up a dial indicator (A) on the reverse brake end-plate (B).





15. Zero the dial indicator by lifting the top disc (C) up against the reverse brake end-plate and the reverse brake end-plate up against the snap ring (D).

16. Release the reverse brake end-plate (A) to lower the reverse brake end-plate, and place a steel plate (B) across width of the reverse brake end-plate.









17. Press the steel plate down with 49 N (5 kgf, 11 lbf) (C) using a force gauge, and read the dial indicator (D). The dial indicator reads the clearance (E) between the reverse brake end-plate and the top-disc (F). Take measurements in at least three places, and use the average as the actual clearance.

18. If the clearance is out of standard, remove the reverse brake end-plate, and measure its thickness.

19. Select a new reverse brake end-plate from the following table and install it, then recheck that the clearance is within the standard.

REVERSE BRAKE END-PLATE





20. If the reverse brake end-plate is replaced, install the snap ring, and check that the snap ring inside diameter and end gap are within the tolerance.

21. Install the snap ring retainer (A) over the drive pulley shaft (B).





22. Wrap the drive pulley shaft splines with tape to prevent O-ring damage. Install two new O-rings (C) in the drive pulley shaft O-ring grooves, then remove the tape.

23. Install the forward clutch (D) on the drive pulley shaft, then install the snap ring (E) to secure the forward clutch.

24. After installing the snap ring, check that the snap ring is seated in the snap ring groove of the drive pulley shaft, and that the snap ring outside diameter (A) is 41.4 mm (1.63 in) or less.






25. Install the ring gear (A) on the forward clutch (B).





26. Install the input shaft/planetary carrier assembly (C) through the drive pulley shaft (D) by aligning the sun gear (E) with the forward clutch discs (F) and aligning the planetary carrier with the reverse brake discs (G).

27. Install the manual valve body separator plate (A) and the two dowel pins (B) on the intermediate housing (C), then install the manual valve body (D) and detent spring (E).






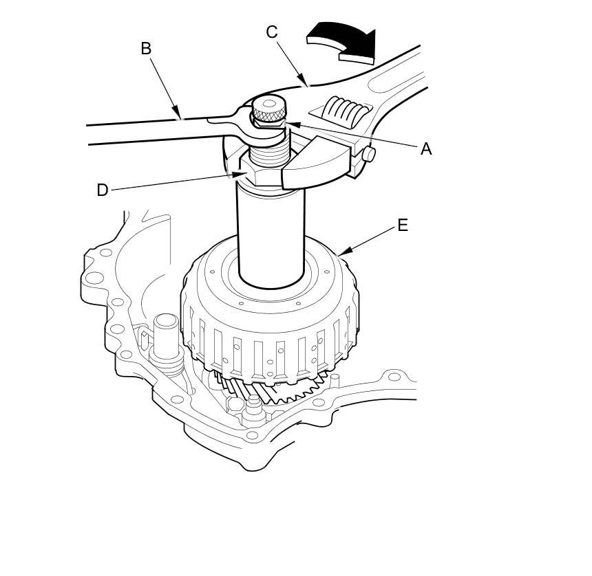
28. Install two new O-rings (A) on the 10.9 x 18.6 mm CVTF feed pipe (B), then install it on the manual valve body (C).





29. Install two new O-rings (D) on the 10.9 x 56 mm CVTF feed pipe (E), then install it with the filter end and an 8 mm CVTF pipe (F) in the intermediate housing.

30. Install the two dowel pins (G) and a new gasket (H) on the intermediate housing.

31. Install four new O-rings (I) on the two CVTF feed pipes (J), then install them on the manual valve body and the intermediate housing.

32. Place the end cover (K) on the intermediate housing.

33. Install the end cover bolts (sixteen), and tighten them to the specified torque in a crisscross pattern in at least two or three steps, then turn the transmission end cover down.

34. Install the sealing ring (A) on a new secondary drive/park gear (B).

NOTE: The secondary drive/park gear must be replaced when disassembling the transmission.






35. Insert the secondary drive/park gear (A) into the start clutch (B). Wiggle the secondary drive/park gear back and forth as it goes into the start clutch, and push in the secondary drive/park gear until it bottoms out.






36. Install the park pawl (A), the pawl spring (B), and the pawl shaft (C) on the transmission housing (D), then move the control lever to any position other than P.





37. Use CVT fluid to lubricate the new O-rings (E) for the driven pulley shaft (F), then install the O-rings on the shaft.

38. Place the start clutch and secondary drive/park gear (G) onto the driven pulley shaft.

NOTE: Make sure to hold the secondary drive/park gear engaged into the start clutch when you install the start clutch and secondary drive/park gear onto the driven pulley shaft.

39. Seat the start clutch by aligning the tip of the start clutch installer with the driven pulley shaft hole (A) and then pushing down the handle (B).






40. While holding the handle (A) down, push down the bottom part (B) of the start clutch installer until it contacts the seating surface of the start clutch (C).






41. Hold the upper hex section (A) of the start clutch installer with a 19 mm wrench (B), then use an adjustable wrench (C) to tighten the start clutch installer's lower nut (D) until the start clutch (E) seats.

NOTE: When using the start clutch installer, hold the upper hex section and then turn the nut. Turning the upper hex section could damage the start clutch installer.





42. Remove the start clutch installer.

43. Reach under the start clutch to confirm that the clutch end-plate can move up and down slightly (less than 1 mm(0.039 in)).

44. Install the 25.5 mm cotters (A) to the cotter groove on the driven pulley shaft (B), then measure the clearance between the cotters and the start clutch guide (C) using a feeler gauge (D). Take measurements in at least three places, and use the average as the actual clearance.









45. If the clearance is out of standard, remove the cotters, and measure its thickness.

46. Select new 25.5 mm cotters from the following table and install its, then recheck that the clearance is within the standard.

COTTERS, 25.5 mm





47. Install the cotter retainer (A) and the snap ring (B) to the driven pulley shaft (C).






48. After installing the snap ring, check that the snap ring is seated in the snap ring groove of the driven pulley shaft, and that the snap ring outside diameter (A) is 33.9 mm (1.33 in) or less.






49. Install the thrust washer (A), the thrust needle bearing (B), the thrust washer (C), the CVTF pump drive sprocket hub (D), and the 22 x 28 mm thrust shim (E) on the input shaft (F), and install the snap ring (G) to secure them.






50. After installing the snap ring, check that the snap ring is seated in the snap ring groove of the input shaft, and that the snap ring outside diameter (A) is 26.3 mm (1.04 in) or less.






51. Measure the clearance between the 22 x 28 mm thrust shim (A) and the snap ring (B) using a feeler gauge (C). Take measurements in at least three places, and use the average as the actual clearance.









52. If the clearance is out of standard, remove the 22 x 28 mm thrust shim, and measure its thickness.

53. Select a new 22 x 28 thrust shim from the following table and install it, then recheck that the clearance is within the standard.

THRUST SHIM, 22 x 28 mm





54. If the 22 x 28 mm thrust shim is replaced, install the snap ring, and check that the snap ring outside diameter is within the tolerance.

55. Place the secondary driven gear (A) on the transmission housing (B) by aligning it with the secondary drive gear (C), then install the final drive shaft (D) through the secondary driven gear into the transmission housing.





56. Install the 25 x 35 mm thrust shim (E) on the final drive shaft.

57. Position the CVTF pump drive sprocket (F) on the CVTF pump drive sprocket hub (G), and put the CVTF pump drive chain (H) on the CVTF pump drive sprocket and the CVTF pump driven sprocket (I), then secure the CVTF pump drive sprocket with the three bolts.

58. Install the lubrication pipe (J).

59. Install the differential assembly (A).





60. Install new two O-rings (B) on both ends of the CVTF passage pipe (C), then install the CVTF passage pipe in the pipe joint (D) of the transmission housing, and put the other end on the pipe guide (E).

61. Install the three dowel pins (F) and a new gasket (G) on the transmission housing.

62. Place the flywheel housing (H) on the transmission housing.

63. Install the housing bolts (nineteen), and tighten them to the specified torque in a crisscross pattern in at least two or three steps, then turn the transmission flywheel housing down.

64. Install a new O-ring (A) on the solenoid wire harness 8P connector (B).





65. Install the two CVTF pipes (C) on the lower valve body (D), then install the solenoid wire harness 8P connector and the lower valve body in the transmission housing.

66. Install a new O-ring (E) on the CVTF strainer (F), then install the CVTF strainer (two bolts) on the lower valve body.

67. Install the two dowel pins (A) and a new gasket (B).





68. Place the CVTF pan (C) on the transmission housing.

69. Install the CVTF pan bolts (eighteen), and tighten them to the specified torque in a crisscross pattern in at least two or three steps.

70. Move the selector control lever (A) from the P position to the N position by turning the selector control lever.

NOTE: Do not squeeze the end (B) of the selector control shaft tips together when turning. If the tips are squeezed together it will cause a faulty control signal or position due to play between the selector control shaft and the transmission range switch.






71. Align the cutouts (A) on the rotary-frame with the neutral positioning cutouts (B) on the transmission range switch (C). Then put a 2.0 mm (0.08 in) feeler gauge blade (D) in the cutouts to hold the switch in the N position.

NOTE: Be sure to use a 2.0 mm (0.08 in) feeler gauge blade or equivalent to hold the transmission range switch in the N position.






72. Install the transmission range switch (A) gently on the selector control shaft (B) while holding it in the N position with the 2.0 mm (0.08 in) blade (C).






73. Tighten the bolts (A) on the transmission range switch (B) while you continue to hold it in the N position. Do not move the transmission range switch when tightening the bolts. Remove the feeler gauge (C).






74. Install the control shaft cover (A) on the transmission range switch (B).






75. Install the breather cap (A) on the breather pipe (B) with its arrow (C) pointing to the flywheel housing.






76. Install the CVT output shaft (driven pulley) speed sensor (A), and the vehicle speed sensor (B), with new O-rings (C).






77. Install the dipstick tube (A) with a new O-ring (B).





78. Install the CVT input shaft (drive pulley) speed sensor (C) with a new O-ring (D).

79. Install the two CVTF cooler lines (E) with the line bolts (F) and new sealing washers (G).

80. Install the CVTF dipstick in the tube.