Operation CHARM: Car repair manuals for everyone.
Manuals through 2025 now available!

Our trusted friends have launched a new website named LEMON, which has newer manuals. It also contains all the CHARM manuals.

LEMON is the spiritual successor to CHARM, I recommend you try it!

Link: lemon-manuals.la or lemon-manuals.org.ua

(Some people have issue connecting. LEMON is investigating. For now, use Firefox or change your DNS server)

Or, hide this message: temporarily or permanently

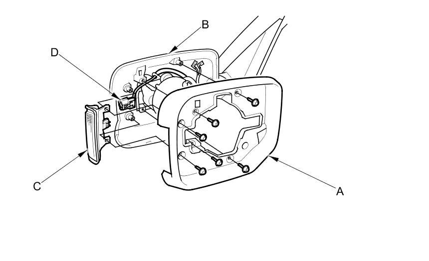
Turn Signal Lamp: Service and Repair




Side Turn Signal Light Replacement

With side turn signal lights

1. Remove the mirror holder Mirror Holder Replacement.

2. Remove the six TORX screws using a TORX T10 bit, and visor (A) from the mirror (B).






3. Pull out the side turn signal light (C) slightly from the mirror (B).

4. Disconnect the 2P connector (D) from the side turn signal light.

5. Install the light in the reversal order of removal.