Operation CHARM: Car repair manuals for everyone.
Manuals through 2025 now available!

Our trusted friends have launched a new website named LEMON, which has newer manuals. It also contains all the CHARM manuals.

LEMON is the spiritual successor to CHARM, I recommend you try it!

Link: lemon-manuals.la or lemon-manuals.org.ua

(Some people have issue connecting. LEMON is investigating. For now, use Firefox or change your DNS server)

Or, hide this message: temporarily or permanently

Navigation System Description




Navigation System Description

Overview

The navigation system is a highly-sophisticated, hybrid locating system that uses satellites and a map database to show you where you are and to help guide you to a desired destination.

The navigation system receives signals from the global positioning system (GPS), a network of 24 satellites in orbit around the earth. By receiving signals from several of these satellites, the navigation system can determine the latitude, longitude, and elevation of the vehicle. In addition, signals from the system's yaw rate sensor and the PCM (vehicle speed pulse) enable the system to keep track of the vehicle's direction and speed of travel.

This hybrid system has advantages over a system that is either entirely self-contained or one that relies totally on the GPS. For example, the self-contained portion of the system can keep track of vehicle position even when satellite signals cannot be received. When the navigation system is on, the GPS can keep track of the vehicle position even when the vehicle is transported by ferry.

The navigation system applies all location, direction, and speed information to maps and calculates a route to the destination entered. As you drive to that destination, the system provides both visual and audio guidance.

This navigation system also has voice recognition that allows voice control of most of the navigation functions. The Navigation TALK and BACK buttons on the steering wheel activate the voice control. The voice control also allows control of the audio and climate functions.

The illumination signal (headlights ON) is used by the navigation unit to automatically switch the display between Night and Day brightness modes. When the gauge control module brightness control is set to max brightness, the navigation system stays in the day mode, even with the headlights on.

The GA-NET II communication bus passes information back and forth between the navigation display unit, the navigation unit and the audio system. The information passed on this bus is audio settings directed by the navigation unit.

The Comm. Bus connects the HFL, and navigation units. This bus supports these functions:

- If a POI phone number is available, the navigation control unit sends the phone number (on the Calculate route to screen) to the HandsFreeLink control unit for dialing.
- The navigation system can download the cellular phone book from an approved cell phone with the applicable capability and call phone numbers in the book.
- The navigation unit can sense the status of a phone that is paired to the HFL.

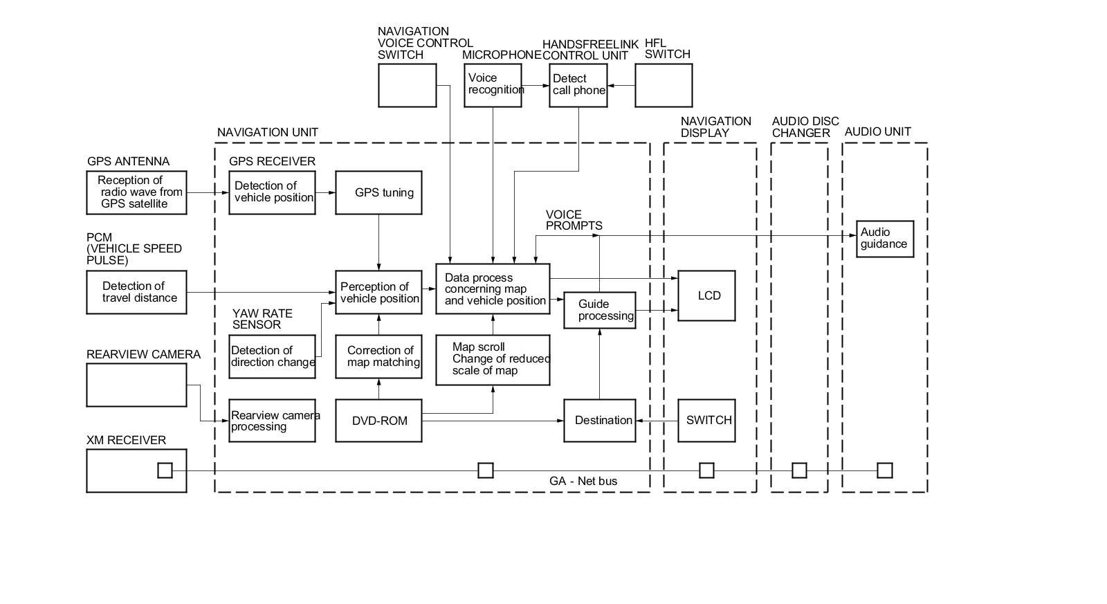
System Diagram





Navigation Function

The navigation system is composed of the navigation unit, the PCM (vehicle speed pulse), HandsFreeLink control unit (to send a POI phone number or place a call) the GPS antenna, microphone, voice control switch, audio unit, audio disc changer, XM receiver, climate control unit, and the navigation display.

These units communicate with each other on the GA-Net bus.

Function Diagram





Vehicle Speed Pulse

The vehicle speed pulse is sent by the PCM. The PCM receives a signal from the countershaft speed sensor, then it processes the signal and transmits it to the gauge control module and other systems.






GA-Net Bus Configuration

The GA-Net bus passes audio and navigation commands throughout the navigation and audio components.

These commands include navigation touch screen and hard button signals, audio/XM selections by voice, and XM station and music title names. Because the entire bus is daisy chained between components (see diagram), any open or short in the GA-Net bus harness will cause any or all of these functions to become inoperative. The addition of any factory audio accessory must maintain the continuity of the GA-Net bus by installing the Y cable included with the accessory kit.






Yaw Rate Sensor

The yaw rate sensor (located in the navigation unit) detects the direction change (angular speed) of the vehicle. The sensor is an oscillation gyro built into the navigation unit.

Sensor Element Structure

The sensor element is shaped like a tuning fork, and it consists of the piezoelectric parts, the metal block, and the support pin. There are four piezoelectric parts: one to drive the oscillators, one to monitor and maintain the oscillation at a regular frequency, and two to detect angular velocity. The two oscillators, which have a 90-degree twist in the center, are connected at the bottom by the metal block and supported by the support pin. A detection piezoelectric part is attached to the top of each oscillator. The driving piezoelectric part is attached to the bottom of one oscillator, and the monitoring piezoelectric part is attached to the bottom of the other oscillator.

Oscillation Gyro Principles

The piezoelectric parts have electric/mechanical transfer characteristics. They bend vertically when voltage is applied to both sides of the parts, and voltage is generated between both sides of the piezoelectric parts when they are bent by an external force. The oscillation gyro functions by utilizing this characteristic of the piezoelectric parts and Coriolis force. (Coriolis force deflects moving objects as a result of the earth's rotation.) In the oscillation gyro, this force moves the sensor element when angular velocity is applied.

Operation

- The driving piezoelectric part oscillates the oscillator by repeatedly bending and returning when an AC voltage of 6 kHz is applied to the part, The monitoring-side oscillator resonates because it is connected to the driving-side oscillator by the metal block.

- The monitoring piezoelectric part bends in proportion to the oscillation and outputs voltage (the monitor signal). The navigation unit control circuit controls the drive signal to stabilize the monitor signal.

- When the vehicle is stopped, the detecting piezoelectric parts oscillate right and left with the oscillators, but no signal is output because the parts are not bent (no angular force).

- When the vehicle turns to the right, the sensor element moves in a circular motion with the right oscillator bending forward and the left oscillator bending rearward. The amount of forward/rearward bend varies according to the angular velocity of the vehicle.

5. The detecting piezoelectric parts output voltage (the yaw rate signal) according to the amount of bend. The amount of vehicle direction change is determined by measuring this voltage.






Global Positioning System (GPS)

The global positioning system (GPS) enables the navigation system to determine the current position of the vehicle by using the signals transmitted from the satellites in orbit around the earth. The satellites transmit the satellite identification signal, orbit information, transmission time signal, and other information. When the GPS receiver receives a signal from four or more satellites simultaneously, it calculates the current position of the vehicle based on the distance to each satellite and the satellite's positions in its respective orbit.

Position detection Image with GPS satellite





Precision of GPS

The precision of the GPS varies according to the number of satellites from which signals are received and the view of the sky. The accuracy is indicated by the color and shape of the GPS icon shown on the display.






GPS Antenna

The GPS antenna amplifies and transmits the signals received from the satellites to the GPS receiver.

GPS Receiver

The GPS receiver is built in the navigation unit. It calculates the vehicle position by receiving the signal from the GPS antenna. The current time, vehicle position and signal reception condition is transmitted from the GPS receiver to the navigation unit to adjust vehicle position.

Navigation Unit

The navigation unit calculates the vehicle position and guides you to the destination. The unit does map matching correction, GPS correction, and distance tuning. It also controls the menu functions and the DVD-ROM drive, and interprets voice commands. With control of all these items, the navigation unit makes the navigation picture signal, then it transmits the signal to the navigation display unit and audio driving instructions to the audio unit.

Calculation of Vehicle Position

The navigation unit calculates the vehicle position (the driving direction and the current position) by receiving the directional change signals from the yaw rate sensor and the travel distance signals from the PCMs vehicle speed pulse (VSP) signal.

Map Matching Tuning

The map matching tuning is accomplished by indicating the vehicle position on the roads on the map. The map data transmitted from the navigation DVD is checked against the vehicle position data, and the vehicle position is indicated on the nearest road. Map matching tuning does not occur when the vehicle travels on a road not shown on the map, or when the vehicle position is far away from a road on the map.

GPS Tuning

The GPS tuning is accomplished by indicating the vehicle position as the GPS's vehicle position. The navigation unit compares its calculated vehicle position data with the GPS vehicle position data. If there is large difference between the two, the indicated vehicle position is adjusted to the GPS vehicle position.

Distance Tuning

The distance tuning reduces the difference between the travel distance signal from the VSP and the distance data on the map. The navigation unit compares its calculated vehicle position data with the GPS vehicle position data. The navigation unit then decreases the tuning value when the vehicle position is always ahead of the GPS vehicle position, and it increases the tuning value when the vehicle position is always behind the GPS vehicle position.

Dynamic Route Guidance

The navigation unit can calculate different routes to a selected destination. You have five options:

- Direct Route - Calculate a route that is the most direct.
- Easy Route - Calculate a route that minimizes the number of turns needed.
- Minimize Freeways - Calculate a route that avoids freeway travel. If that is not possible, keep the amount of freeway travel to a minimum.
- Minimize Toll Roads - Calculate a route that avoids, or minimizes travel on toll roads. This is not selectable (button grayed out) for trips greater than 100 miles (160 km).
- Maximize Freeways - Calculate a route that uses freeways as much as possible.

Audio Guidance

The navigation unit transmits audio driving instructions before entering an intersection or passing a junction. The audio instructions come through the audio unit to the front speakers.

NOTE: The front speakers are muted whenever the navigation system is giving guidance commands, and all of the speakers are muted when the voice control system is being used.

DVD-ROM

The navigation DVD includes:

- Map Data
- Point of interest (POI)
- Navigation software

Audio Unit

The audio unit receives the voice guidance instructions from the navigation unit and transmits the instructions through the front speakers even when the audio system is in use.

NOTE: If the navigation volume and/or voice feed back is turned off, this feature is disabled.

Navigation Display Unit

The navigation display uses a liquid crystal display (LCD). The LCD is a 8-inch-diagonal, thin film transistor (TFT), stripe type with 336,960 picture elements. The color film and fluorescent light are laid out on the back of the liquid crystal film. The touch sensor on the front of the LCD consists of a touch sensitive resistive membrane with an infinite number of possible touch locations. To maintain compatibility with earlier display units, the sensing locations are confined to a grid of 20 vertical and 10 horizontal touch locations. This produces 200 total sensing zones. The navigation display transmits the signal from each operation key and the touch switches to the navigation unit over the GA-Net bus.






Microphone (Mic)

Receives voice commands and transmits them to the navigation unit or HandsFreeLink control unit for interpretation.

Both system share the same microphone.

Navigation Voice Control TALK Button

Activates the voice control system in the navigation unit to accept voice commands.

Navigation Voice Control Button

Returns the display to the previous screen (similar function as the CANCEL button).






Glossary

The following is a glossary of terms pertaining to the Voice Recognition Navigation System.














Diagnostic Function Diagram

This diagram shows the diagnostic slice of the System Function Diagram. It has the diagnostic features of the navigation system starting at the center and working outward in layers. The diagnostic starts at "Key ON," and then displays the Diagnostic Main Menu (Select Diagnosis items) after:

The diagram shows the available menu choices starting at the button left and moving clockwise.

You will find a detailed explanation of each feature on the given page numbers.

In most cases, do not clear or change settings in any diagnostic screen unless instructed to do so in the explanation or by the factory. If the factory supplies you with a PCMCIA card to place in the PC slot, then the features specified in the diagram with PC card are available.

- Starting the vehicle with the SCS service connector plugged in to the navigation service check connector Forced Starting Of The Navigation Unit (With Navigation) to get to the System Links screen, then selecting Return.
- Simultaneously pressing and holding the MENU, MAP/GUIDE, and CANCEL buttons.





Navigation System Connector Locations


















Navigation Unit Inputs and Outputs





Navigation Unit Connector A (8P)





NAVIGATION UNIT CONNECTOR B (32P)





Navigation Unit Connector B (32P)










NAVIGATION UNIT CONNECTOR C (16P)





Navigation Unit Connector C (16P)










NAVIGATION UNIT CONNECTOR D (5P)





Navigation Unit Connector D (5P)










NAVIGATION UNIT CONNECTOR E (7P)





Navigation Unit Connector E (7P)










NAVIGATION UNIT CONNECTOR F (2P)





Navigation Unit Connector F (2P)





Navigation Display Unit Inputs and Outputs





Navigation Display Unit Connector (A) (20P)










Navigation Display Unit Connector A (20P)










Navigation Display Unit Inputs and Outputs





Navigation Display Unit Connector B (10P)





Rearview Camera Inputs and Outputs





Rearview Camera 4P Connector