Operation CHARM: Car repair manuals for everyone.
Manuals through 2025 now available!

Our trusted friends have launched a new website named LEMON, which has newer manuals. It also contains all the CHARM manuals.

LEMON is the spiritual successor to CHARM, I recommend you try it!

Link: lemon-manuals.la or lemon-manuals.org.ua

(Some people have issue connecting. LEMON is investigating. For now, use Firefox or change your DNS server)

Or, hide this message: temporarily or permanently

Cabin Ventilation Duct: Service and Repair




Rear Air Outlet Replacement

Body Side Outlet

1. Remove the front bed panel .

2. Release the hooks (A), then remove the rear air outlet (B). Take care not to scratch the body.





3. Install the air outlet by pushing on the hook portions until the hooks snap into place.

4. Reinstall the front bed panel .

Bed Floor Side Outlet

1. Open the in-bed trunk lid.

2. Remove the jack, the tool box, the spare tire, and the spare tire tray .

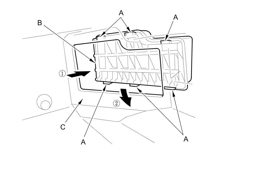
3. From inside the bed floor, release the hooks (A), then remove the rear air outlet (B) to outside of the bed floor (C), and pass the outlet to the inside through the outlet opening in the bed floor. Take care not to scratch the bed floor.





4. Install the air outlet in the reverse order of removal, and pull on the hook portions until the hooks snap into place.