Operation CHARM: Car repair manuals for everyone.
Manuals through 2025 now available!

Our trusted friends have launched a new website named LEMON, which has newer manuals. It also contains all the CHARM manuals.

LEMON is the spiritual successor to CHARM, I recommend you try it!

Link: lemon-manuals.la or lemon-manuals.org.ua

(Some people have issue connecting. LEMON is investigating. For now, use Firefox or change your DNS server)

Or, hide this message: temporarily or permanently

Horn: Service and Repair




Horn Test/Replacement

1. Remove the front bulkhead cover Front Bulkhead Cover Replacement.

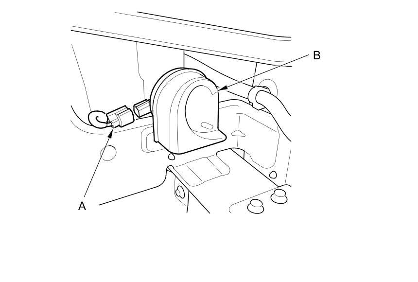
2. Disconnect the 1P connector (A) from each horn (B).






3. Test the horn by connecting battery power to the terminal (A) and grounding the bracket (B). The horn should sound.





4. If it fails to sound, replace it.