Operation CHARM: Car repair manuals for everyone.
Manuals through 2025 now available!

Our trusted friends have launched a new website named LEMON, which has newer manuals. It also contains all the CHARM manuals.

LEMON is the spiritual successor to CHARM, I recommend you try it!

Link: lemon-manuals.la or lemon-manuals.org.ua

(Some people have issue connecting. LEMON is investigating. For now, use Firefox or change your DNS server)

Or, hide this message: temporarily or permanently

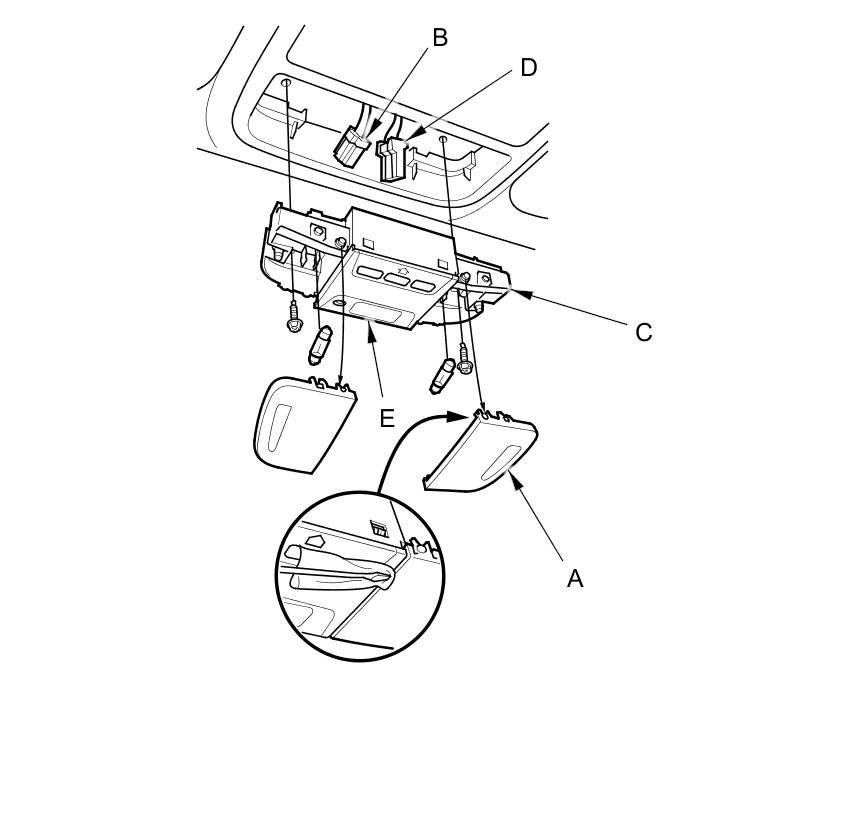
Map Light: Service and Repair




Front Individual Map Light Replacement

With HomeLink Remote Control System

1. Carefully pry off the lens (A) with a small screwdriver.









2. Remove the two mounting screws.

3. Disconnect the 3P connector (B) from the housing (C).

4. Disconnect the 10P connector (D) from the ambient light (E).

5. Install the light in the reverse order of removal.

Without HomeLink Remote Control System

1. Carefully pry off the lens (A) with a small screwdriver.









2. Remove the two mounting screws.

3. Disconnect the 3P connector (B) from the housing (C).

4. Install the light in the reverse order of removal.