Operation CHARM: Car repair manuals for everyone.
Manuals through 2025 now available!

Our trusted friends have launched a new website named LEMON, which has newer manuals. It also contains all the CHARM manuals.

LEMON is the spiritual successor to CHARM, I recommend you try it!

Link: lemon-manuals.la or lemon-manuals.org.ua

(Some people have issue connecting. LEMON is investigating. For now, use Firefox or change your DNS server)

Or, hide this message: temporarily or permanently

Fuel Line Coupler: Service Precautions




Fuel Line/Quick-Connect Fitting Precautions

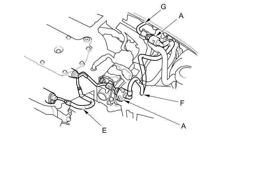
The fuel line/quick-connect fittings (A, B, C, and D) connect the fuel joint hose (E) to the fuel feed hose (F), the fuel feed hose to the fuel line (G), the fuel line (H) to the fuel tank unit (I) and the fuel vapor line (J) to the EVAP canister (K). When removing or installing the fuel feed hose, the fuel tank unit, or the fuel tank, or when disconnecting/connecting the quick-connect fittings, pay attention to the following:

- The fuel feed hoses, the fuel line, and the quick-connect fittings are not heat-resistant; be careful not to damage them during welding or other heat-generating procedures.
- The fuel feed hoses, the fuel line, and the quick-connect fittings are not acid-proof; do not touch them with a shop towel that was used for wiping battery electrolyte. Replace them if they come in contact with electrolyte or something similar.
- When connecting or disconnecting the fuel feed hoses, the fuel line, and the quick-connect fittings, be careful not to bend or twist them excessively. Replace them if they are damaged.













A disconnected quick-connect fitting can be reconnected, but the retainer on the mating line cannot be reused once it has been removed from the line. Replace the retainer when:

- replacing the fuel rail.
- replacing the fuel feed line.
- replacing the fuel pump.
- replacing the fuel filter.
- replacing the fuel gauge sending unit.
- replacing the EVAP purge line.
- replacing the EVAP canister.
- it has been removed from the line.
- it is damaged.

NOTE: When you replace a retainer, use the same size and manufacturer as the original retainer.