Operation CHARM: Car repair manuals for everyone.
Manuals through 2025 now available!

Our trusted friends have launched a new website named LEMON, which has newer manuals. It also contains all the CHARM manuals.

LEMON is the spiritual successor to CHARM, I recommend you try it!

Link: lemon-manuals.la or lemon-manuals.org.ua

(Some people have issue connecting. LEMON is investigating. For now, use Firefox or change your DNS server)

Or, hide this message: temporarily or permanently

Torque & Sequence




Cylinder Head

Torque the cylinder head bolts in sequence to 30 Nm (3.1 kg-m, 22 lb-ft) using a beam-type torque wrench. When using a preset click-type torque wrench, be sure to torque slowly and do not over tighten. If a bolt makes any noise while you are torquing it, loosen the bolt and retighten it from the first step.

FRONT






REAR






After torquing, tighten all cylinder head bolts in two steps (90 ° per step) using the sequence shown in step 11. If you are using a new cylinder head bolt, tighten the bolt an extra 90 °.

NOTE: Remove the cylinder head bolt if you tightened it beyond the specified angle, and go back to step 7 of the procedure. Do not loosen it back to the specified angle.






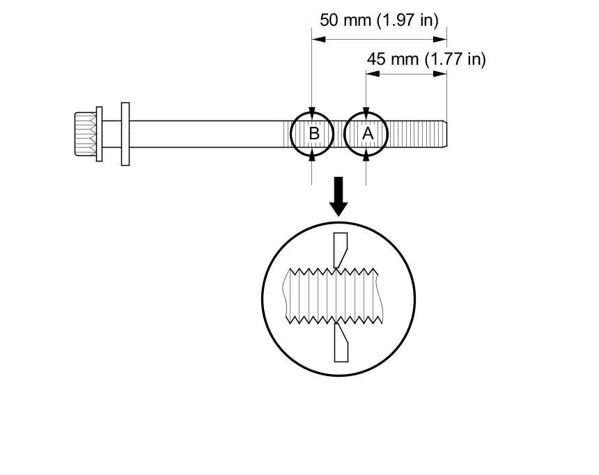
Bolt Re-Usability

Measure the diameter of each cylinder head bolt at point A and point B.






If either diameter is less than 10.6 mm (0.417 in), replace the cylinder head bolt.

Camshaft Bearing Cap Torque & Sequence




Front

Tighten each bolt two turns at a time in the sequence shown to ensure that the rockers do not bind on the valves.














Rear

Tighten each bolt two turns at a time in the sequence shown to ensure that the rockers do not bind on the valves.














Intake Manifold Specifications

Exhaust Manifold Specifications

Camshaft Gear/Sprocket Specifications