Operation CHARM: Car repair manuals for everyone.
Manuals through 2025 now available!

Our trusted friends have launched a new website named LEMON, which has newer manuals. It also contains all the CHARM manuals.

LEMON is the spiritual successor to CHARM, I recommend you try it!

Link: lemon-manuals.la or lemon-manuals.org.ua

(Some people have issue connecting. LEMON is investigating. For now, use Firefox or change your DNS server)

Or, hide this message: temporarily or permanently

A/T System Description - Electronic Control System




A/T System Description - Electronic Control System

Electronic Control System

Electronic Control

The electronic control system consists of the PCM, sensors, and seven solenoid valves. Shifting and lock-up are electronically controlled for comfortable driving under all conditions.

Functional Diagram

The PCM receives input signals from the sensors, switches, and other control units, processes data, and outputs signals for the engine control system and A/T control system. The A/T control system includes shift control, clutch pressure control, and lock-up control. The PCM switches the shift solenoid valves and A/T clutch pressure control solenoid valves ON and OFF to control gear selection and torque converter clutch lock-up.






Shift Control

The PCM instantly determines which gear should be selected by various signals sent from sensors and switches, and it actuates shift solenoid valves A, B, C, and D to control gear selection.

There are two types of shift solenoid valves:

- Shift solenoid valves A and D are normally closed (ON-OPEN/OFF-CLOSE); The normally closed shift solenoid valve port open to allow ATF to pass through when the PCM turns it ON, and the port closes, blocking fluid flow when turned OFF.
- Shift solenoid valves B and C are normally open (ON-CLOSE/OFF-OPEN); The normally opened shift solenoid valve port closes, blocking ATF from passing through when the PCM turns it ON, and the port opened, allowing fluid flow when turned OFF.

The combination of driving signals to shift solenoid valves A, B, C, and D are shown in the table.






D Position D3 Driving Mode Control

This automatic transmission is equipped with the D3 driving mode in D. D has two modes; general driving mode (shifts gears automatically 1st through 5th), and the D3 driving mode (shifts gears automatically 1st through 3rd). The transmission mode switches by pressing the D3 button on the shift lever knob in D.





In D3 driving mode, the D3 indicator next to the D indicator in the gauge control module comes on. The D3 driving mode is canceled by pressing the D3 button, and the D3 indicator goes off. Also, the D3 driving mode is canceled when the ignition switch is turned to LOCK (0). When the shift lever is moved out of D in the D3 driving mode, the D3 indicator goes off, but the transmission returns to the D3 driving mode when the shift lever is returned to D, and the D3 indicator comes on.






Shift Control - Grade Logic Control

The grade logic control system is used to control shifting in D. The PCM compares actual driving conditions with programmed driving conditions, based on the input from the accelerator pedal position sensor, the engine coolant temperature sensor, the barometric pressure sensor, the brake pedal position switch signal, and the shift lever position signal, to improve shifting control while the vehicle is ascending or descending a slope.






Grade Logic Control: Ascending Control

When the PCM determines that the vehicle is climbing a hill in D, the system extends the engagement area of 2nd gear, 3rd gear, and 4th gear to prevent the transmission from frequently shifting between 2nd and 3rd gears, between 3rd and 4th gears, and between 4th and 5th gears, so the vehicle can run smoothly and have more power when needed.

NOTE: Shift programs stored in the PCM between 2nd and 3rd gears, between 3rd and 4th gears, and between 4th and 5th gears, enable the PCM to automatically select the most suitable gear based on the steepness of the grade.






Grade Logic Control: Descending Control

When the PCM determines that the vehicle is going down a hill in D, the upshift speed from 4th to 5th gear, 3rd to 4th gear, and from 2nd to 3rd (when the throttle is closed) becomes higher than the set speed for flat road driving to extend the 4th gear, 3rd gear, and 2nd gear driving areas. This, in combination with engine braking from the deceleration lock-up, achieves smooth driving when the vehicle is descending. There are three descending modes stored in the PCM with different 4th gear driving areas, 3rd gear driving areas, and 2nd gear driving areas based on the steepness of the grade. When the vehicle is in 5th or 4th gear and the vehicle is decelerating while applying the brakes on a steep hill, the transmission will downshift to a lower gear. When you accelerate, the transmission will then return to a higher gear.






Deceleration Control

When the vehicle goes around a corner and needs to decelerate first and then accelerate, the PCM goes into the deceleration control mode to reduce the number of times the transmission shifts. When the vehicle is decelerating from speeds above 25 mph (40 km/h), the PCM shifts the transmission from 4th to 3rd earlier than normal to cope with upcoming acceleration.

Shift-Hold Control

When negotiating winding roads, the accelerator pedal is suddenly released and the brakes are applied, as is the case when decelerating at the entrance of a corner, Shift-Hold Control keeps the transmission in its current (lower) gear as it negotiates the corner and accelerates out.
When the vehicle is driven aggressively on a winding road, the PCM extends the engagement time of 3rd gear and 4th gear to prevent the transmission from frequently shifting between 3rd, 4th, and 5th gears. This allows the driver to have more control for both acceleration and deceleration.

The PCM monitors the average change in the vehicle speed and accelerator pedal over time. When these values exceed those for normal driving conditions, the upshift from 3rd to 4th gear and 4th to 5th gear is delayed. This gives more control over power, and the engine braking when the driver is driving aggressively around winding roads. The transmission resumes the normal upshift pattern after the PCM determines that normal driving has resumed.






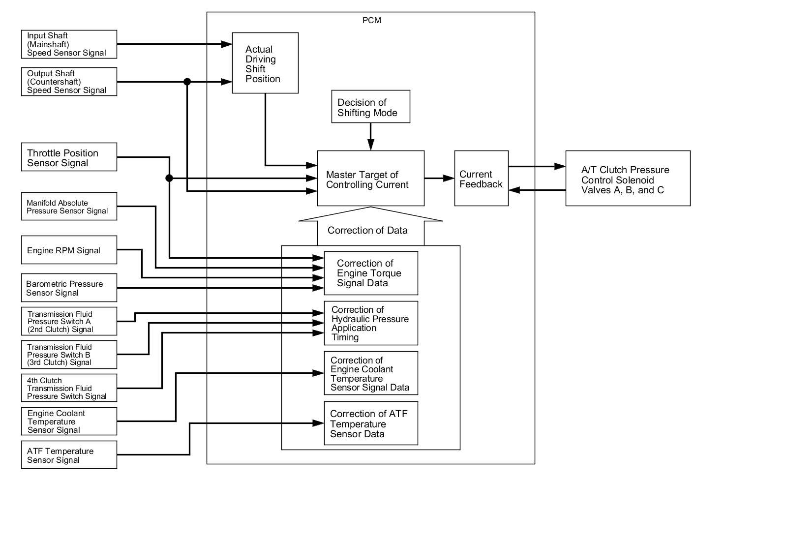
Clutch Pressure Control

The PCM actuates A/T clutch pressure control solenoid valves A, B, and C to control the clutch pressure. When shifting between gears, the clutch pressure regulated by A/T clutch pressure control solenoid valves A, B, and C engages and disengages the clutch smoothly.
The PCM receives input signals from the various sensors and switches, then processes the data, and outputs current to A/T clutch pressure control solenoid valves A, B, and C.






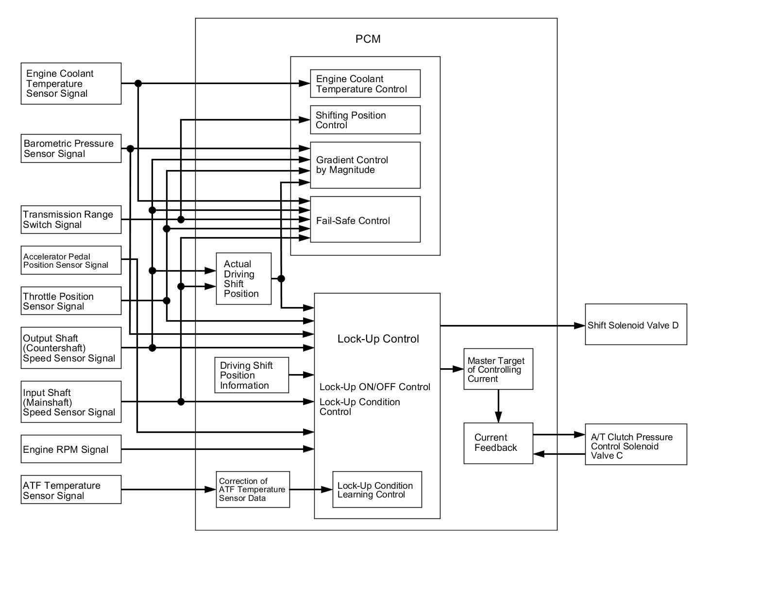
Lock-Up Control

Shift solenoid valve D controls the hydraulic pressure to switch the lock-up shift valve and lock-up ON and OFF. When the PCM actuates shift solenoid valve D and A/T clutch pressure control solenoid valve C ON, and lock-up starts. A/T clutch pressure control solenoid valve C regulates and applies hydraulic pressure to the lock-up control valve to control the amount of lock-up. The lock-up mechanism operates in D (2nd, 3rd, 4th, and 5th gears), and in the D3 driving mode (2nd and 3rd gears).






Shift Lock Control

The shift lock system prevents the shift lever from moving unless certain conditions are met. The shift lock solenoid is normally OFF. After starting the engine in P, the shift lever cannot move to any other position from P because the shift lock stop stops the lock pin. When the brake pedal is pressed and the accelerator pedal is not pressed, the PCM commands the shift lock solenoid ON; the shift lock solenoid plunger in the shift lock solenoid pulls the shift lock stop to release the lock pin. Pulling the shift lever allows the shift lever to move to any other position. When the brake pedal and the accelerator pedal are pressed at the same time, the PCM commands the solenoid OFF and the shift lock system is locked.









When the shift lock system does not operate due to a mechanical or electrical trouble, you can unlock the shift lock temporarily by inserting the ignition key into the shift lock release hole and pressing the shift lock release. When the shift lock release is pressed, the shift lock stop releases the lock pin, and the shift lever can move to any other position.






PCM A/T Control System Electrical Connections





PCM A/T Control System Inputs and Outputs at PCM Connector A (square) (49P)











PCM A/T Control System Inputs and Outputs at PCM Connector B (triangle) (49P)










*1: '09-11 models

*2: '12 model

PCM A/T Control System Inputs and Outputs at PCM Connector C (circle) (49P)










*1: '09-11 models

*2: '12 model

PCM A/T Control System Inputs and Outputs at PCM Connector C (circle) (49P)










*1: '09-11 models

*2: '12 model