Operation CHARM: Car repair manuals for everyone.
Manuals through 2025 now available!

Our trusted friends have launched a new website named LEMON, which has newer manuals. It also contains all the CHARM manuals.

LEMON is the spiritual successor to CHARM, I recommend you try it!

Link: lemon-manuals.la or lemon-manuals.org.ua

(Some people have issue connecting. LEMON is investigating. For now, use Firefox or change your DNS server)

Or, hide this message: temporarily or permanently

2. Automatic Transmission Reassembly




Automatic Transmission Reassembly

Exploded View





Special Tools Required

- Mainshaft Holder 07GAB-PF50101

1. Make sure that the ATF magnet is cleaned and installed in the torque converter housing. Clean and install the ATF magnet, if necessary.

2. Install the main separator plate and the two dowel pins on the torque converter housing. Then install the ATF pump drive gear (A), the driven gear (B), and the ATF pump driven gear shaft (C). Install the ATF pump driven gear with its grooved and chamfered side facing down.





3. Install the torque converter check valve spring and valve in the torque converter housing.

4. Install the main valve body (seven 6 mm bolts and three 8 mm bolts). Make sure the ATF pump drive gear (A) rotates smoothly in the normal operating direction, and the ATF pump driven gear shaft (B) moves smoothly in the axial and normal operating direction.






5. If the ATF pump drive gear and the ATF pump driven gear shaft do not move smoothly, loosen the main valve body bolts. Realign the ATF pump driven gear shaft, and retighten the bolts to the specified torques, then recheck. Failure to align the ATF pump driven gear shaft correctly will result in a seized ATF pump drive gear or ATF pump driven gear shaft.

6. Install the lubrication check valve in the main valve body. Install the lubrication check valve in the direction shown in the exploded view.

7. Install the secondary separator plate and the two dowel pins on the main valve body, and install the secondary valve body (one bolt).

8. Install the two check balls in the secondary valve body.

9. Install the accumulator separator plate and the two dowel pins on the secondary valve body.

10. Position the detent arm on the accumulator separator plate, and install the detent arm shaft into the detent arm through the separator plates to the main valve body.

11. Install the 8 x 62 mm ATF feed pipes in the main valve body, and install the accumulator body (11 bolts).

12. Install the regulator separator plate and the two dowel pins on the main valve body.

13. Install the stator shaft with a new O-ring, and install the regulator valve body (seven bolts).

14. Install the stator shaft stop in the main valve body.

15. Install the ATF strainer with a new O-ring (one bolt).

16. Install the ATF passage pipe (one bolt) in the torque converter housing.

17. Install the intermediary shaft (A) with new sealing rings into the main valve body, and install the 26.5 mm washer (B) on the top of the intermediary shaft.






18. Install the transfer output shaft (C) in the torque converter housing, and install the thrust shim (D) on the top of the transfer output shaft.

19. Install the differential assembly (E) in the torque converter housing.

20. Install the baffle plate (F), and make sure the differential is clear of the baffle plate.

21. Install the baffle plate (G), and make sure the intermediary shaft is clear of the baffle plate.

22. Install the selector control shaft and the park lever link (H).

23. Assemble the mainshaft, the countershaft, and the secondary shaft.

NOTE: Install new sealing rings on the mainshaft and the secondary shaft.

24. Install the thrust needle bearing (A) on the secondary shaft roller bearing in the torque converter housing.





25. Turn the shift fork shaft (B) so the large chamfered hole is facing the fork bolt hole of the shift fork.

26. Engage the shift fork (C) with the reverse selector on the countershaft, and join the mainshaft (D), the countershaft (E), and the secondary shaft (F), then install them in the torque converter housing and the shift fork on the shift fork shaft.

27. Secure the shift fork (A) to the shift fork shaft with the lock bolt and a new lock washer (B), then bend the lock tab of the lock washer against the bolt head.






28. Install the park pawl shaft (A), the pawl spring (B), the park pawl (C), and the park pawl stop (D).






29. Align the control lever pin (A) with the manual valve guide (B).






30. Hook the detent arm spring (A) to the detent arm (B).






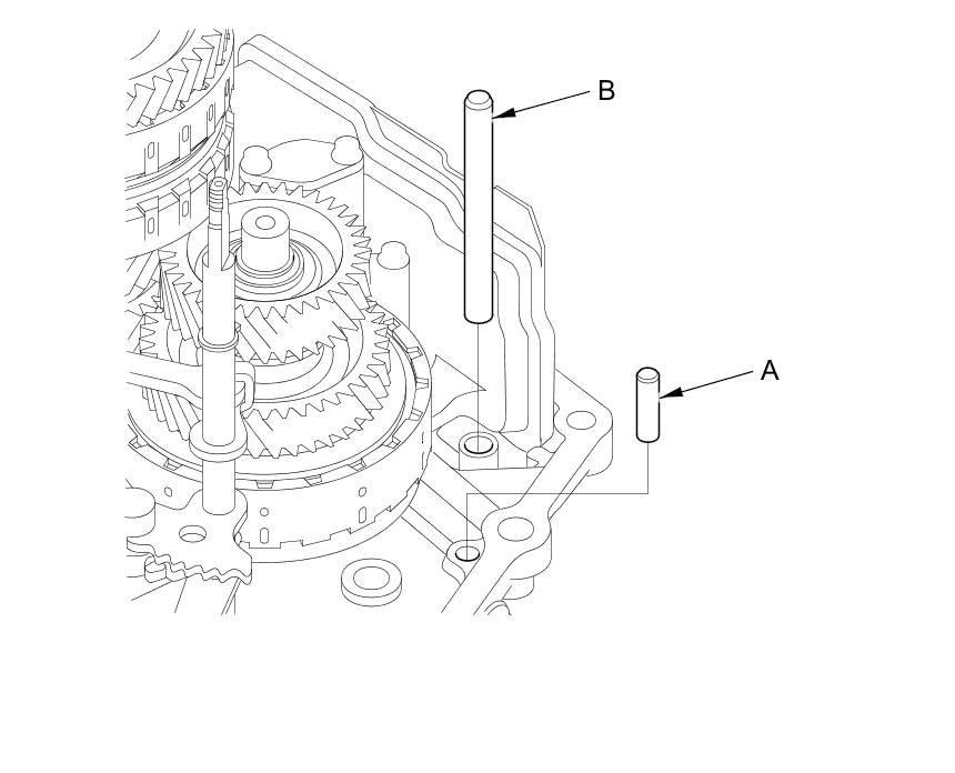
31. Install the 8 x 85 mm ATF feed pipe (A), the 8 x 151.5 mm pipes (B), and the 8 x 40 mm pipe (C) in the accumulator body.






32. Install the 8 x 57.5 mm ATF feed pipe (A) and the 10 x 123 mm pipe (B) in the torque converter housing.






33. Install the two dowel pins (A) and a new gasket (B) on the torque converter housing (C).






34. Place the transmission housing (D) on the torque converter housing.

35. Wrap a screwdriver tip with tape to prevent damage to the reverse idler gear teeth. Engage the reverse idler gear with reverse gears by rotating the idler gear using the screwdriver.






36. Use snap ring pliers to expand the snap ring of the countershaft bearing, then install the transmission housing onto the bearing part-way. Then release the snap ring pliers, and push down on the transmission housing until it bottoms and the snap ring snaps into place in the transmission housing snap ring groove.






37. Install the transmission housing mounting bolts (10 x 1.25 mm) (23 bolts) along with the transmission hanger (A) and the transmission ground terminal bracket (B).






38. Tighten the 21 bolts to 44 Nm (4.5 kg-m, 33 lb-ft) in two or more steps in crisscross pattern.

39. Tighten the two mounting bolts (C) to 39 Nm (4.0 kg-m, 29 lb-ft). Keep the bolts free of grease or oil.

40. Install and tighten the 12 x 1.25 mm bolt (D) to 64 Nm (6.5 kg-m, 47 lb-ft).

41. Install the mainshaft holder onto the mainshaft.






42. Install a new splined washer (A) with the marked side (B) up over the mainshaft (C), and apply the surface of the splined washer and the old locknut (D) with ATF.






43. Install the old locknut, and tighten it to seat the lock washer to 178 Nm (18.2 kg-m, 132 lb-ft), then remove the old locknut.

44. Install a new locknut, and tighten it to 178 Nm (18.2 kg-m, 132 lb-ft), then stake the locknut into the shaft to a depth (A) of 0.7-1.3 mm (0.03-0.05 in) using a 3.5 mm punch (B).






45. Install the end cover (A), the dowel pins (B), and a new O-ring (C).





46. Install the snap ring cap (D) with a new O-ring (E).

47. Apply thread lock sealant to the threads of the sealing plug (F), and install the sealing plug and a new sealing washer (G).

48. Install a new O-ring (E) on the shift solenoid wire harness (F).





49. Route the shift solenoid wire harness through the transmission housing, and install the shift solenoid wire harness.

50. Connect the shift solenoid valve connectors to the shift solenoid valves:

- YEL wire connector to shift solenoid valve A.
- RED wire connector to shift solenoid valve B.
- GRN wire connector to shift solenoid valve C.
- ORN wire connector to shift solenoid valve D.

51. Secure the shift solenoid wire harness with the bolt on the transmission housing.

52. Install the shift solenoid valve cover (A) with the two dowel pins (B) and a new gasket (C), and secure it with the seven bolts.






53. Place a new gasket (C) on the shift solenoid valve cover, then install the 8 x 102.8 mm ATF feed pipe (D) and the 8 x 55.3 mm pipes (E) with the filter end in the transmission housing.





54. Install new O-rings (F) over the ATF feed pipes, and install A/T clutch pressure control solenoid valves A and B.

55. Install the 8 x 53 mm ATF joint pipe (A) with the filter end into its mounting hole (B).






56. Check the height (A) of the 8 x 53 mm ATF joint pipe (B) between the top (C) of the pipe and the solenoid valve body mounting surface (D). The height is about 7 mm (0.3 in). If the height is over 7 mm (0.3 in), install the pipe securely until it stops the accumulator body.






57. Install a new gasket (A) on the transmission housing, and install the 8 x 36 mm ATF joint pipe (B) with the filter end in the transmission housing and the 8 x 25.2 mm ATF pipe (D).






58. Install new O-rings (E) over the ATF joint pipes.

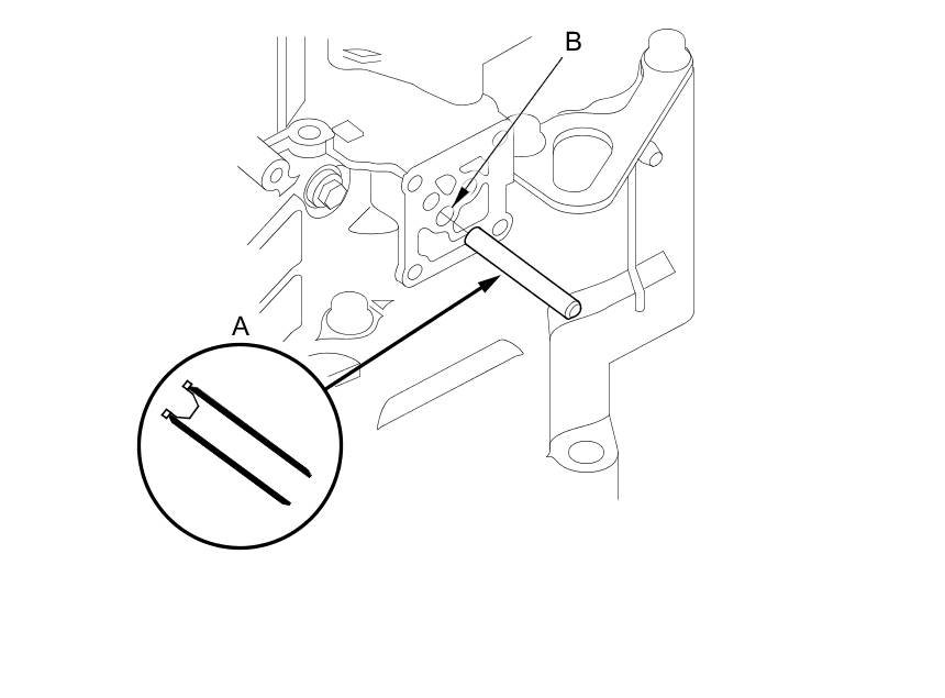
59. Install A/T clutch pressure control solenoid valve C.

60. With a 6.0 mm wrench, turn the selector control shaft fully counterclockwise (view from shaft end) to P. Turn the selector control shaft clockwise two clicks to the N position.






61. Set the transmission range switch (A) to N. The transmission range switch clicks in N position, and the selector control shaft hole (B) aligns with the N positioning line (C).





62. Install the transmission range switch gently over the selector control shaft (D), and install the bolts loosely.

63. Install a new lock washer (A) over the selector control shaft (B) by aligning the indicator tab (C) of the lock washer with the N positioning line (D) on the transmission range switch (E), and install the locknut (F).






64. Push the locknut (A) against the transmission housing to seat the transmission range switch into the selector control shaft (B), and tighten the locknut to 17 Nm (1.7 kg-m, 13 lb-ft) while holding the selector control shaft with a 6 mm wrench (C), then bend the lock tabs (D) against the locknut.





65. Tighten the transmission range switch mounting bolts (E) to 12 Nm (1.2 kg-m, 8.7 lb-ft).

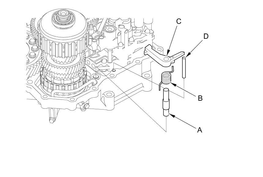
66. Install the selector control lever (A), the spring washer (B), a new lock washer (C), and the locknut (D) on the selector control shaft (E). Bend the lock tab of the lock washer against the locknut.






67. Install a new O-ring (A) on the input shaft (mainshaft) speed sensor (B), and install the input shaft (mainshaft) speed sensor.






68. Install a new O-ring (C) on the output shaft (countershaft) speed sensor (D), and install the output shaft (countershaft) speed sensor and the sensor washer (E).

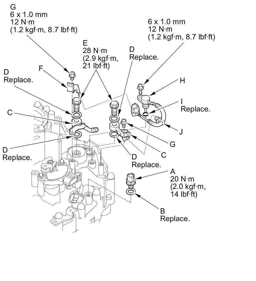
69. Install the 4th clutch transmission fluid pressure switch (A) with a new sealing washer (B). Tighten the switch by gripping the metal part.






70. Install transmission fluid pressure switch B (3rd clutch) (A) with a new sealing washer (B). Tighten the switch by gripping the metal part.






71. Install the ATF cooler lines (C) with new sealing washers (D) and the line bolts (E).

72. Install the connector bracket (F), and secure the ATF line with the 6.0 mm bolts (G) on the transmission housing. Tighten the bolt to 12 Nm (1.2 kg-m, 8.7 lb-ft).

73. Install the ATF temperature sensor (H) with a new O-ring (I). Install the harness clamp (J) on the clamp bracket, and install the connector on the connector bracket.

74. Install transmission fluid pressure switch A (2nd clutch) (A) with a new sealing washer (B). Tighten the switch by the metal part.






75. Install the ATF dipstick guide pipe (A) with a new O-ring (B).





76. Install the ATF dipstick (C) in the guide pipe.