Operation CHARM: Car repair manuals for everyone.
Manuals through 2025 now available!

Our trusted friends have launched a new website named LEMON, which has newer manuals. It also contains all the CHARM manuals.

LEMON is the spiritual successor to CHARM, I recommend you try it!

Link: lemon-manuals.la or lemon-manuals.org.ua

(Some people have issue connecting. LEMON is investigating. For now, use Firefox or change your DNS server)

Or, hide this message: temporarily or permanently

Window Track: Service and Repair




Back Window Glass Run Channel Replacement

NOTE:

- Put on gloves to protect your hands.
- Take care not to bend or scratch the trim or the panels.

1. Remove the back window middle glass Back Window Middle Glass Replacement.

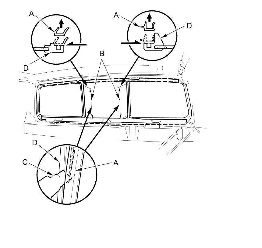
2. Carefully cut the glass run channel (A) on the middle glass areas (B) with a utility knife (C), and then pull out the glass run channel from the top and bottom groove areas of the back window molding (D). Take care not to damage the molding.





3. Check the molding for damage, and replace it if necessary.

4. Scrape out the remaining glass run channels (A) with a knife or similar tool from the grooves (B) in the middle glass areas of the back window molding (C).





5. Clean the molding bonding surface with a shop towel dampened in isopropyl alcohol. After cleaning, keep oil, grease and water from getting on the clean surface.

6. Apply a light coat of primer to the groove areas (A) of the back window molding (B). Install the glass run channel (C) to the top and bottom groove areas of the molding, and then attach the glass run channel to the middle glass areas of the molding with structural adhesive (3M DP8005).





7. Remove the excess adhesive with a shop towel dampened with isopropyl alcohol.

8. Reinstall all removed parts.