Operation CHARM: Car repair manuals for everyone.
Manuals through 2025 now available!

Our trusted friends have launched a new website named LEMON, which has newer manuals. It also contains all the CHARM manuals.

LEMON is the spiritual successor to CHARM, I recommend you try it!

Link: lemon-manuals.la or lemon-manuals.org.ua

(Some people have issue connecting. LEMON is investigating. For now, use Firefox or change your DNS server)

Or, hide this message: temporarily or permanently

Steering Column Accident Damage Inspection

STEERING COLUMN ACCIDENT DAMAGE INSPECTION




- Vehicles involved in accidents involving the following conditions may also have a damaged or misaligned steering column:
- Frame damage
- Major body or sheet metal damage
- Where the steering column has been impacted
- Where supplemental inflatable restraint systems deployed
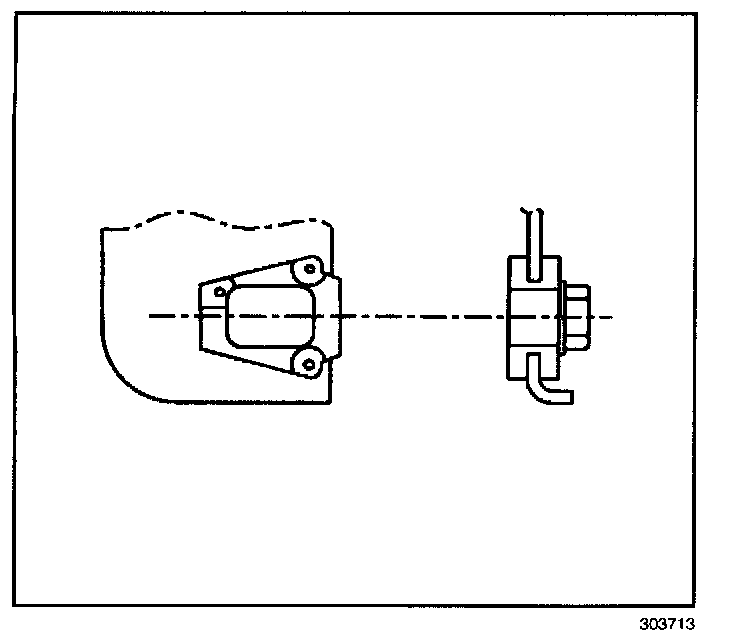
- Inspect the capsules on the steering column bracket assembly. All capsules must be securely seated in the bracket slots and inspected for any loose conditions when pushed or pulled by hand.
- Observe how the bracket is attached to the jacket assembly.
- If the capsules are not securely seated and the bracket is bolted to the jacket assembly, replace only the bracket.
- If the capsules are not securely seated and the bracket is welded to the jacket assembly, replace only the jacket assembly.




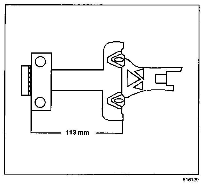
- Inspect for jacket assembly collapse by measuring the distance from the lower edge of the upper jacket to a defined point on the lower jacket. Replace the jacket assembly if the measured dimensions are not within specifications.




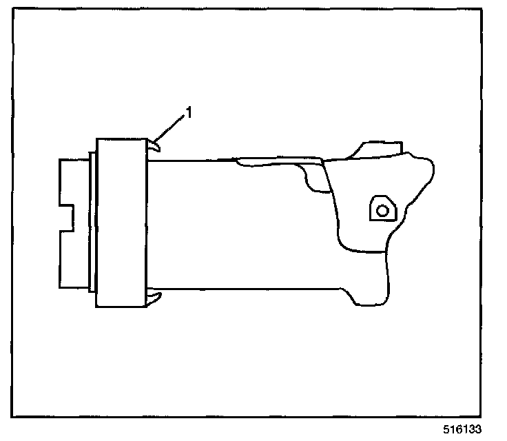
- Inspect for tab (1) breakage on the bearing and adapter assembly.




- Visually inspect the steering shaft for sheared injected plastic. If the steering shaft shows sheared plastic, replace the steering shaft.
- Any frame damage that could cause a bent steering shaft must have the steering shaft runout checked. Using a dial indicator (1) at the lower end of the steering shaft, rotate the steering wheel. The runout must not exceed 1.60 mm (0.06 in).