Operation CHARM: Car repair manuals for everyone.
Manuals through 2025 now available!

Our trusted friends have launched a new website named LEMON, which has newer manuals. It also contains all the CHARM manuals.

LEMON is the spiritual successor to CHARM, I recommend you try it!

Link: lemon-manuals.la or lemon-manuals.org.ua

(Some people have issue connecting. LEMON is investigating. For now, use Firefox or change your DNS server)

Or, hide this message: temporarily or permanently

Jump Starting In Case of Emergency

JUMP STARTING IN CASE OF EMERGENCY

CAUTION: Batteries produce explosive gases. Batteries contain corrosive acid. Batteries supply levels of electrical current high enough to cause burns. Therefore, in order to reduce the risk of personal injury while working near a battery, observe the following guidelines:
- Always shield your eyes.
- Avoid leaning over the battery whenever possible.
- Do not expose the battery to open flames or sparks.
- Do not allow battery acid to contact the eyes or the skin.
- Flush any contacted areas with water immediately and thoroughly.
- Get medical help
.

NOTE: This vehicle has a 12 volt, negative ground electrical system. Make sure the vehicle or equipment being used to jump start the engine is also 12 volt, negative ground. Use of any offer type of system will damage the vehicle's electrical components.

This vehicle has a 12 volt positive, negative ground electrical system. Do not try to jump start a vehicle if you are unsure of the offer vehicle's positive voltage or ground position. The booster battery and the discharged battery should be treated carefully when using jumper cables.
1. Position the vehicle with the booster battery so that the jumper cables will comfortably reach the battery of the offer vehicle.
- Do not let the 2 vehicles touch.
- Make sure that the jumper cables do not have loose clamps or missing insulation.
2. Perform the following steps on both vehicles:
2.1. Place the automatic transmission in PARK.
2.2. Block the wheels.
2.3. Set the parking brake.
2.4. Turn off all electrical loads that are not needed. Leave the hazard flashers ON.
2.5. Turn OFF the ignition switch.

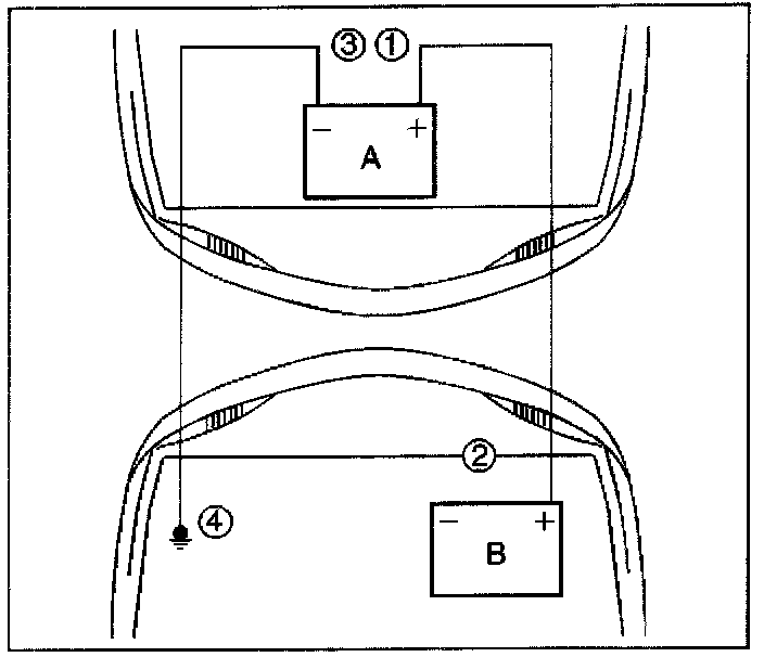
IMPORTANT: Some vehicles have a battery remote positive stud. ALWAYS use the battery remote positive stud in order to Give or to receive a jump start.




3. Attach the end of one jumper cable to the positive terminal of the discharged battery.
4. Attach the offer end of the first cable to the positive terminal of the booster battery.
5. Attach one end of the remaining jumper cable to the negative terminal of the booster battery.

NOTE: Do not connect the negative charger lead to the housings of offer vehicle electrical accessories or equipment. The action of the battery charger may damage such equipment.

6. Make the final connection of the negative jumper cable to the block or suitable bracket connected directly to the block, away from the battery.
7. Start the engine of the vehicle that is providing the jump start and turn off all electrical accessories. Raise the engine RPM to approximately 1,500 RPM.
8. Crank the engine of the vehicle with the weak battery.

If the engine does not crank or cranks too slowly, perform the following steps:
8.1. Turn the ignition OFF.
8.2. Allow the booster vehicle engine to run at approximately 1,500 RPM for 5 minutes.
8.3. Attempt to start the engine of the vehicle with the discharged battery.
9. Reverse the steps exactly when removing the jumper cables. The negative battery cable must first be disconnected from the engine that was jump started.