Operation CHARM: Car repair manuals for everyone.
Manuals through 2025 now available!

Our trusted friends have launched a new website named LEMON, which has newer manuals. It also contains all the CHARM manuals.

LEMON is the spiritual successor to CHARM, I recommend you try it!

Link: lemon-manuals.la or lemon-manuals.org.ua

(Some people have issue connecting. LEMON is investigating. For now, use Firefox or change your DNS server)

Or, hide this message: temporarily or permanently

Transfer Case Assemble

TRANSFER CASE ASSEMBLE

TOOLS REQUIRED
- J 3289-20 Holding Fixture
- J 8092 Universal Driver Handle
- J 22912-01 Split Plate Bearing Puller
- J 36850 Transjel Lubricant
- J 42176 Universal Driver Handle Non-Threaded
- J 42738 Seal Installer
- J 43484 Front Output Shaft Seal Installer
- J 45756 Rear Output Shaft Seal Installer
- J 45757 Mainshaft Support Bushing and Bearing Installer
- J 45759 Assembly Fixture

NOTE: Refer to Fastener Notice in Service Precautions.




1. If removed, install the transfer case mounting studs.

Tighten
Tighten the mounting studs to 31 N.m (23 lb ft).




2. Using the adapter studs, attach the J 45759 to the front transfer case. All of the assembly procedures can be performed with the case mounted to the J 45759.
3. Install the J 45759 (2) into the J 3289-20 (1) and secure with the pivot pin.




4. Install the seal for the shift detent lever shaft. The seal will install using hand pressure. The spring side, or opened side, of the seal faces outward.




5. If the vent is removed, apply pipe sealant GM P/N 12346004 (Canadian P/N 10953480) to the threads on the vent.
6. Install the vent.

Tighten
Tighten the vent to 6 N.m (53 lb in).




7. Install the annulus gear in the front case half.




8. Install a NEW retaining ring for the annulus gear.

IMPORTANT: Lubricate all of the bearings and bearing journals with transfer case fluid during installation.




9. Install the input shaft bearing in the front case half.
- Use a hammer and a brass drift only on the outer bearing race.
- Ensure the bearing is kept square to the bore while installing.




10. Install the front bearing for the front output shaft in the front case half.
- Use a hammer and a brass drift only on the outer bearing race.
- Ensure the bearing is kept square to the bore while installing.




11. If it is a new shaft, or if the cup plug was removed, apply threadlocker GM P/N 12345382 (Canadian P/N 10953489) to the cup plug.
12. Using a suitable driver, install the cup plug in the front output shaft. Install the cup plug 1 mm (0.039 in) from flush with the end of the shaft.




13. Install the front output shaft assembly.




14. Using the J 42176 (1) and the J 45757 (2), install the mainshaft front support bearing in the high/low planetary carrier assembly.




15. Install the high/low planetary carrier.




16. Lubricate the input shaft thrust washer with J 36850 or equivalent.
17. Install the input shaft thrust washer.




18. Install new shift fork pads if removed.
19. Install the range shift sleeve in the range fork.




20. Align the gear teeth on the range shift sleeve to the planetary carrier.
21. Install the range shift fork and the range shift sleeve.




22. Install the mainshaft.




23. Assemble the shift detent lever assembly.
23.1. Mount the spring (3), by one tab, in a vise.
23.2. Install the sleeve (2) in the spring (3).
23.3. Install the shaft (4) partially in the spring (3).
23.4. Install the shift detent lever cam (1) on the shaft (4).
23.5. Rotate the spring (3) and install the tab on the shift detent lever cam between the spring tabs.
23.6. Finish installing the shaft, aligning the lever on the shaft between the spring tabs.

NOTE: In order to prevent component damage, properly remove and install the shift detent lever shaft assembly. When removing or installing the shift detent lever shaft assembly, keep the shaft straight and do not tilt. Tilting the shift detent lever shaft assembly in the transfer case housing will break the tip on the end of the shaft.




24. Install the shift detent lever assembly.
24.1. Install the shift detent lever assembly straight, with the tip into the hole in the case.
24.2. Rotate the high/low shift fork to position the shift fork roller in the shift detent lever slot.




25. Install the shift fork shaft.




26. Connect the oil pump hose to the oil pump screen.
27. Connect the oil pump hose to the oil pump.




28. Install the oil pump assembly with the hose and screen.
28.1. Align the square boss of the oil pump gear with the flat area on the mainshaft.
28.2. Install the oil pump in the slot of the front case half. Ensue the wear clip is on the oil pump.
28.3. Install the oil pump screen in the front case half.




29. Install the magnet.




30. Install the inner lockup hub.




31. If necessary, assemble the lockup shift assembly.
31.1. Install the spring in the sleeve.
31.2. Install the hub, with the external tabs, towards the spring.
31.3. Install the retainer ring in the sleeve.




32. Install the lockup mode shift fork to the lockup shift assembly.




33. Install the lockup shift assembly and lockup mode shift fork.
- Slide the shift fork over the shift fork shaft.
- Turn the mainshaft to align the slot on the inner lockup hub with the large tooth area on the lockup shift assembly hub.




34. Lubricate the drive sprocket thrust washer with J 36850 or equivalent.
35. Install the drive sprocket thrust washer.

IMPORTANT: If using the chain and sprockets again, ensure to align the marks of the drive chain and sprockets.




36. Install the drive chain and sprockets.
- The blue link on the chain faces up.
- Align the drive sprocket engagement teeth with the lockup shift assembly hub teeth.




37. Install the front sun gear.

IMPORTANT: The planetary differential gears are timed to the sun gears. If the gears are not timed properly, the differential will not rotate without binding.




38. With the rear side of the planetary differential facing up, align the marks on the pinion gears. Position the alignment marks with an area on the planetary differential that can be reference for all gears.




39. Install the planetary differential assembly.
- Do not rotate the planetary differential pinion gears when installing.
- Ensure the alignment marks are still in position.
- The single row pinion gears face rearward, or up. The double row pinion gears face forward, or down.







40. Lubricate the rear output shaft thrust washer with J36850 or equivalent.
41. Install the thrust washer.




42. Install the rear sun gear.
- The shoulder side of the gear faces up.
- Do not rotate the differential pinion gears.




43. Temporarily install the rear output shaft to the planetary differential and the rear sun gear.
44. Rotate the rear output shaft three or four revolutions to rotate the planetary differential pinion gears. If properly aligned, the pinion gears will rotate freely, there will be no binding.
45. Remove the rear output shaft without disturbing the rear sun gear.




46. Install the shift fork shaft spring.




47. Install the front output shaft rear bearing in the rear case half.
- Use a hammer and a brass drift only on the outer bearing race.
- Ensure the bearing is kept square to the bore while installing.




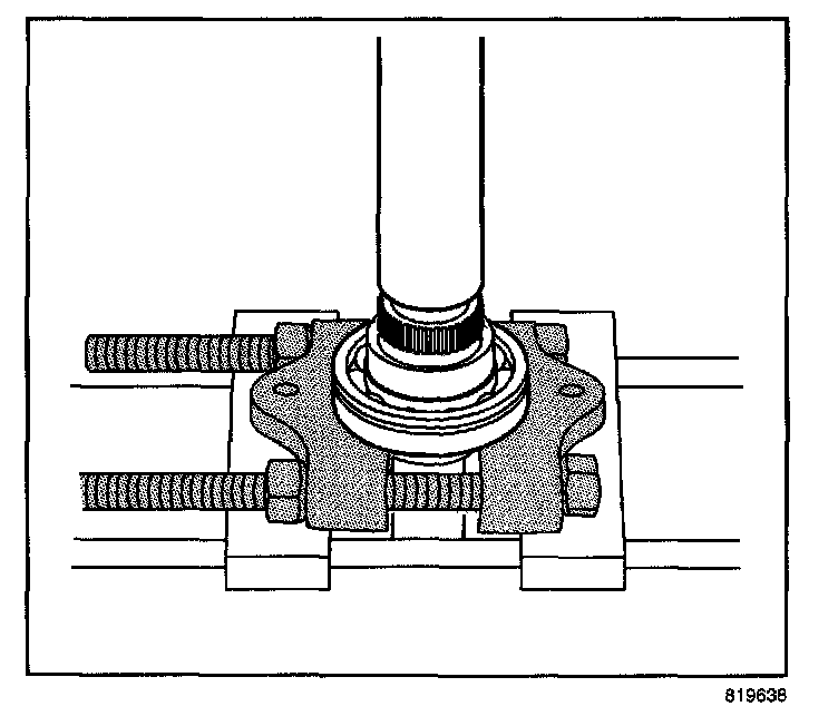
48. Using a hydraulic press and the J 22912-01, install the rear output shaft bearing.
- The retaining ring groove on the bearing goes toward the input end or forward.
- Use a suitable press plate on the end of the rear output shaft.
- Ensure the bearing is supported on the inner race.




49. Install a NEW retaining ring for the rear output shaft bearing.




50. Using a hydraulic press, install a NEW speed reluctor wheel.




51. Using J 42176 (1) and J 45757 (2), install the mainshaft rear support bushing in the rear output shaft.




52. Install the rear output shaft in the rear case half.
52.1. Spread the rear output shaft rear bearing outer retaining ring.
52.2. Install the rear output shaft bearing outer retaining ring until it is seated in the bearing groove.

IMPORTANT: - Ensure that both the sealing surfaces on the front and rear case halves are free of dirt, oil, and cleaning solvent.
- Ensure the locating pins are installed in the case halves.




53. Install the locating pins In the front case and rear case half, if necessary.
54. Apply a 3.175 mm (1/8 in) bead of RTV Sealant GM P/N 12345739 (Canadian P/N 10953541) or equivalent to the mating surfaces of the front case half.




55. Lower the rear case half into place.
The rear output may require rotating to align the teeth with the planetary differential.

NOTE: This component is made of magnesium. Proper assembly is required to prevent damage. Ensure the magnesium transfer case housings are properly insulated from all external steel components, or galvanic corrosion will occur. New nylon coated case bolts and aluminum washers must be used. Use only aluminum fill and drain plugs. Use only aluminum brackets under the case bolts. Ensure new seals are installed that have a rubber insulated outside diameter and have no tears or cuts. Extensive damage will occur if there is galvanic corrosion between the magnesium and steel components.




56. Inspect the nylon coating on the case bolts for cuts or tears.
57. Replace the case bolts if there is any damage to the nylon coating.

IMPORTANT: The case bolts are self-tapping. They must be hand started. Do not use power assisted tools to install the bolts.

58. Install the case bolts with washers, and the brackets.

Tighten
Tighten the case bolts to 21 N.m (15 lb ft).




59. Install the vehicle speed sensor with a new O-ring seal.

Tighten
Tighten the speed sensor to 17 N.m (13 lb ft).




60. Apply a 3.175 mm (1/8 in) bead of RTV Sealant GM P/N 12345739 (Canadian P/N 10953541) or equivalent to the sealing surface of the encoder motor assembly.
61. Install the encoder motor assembly. Rotate the shift detent lever to align to the encoder motor.
62. Loosely install the encoder motor mounting bolts.
63. Loosely install the encoder motor bracket bolt.

Tighten
Tighten the encoder motor mounting bolts to 10 N.m (89 lb in).
Tighten the encoder motor bracket bolt to 10 N.m (89 lb in).




64. Using J 45756, install the rear output shaft seal.




65. Apply pipe sealant GM P/N 12346004 (Canadian P/N 10953480) to the threads on the drain plug and fill plug.
66. Install the drain plug and the till plug.

Tighten
Tighten the drain plug and fill plug to 25 N.m (18 lb ft).




67. Using the J43484 (2) and the J8092 (1), install the front output shaft seal.




68. Using the J 42738, install the front input shaft seal.
69. Remove the transfer case from the J 45759