Operation CHARM: Car repair manuals for everyone.
Manuals through 2025 now available!

Our trusted friends have launched a new website named LEMON, which has newer manuals. It also contains all the CHARM manuals.

LEMON is the spiritual successor to CHARM, I recommend you try it!

Link: lemon-manuals.la or lemon-manuals.org.ua

(Some people have issue connecting. LEMON is investigating. For now, use Firefox or change your DNS server)

Or, hide this message: temporarily or permanently

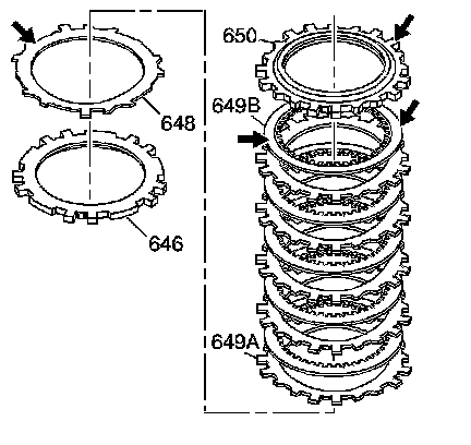
Forward Clutch Assembly Assemble




Forward Clutch Assembly Assemble




1. Inspect the forward clutch waved plate (648), the apply plate (646), the fiber plate assemblies (649B), the steel plates (649A) and the selective backing plate (650) for the following conditions:

* Damaged tangs
* Delamination
* Excessive wear
* Heat damage
* Flatness
* Surface finish damage
* Burrs and nicks




2. Install the forward clutch apply plate (646).
3. Install the forward clutch waved plate (648).
4. Install the forward clutch steel plates (649A) and alternate with the fiber plate assemblies (649B).
5. Install the forward clutch selective backing plate (650).
6. Install the forward clutch backing plate retainer ring (651).