Operation CHARM: Car repair manuals for everyone.
Manuals through 2025 now available!

Our trusted friends have launched a new website named LEMON, which has newer manuals. It also contains all the CHARM manuals.

LEMON is the spiritual successor to CHARM, I recommend you try it!

Link: lemon-manuals.la or lemon-manuals.org.ua

(Some people have issue connecting. LEMON is investigating. For now, use Firefox or change your DNS server)

Or, hide this message: temporarily or permanently

Input Housing and Shaft Assembly Assemble




Input Housing and Shaft Assembly Assemble

Special Tools
* J 23327-1 - Forward Clutch Spring Compressor (Bridge)
* J 23456 - Booster and Clutch Pack Compressor
* J 25018-A - Clutch Spring Compressor Adapter
* J 26744-A - Seal Installer
* J 29882 - Overrun Clutch Seal Protector
* J 29883 - Forward Clutch Seal Protector




1. Install a new input to forward clutch housing O-ring seal (622).




2. Inspect the 3rd and 4th clutch piston (623) for the following conditions:

* Porosity or damage
* Seal damage

3. Install the 3rd and 4th clutch piston (623) into the input housing.




4. Inspect the forward clutch housing (628) for the following conditions:

* Proper check ball operation
* Damage or distortion
* Burrs in the seal areas
* Cracks




5. Inspect the forward clutch piston for the following conditions:

* Porosity or damage
* Seal damage
* Apply leg damage




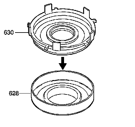
6. Install the forward clutch piston (630) into the forward clutch housing (628).




7. Install the 3rd and 4th spring assembly (626) into the 3rd and 4th clutch apply ring (625).

Note: The forward clutch piston (630) apply legs must be indexed with the 3rd and 4th clutch apply ring (625) legs.

8. Install the forward clutch housing (628) and forward clutch piston (630) into the 3rd and 4th apply ring (625).




9. Install the J 29883 - seal protector on the input housing.
10. Install the 3rd and 4th clutch apply ring and the forward housing and piston assembly using the following procedure:

* Hold the assembly by the 3rd and 4th clutch apply ring (625) legs during installation.
* Do not let the forward clutch piston (630) separate from the forward clutch housing.
* Firmly seat the assembly.

11. Remove the J 29883 - seal protector from the input housing.




12. Inspect the overrun clutch piston (632) for the following conditions:

* Porosity or damage
* Seal damage
* Overrun clutch ball proper operation




13. Install the J 29882 - seal protector on the input housing.
14. Install the overrun clutch piston (632) into the input housing.
15. Remove the J 29882 - seal protector from the input housing.




16. Using the J 26744-A - seal installer , carefully install the overrun clutch piston outer seal.




17. Install the overrun clutch spring (634) assembly.




18. Install the J 23327-1 - spring compressor (bridge) and the J 25018-A - spring compressor
adapter , and compress the overrun clutch spring assembly using J 23456 - clutch pack compressor.
19. Install the overrun clutch spring retainer snap ring (635).
20. Remove the J 23327-1 - spring compressor (bridge) and the J 25018-A - spring compressor adapter.