Operation CHARM: Car repair manuals for everyone.
Manuals through 2025 now available!

Our trusted friends have launched a new website named LEMON, which has newer manuals. It also contains all the CHARM manuals.

LEMON is the spiritual successor to CHARM, I recommend you try it!

Link: lemon-manuals.la or lemon-manuals.org.ua

(Some people have issue connecting. LEMON is investigating. For now, use Firefox or change your DNS server)

Or, hide this message: temporarily or permanently

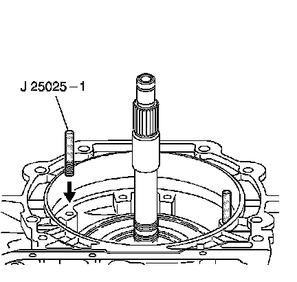
Oil Pump Assembly Installation




Oil Pump Assembly Installation

Special Tools
* J 25025-1 - Dial Indicator Mounting Post
* J 36850 - Transjel Lubricant
* J 39855 - Stator Shaft Seal Installer




1. Install the J 25025-1 - mounting post.




2. Remove the J 39855-2 which is part of kit J 39855 - seal installer.




3. Install the pump to drum thrust washer (601).
4. Use J 36850 - transjel lubricant or equivalent to retain the washer to the pump.




5. Install the pump cover to case gasket (6).

Note: The oil pump to case seal is installed after the oil pump assembly, during torque converter installation. Refer to Converter Housing Installation (Converter Housing Installation).

6. Install the oil pump assembly (4) into the case and align all holes properly.





Caution: Refer to Fastener Caution (Fastener Caution).

Note: The pump to case bolt O-ring seals (3) must be replaced.

7. Install the pump to case bolts (2) with new O-ring seals (3). Tighten the bolts to 29 Nm (21 lb ft).
8. Remove the J 25025-1 - mounting post.




9. Install the remaining pump to case bolts (2) and O-ring seals (3), in the holes where the J 25025-1 - mounting post were. Tighten the bolts to 29 Nm (21 lb ft).