Operation CHARM: Car repair manuals for everyone.
Manuals through 2025 now available!

Our trusted friends have launched a new website named LEMON, which has newer manuals. It also contains all the CHARM manuals.

LEMON is the spiritual successor to CHARM, I recommend you try it!

Link: lemon-manuals.la or lemon-manuals.org.ua

(Some people have issue connecting. LEMON is investigating. For now, use Firefox or change your DNS server)

Or, hide this message: temporarily or permanently

Condenser Fan: Testing and Inspection

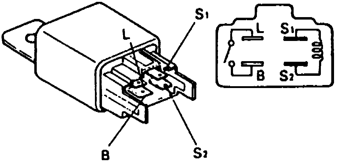
Fig. 6 Condenser Fan Relay Terminal Identification:






1. Using a volt-ohm meter, ensure there is no continuity between terminals "L" and "B", Fig. 6.
2. Apply 12 volts across terminals S1 and S2, then check for continuity between terminals "L" and "B". Replace as necessary.