Operation CHARM: Car repair manuals for everyone.
Manuals through 2025 now available!

Our trusted friends have launched a new website named LEMON, which has newer manuals. It also contains all the CHARM manuals.

LEMON is the spiritual successor to CHARM, I recommend you try it!

Link: lemon-manuals.la or lemon-manuals.org.ua

(Some people have issue connecting. LEMON is investigating. For now, use Firefox or change your DNS server)

Or, hide this message: temporarily or permanently

Timing Belt: Service and Repair






COMPONENTS

DISASSEMBLY






CAUTION: THE 2.0 L IS AN INTERFERENCE ENGINE

1. Remove the crankshaft pulley, engine coolant pump pulley and drive belt.
2. Remove the timing belt cover.
3. Turn the crankshaft clockwise and align the timing marks to bring the No. 1 cylinder to compression top-dead-center position.

At this time the timing marks of the camshaft sprocket and the upper surface of the cylinder head should coincide, and the dowel pin of the camshaft sprocket should be at the upper side.

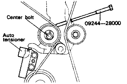
Remove the auto tensioner.

CAUTION: Rotate the crankshaft clockwise.






4. Remove the timing belt.

NOTE: If the timing belt is reused, make an arrow mark indicating the turning direction (or the front of the engine) to make sure that the belt is reinstalled in the same direction as before.






5. Remove the camshaft sprockets.

NOTE: Be careful not to damage the cylinder head with the wrench.






6. When the oil pump sprocket nut is removed, first remove the plug at the left side of the cylinder block and insert a screwdriver to keep the left counter balance shaft in position. Use a screwdriver with a shaft measuring 8 mm (0.3inch) in diameter which can be inserted being more than 60 mm (2.36 inch)






7. Remove the oil pump sprocket retaining nut and the oil pump sprocket.
8. Loosen the right counter balance shaft sprocket mounting bolt until it can be loosened by hand.
9. Next, remove tensioner "B" and timing belt "B."

CAUTION: After timing belt "B" has been removed, do not attempt to loosen the bolt while holding sprocket with pliers, etc..

10. Remove the crankshaft sprocket "B" from crankshaft.

INSPECTION

Sprockets






1. Check the camshaft sprocket, crankshaft sprocket, tensioner pulley, and idler pulley for abnormal wear, cracks, or damage. Replace as necessary.
2. Inspect the tensioner pulley and the idler pulley for easy and smooth pulley rotation and check for play or noise. Replace as necessary.

Auto Tensioner






1. Check the auto tensioner for leaks and replace as necessary.
2. Check the rod end for wear or damage and replace as necessary.






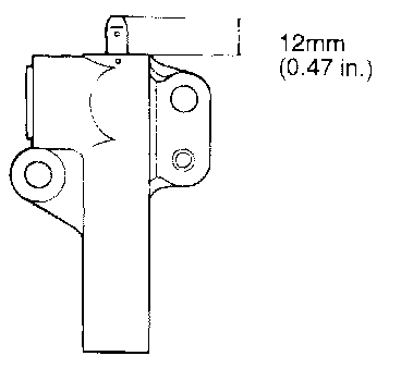
3. Measure the rod protrusion. If it is out of specification, replace the auto tensioner.

Rod protrusion: 12 mm (0.47 inch)











4. Using a vise soft jaw, push in the auto tensioner rod. If the rod can be easily retracted, replace the auto tensioner. You should feel a fair amount of resistance when pushing the rod inch

CAUTION:
1) Clamp the auto tensioner in the vise so that it is level. Use soft jaws in the vise to avoid damaging the auto tensioner.
2) If the plug is at the bottom of the auto tensioner, insert a plain washer to prevent directly contacting the plug with the vise.

Timing Belt






1. Check the belt for oil or dust deposits. Replace, if necessary. Small deposits should be wiped away with a dry cloth or paper. Do not clean with solvent.











2. When the engine is overhauled or belt tension adjusted, carefully check the belt. If any of the following flaws are evident, replace the belt.

REASSEMBLY






1. Install crankshaft sprocket "B" into crankshaft.

CAUTION: Pay special attention to the direction of the flange. If it is installed in the wrong direction, a broken belt could result.






2. Lightly apply engine oil to the outer surface of spacer, and then install spacer to the right counter balance shaft. Be sure to install in the direction shown in illustration.
3. Install counterbalance shaft sprocket onto right counterbalance shaft, then finger tighten flange bolt.






4. Align timing mark on each sprocket with corresponding timing mark on the front case.






5. When timing belt "B" is installed, make certain that tension side has no slack.

Install tensioner "B" with center of pulley located on the left side of mounting bolt and with pulley flange directed toward front of engine.

Align timing mark on the right counter balance shaft sprocket with the timing mark on the front case.






6. Lift tensioner "B" to tighten timing belt "B" so that its tension side will be pulled tight. In this condition, tighten bolt to secure tensioner "B". When bolt is tightened, use care to prevent shaft from turning together. If shaft is turned together, belt will be overtightened.






7. Check to ensure that timing marks are in alignment.
8. Check to ensure that when center of span on the tension side is depressed with index finger in direction of arrow, deflection of belt is within specification.

Standard value:
Belt deflection: 5 - 7 mm (0.2 - 0.3 inch)






9. Install flange and crankshaft sprocket onto crankshaft. Be sure to install in the direction shown in illustration.

CAUTION: Pay attention to direction of flange. If it is installed in wrong direction, a broken belt could result.






10. Insert screwdriver through plug hole in left side of cylinder block to keep shaft in position.






11. Install the oil pump sprocket, and tighten the nut to the specified torque.






12. Install the camshaft sprocket and tighten the bolt to the specified torque.

Tightening torque:
Camshaft sprocket: 80 - 100 Nm (kgs.cm, 58 - 72 ft. lbs.)











13. Install the auto tensioner.

CAUTION: Leave the wire installed in the auto tensioner.

NOTE: If the auto tensioner rod is in its fully extended position, reset it as follows.
1) Clamp it in a vise with soft jaws in a level position. Apply a plain washer if there is a plug at the bottom of the auto tensioner.
2) Push in the rod slowly with the vise until the set hole "A" in the rod is aligned with set hole "B" in the cylinder.











14. Install the tensioner pulley onto the tensioner arm. Locate the pinhole in the tensioner pulley shaft to the left of the center bolt, then finger tighten the center bolt.

CAUTION: Leave the wire installed in the auto tensioner.







15. Turn the two sprockets so that their dowel pins are on top. Then, align the timing marks facing each other with the top surface of the cylinder head.

NOTE: The same camshaft sprocket is used for the intake and exhaust camshafts and is provided with two timing marks. When the sprocket is mounted on the exhaust camshaft, use the timing mark on the right with the dowel pin hole on top. For the intake camshaft sprocket, use the one on the left with the dowel pin hole on top.






16. Align the crankshaft sprocket timing marks.






17. Align the oil pump sprocket timing marks.






18. Install the timing belt around the tensioner pulley and crankshaft sprocket. Secure the timing belt onto the tensioner pulley with your left hand.
19. Pulling the belt with your right hand, install it around the oil pump sprocket.
20. Install the belt around the idler pulley.
21. Install it around the intake camshaft sprocket.
22. Turn the exhaust camshaft sprocket one tooth clockwise to align its timing mark with the cylinder head top surface [see illustration in step 15]. Then, pulling the belt with both hands, install it around the exhaust camshaft sprocket.






23. Gently raise the tensioner pulley as shown by the arrow, so that the belt does not sag. Temporarily tighten the center bolt.
24. After turning the crankshaft 1/4 turn counterclockwise, turn it clockwise to move the No. 1 cylinder to top dead center.
25. Loosen the center bolt, then, as shown in the illustration, attach the special tool and a torque wrench and apply a torque of 2.6-2.8 Nm (1.88-2.03 Ft lbs.). If the body interferes with the special tool and the torque wrench, use a jack to slightly raise the engine assembly.

NOTE: Use a torque wrench measuring within a range of 0-3 Nm (0 - 2.2 Ft lbs.).






26. Holding the tensioner pulley with the special tool and torque wrench, tighten the center bolt to specification. Screw the special tool into the engine left support bracket until its end makes contact with the tensioner arm. At this point, screw the special tool a bit more and remove the set wire attached to the auto tensioner.






27. Remove the special tool.
28. Rotate the crankshaft two complete turns clockwise and leave it for about 15 minutes. Then, measure the auto tensioner protrusion "A" (distance between the tensioner arm and auto tensioner body) to ensure that it is up to specification.

Standard value:
Auto tensioner protrusion A: 3.8 - 4.5 mm (015 - 0.18 inch)

If it is out of specification, repeat steps 24 through 28 until the specified value is obtained.











NOTE: If the clearance "A" between the tensioner arm and the auto tensioner body cannot be measured (when the engine is mounted on the vehicle, for example), the following alternative method may be used.
1) Screw in the special tool until its end makes contact with the tensioner arm.
2) Screw in the special tool a bit more to retract the auto tensioner push rod while counting the number of turns the tool makes to bring the tensioner arm into contact with the auto tensioner body.
Make sure that the number of turns the special tool makes conforms to the standard value.

Standard value: 2.5 - 3 turns






29. Install the rubber plug to the timing belt rear cover.






30. Install the timing belt lower cover and the timing belt upper cover.