Operation CHARM: Car repair manuals for everyone.
Manuals through 2025 now available!

Our trusted friends have launched a new website named LEMON, which has newer manuals. It also contains all the CHARM manuals.

LEMON is the spiritual successor to CHARM, I recommend you try it!

Link: lemon-manuals.la or lemon-manuals.org.ua

(Some people have issue connecting. LEMON is investigating. For now, use Firefox or change your DNS server)

Or, hide this message: temporarily or permanently

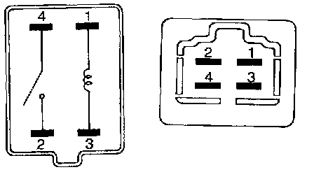
Compressor Clutch Relay: Testing and Inspection




1. Remove the battery ground cable.
2. Remove the cover of relay box located in engine compartment.
3. Remove the relays from relay box.
4. Check for continuity between the terminals.







check for continuity
If continuity is not as specified, replace the relay