Operation CHARM: Car repair manuals for everyone.
Manuals through 2025 now available!

Our trusted friends have launched a new website named LEMON, which has newer manuals. It also contains all the CHARM manuals.

LEMON is the spiritual successor to CHARM, I recommend you try it!

Link: lemon-manuals.la or lemon-manuals.org.ua

(Some people have issue connecting. LEMON is investigating. For now, use Firefox or change your DNS server)

Or, hide this message: temporarily or permanently

Operation Check of Components

While operating the components, check whether the operations are normal with timing chart.




Variable intermittent wiper
1. Time specification
- T1 : Max. 0.7 sec.
- T2 : Time of wiper motor 1 rotation
- T3 : 1.5 ± 0.7 sec. (VR = 0 K Ohms) - 10.5 ± 3 sec. (VR=50 K Ohms)




Washer
1. Time specification
- T1 : 0.6 sec.
- T2 : 2.5 - 3.8 sec.
2. This function should be operated preferentially even though the variable intermittent wiper is operating.




Rear window defogger
1. Time specification
- T1 : Min. 0.5 sec.
- T2 : 15 ± 3 min.




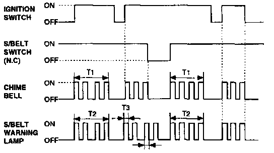
Seat belt warning
1. Time specification
- T1, T2 : 6 ± 1 sec.
- T3, T4 : 0.3 ± 0.1 sec.




Ignition key hole illumination
1. Time specification
- T1 : 10 ± 2 sec.
- T2 : 0 - 10 sec.




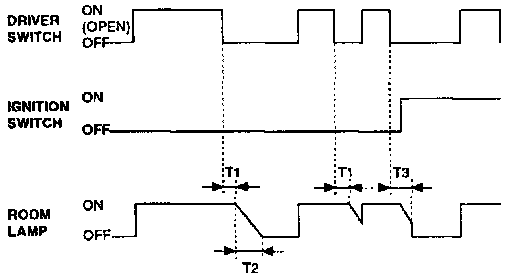
Decayed out room lamp
1. Time specification
- T1 : 2 ± 0.5 sec.
- T2 : 4 ± 1 sec.
- T3 : 0 - 6 sec.




Door warning
1. Time specification
- T1, T2: 0.3 ± 0.1 sec.




Ignition key reminder
1. Time specification
- T1 : 5.0 sec.




Door key illumination
1. Time specification
- T1 : 10 sec.




Power window
1. Time specification
- T1 : 30 ± 5 sec.