Operation CHARM: Car repair manuals for everyone.
Manuals through 2025 now available!

Our trusted friends have launched a new website named LEMON, which has newer manuals. It also contains all the CHARM manuals.

LEMON is the spiritual successor to CHARM, I recommend you try it!

Link: lemon-manuals.la or lemon-manuals.org.ua

(Some people have issue connecting. LEMON is investigating. For now, use Firefox or change your DNS server)

Or, hide this message: temporarily or permanently

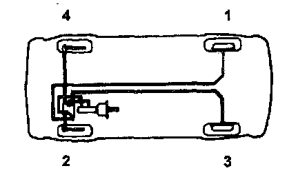
Without ABS

BLEEDING OF THE BRAKE SYSTEM





1. Remove the reservoir cap and fill the brake reservoir with brake fluid.

CAUTION: Do not allow brake fluid to remain on a painted surface. Wash it off immediately.

NOTE: When bleeding by pressurized fluid, do not depress the brake pedal.





2. Connect a vinyl tube to the wheel cylinder bleeder plug, and insert the other end of tube in a half full container of brake fluid.
3. Slowly pump the brake pedal several times.
4. While depressing the brake pedal fully, loosen the bleeder plug until fluid starts to run out. Then close the bleeder plug.
5. Repeat steps 3 and 4 until there are no more bubbles in the fluid.
6. Tighten the bleeder plug screw.
Bleeder screw tightening torque: 7 - 13 Nm (70 - 130 kg.cm, 5 - 9.6 ft. lbs.)





7. Repeat the above procedure for each wheel in the sequence shown in the illustration.