Operation CHARM: Car repair manuals for everyone.
Manuals through 2025 now available!

Our trusted friends have launched a new website named LEMON, which has newer manuals. It also contains all the CHARM manuals.

LEMON is the spiritual successor to CHARM, I recommend you try it!

Link: lemon-manuals.la or lemon-manuals.org.ua

(Some people have issue connecting. LEMON is investigating. For now, use Firefox or change your DNS server)

Or, hide this message: temporarily or permanently

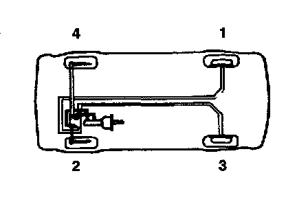
With ABS

BLEEDING OF BRAKE SYSTEM
This procedure should be used to insure adequate bleeding and filling of ABS unit, brake lines, master cylinder.





1. Remove the reservoir cap and fill the brake reservoir with brake fluid.

CAUTION: Do not allow brake fluid remain on a painted surface. Wash it off immediately.

NOTE: When bleeding by pressured fluid, do not depress the brake pedal.

Recommended fluid DOT3 or equivalent





2. Connect the clear plastic tube to the wheel cylinder bleeder plug and insert the other end of tube in a half filled clear plastic bottle.





3. Connect Hi-Scan to Data Link Connector located underneath the dash panel.
4. Select and operate according to the instruction on the Hi-Scan screen.

CAUTION: You have to obey maximum operating time (60 sec) of ABS motor with Hi-Scan to prevent motor pump from being burnt.





1) Select Hyundai vehicle diagnosis.





2) Select Anti-Lock brake system.





3) Select air bleeding mode.





4) Press 'YES' to operate motor pump and solenoid valve.





5) 'ON' and 'OFF' controls are automatically performed to prevent the motor pump from being burnt. (If not, you may damage the motor).

5. Pump the brake pedal several times, and then loosen the bleeder screw until fluid starts to run out without bubbles. Then close the bleeder screw.





6. Repeat the step 5 until there are no more bubbles in the fluid for each wheel in the sequence shown in the illustration.
7. Tighten the bleeder screw.
Bleeder screw tightening torque 7 - 9 Nm (70 - 90 kg-cm, 5 - 6.6 ft. lbs.)