Operation CHARM: Car repair manuals for everyone.
Manuals through 2025 now available!

Our trusted friends have launched a new website named LEMON, which has newer manuals. It also contains all the CHARM manuals.

LEMON is the spiritual successor to CHARM, I recommend you try it!

Link: lemon-manuals.la or lemon-manuals.org.ua

(Some people have issue connecting. LEMON is investigating. For now, use Firefox or change your DNS server)

Or, hide this message: temporarily or permanently

Air Temperature Sensor ( Ambient / Intake ): Testing and Inspection




INTAKE AIR TEMPERATURE SENSOR (AT SENSOR)
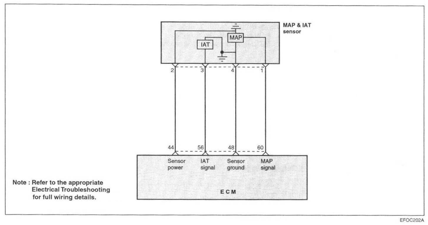
The intake air temperature sensor (AT Sensor), built in to the MAP sensor, is a resistor-based sensor detect the intake air temperature. According to the intake air temperature information from the sensor, the ECM will control the necessary amount of fuel injection.





TROUBLESHOOTING HINTS
The MIL is ON or the DTC is displayed on the HI-SCAN (Pro) under the following condition:
- When the intake air temperature is detected below -40 °C or higher than 120°C.

Using Hi-Scan (PRO):






Harness Inspection Procedures:









SENSOR INSPECTION
1. Using a multimeter, measure the AT sensor resistance between terminals 3 and 4.
2. It the resistance deviates from the standard value, replace the intake air temperature sensor assembly.