Operation CHARM: Car repair manuals for everyone.
Manuals through 2025 now available!

Our trusted friends have launched a new website named LEMON, which has newer manuals. It also contains all the CHARM manuals.

LEMON is the spiritual successor to CHARM, I recommend you try it!

Link: lemon-manuals.la or lemon-manuals.org.ua

(Some people have issue connecting. LEMON is investigating. For now, use Firefox or change your DNS server)

Or, hide this message: temporarily or permanently

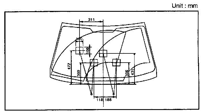
Windshield

Windshield Wiper Components:






REMOVAL




1. Remove the windshield wiper arm and blade.

NOTE: Care must be taken not to scratch the engine hood.




2. Remove the weather strip and the cowl top cover.




3. Disconnect the windshield wiper motor connector and remove the windshield wiper motor and link.

Tightening torque :
7 - 11 Nm (70 - 110 kg.cm, 5.1 - 8.0 lb.ft)

INSTALLATION




1. Install the wiper arm to the specified position.




2. Set the washer nozzle on the specified spray position.