Operation CHARM: Car repair manuals for everyone.
Manuals through 2025 now available!

Our trusted friends have launched a new website named LEMON, which has newer manuals. It also contains all the CHARM manuals.

LEMON is the spiritual successor to CHARM, I recommend you try it!

Link: lemon-manuals.la or lemon-manuals.org.ua

(Some people have issue connecting. LEMON is investigating. For now, use Firefox or change your DNS server)

Or, hide this message: temporarily or permanently

Timing System






REMOVAL

CAUTION: Rotate the crankshaft clockwise and align the timing marks to set the No. 1 cylinder's piston to TDC.
At this time, the timing marks of the camshaft sprocket and cylinder head cover should coincide with each other and the dowel pin of the camshaft sprocket should be at the upper side.

1. Remove the crankshaft pulley, engine coolant pump pulley and drive belt.
2. Remove the timing belt cover.





3. Remove the auto tensioner.

NOTE: If the timing belt is reused, make an arrow mark indicating the turning direction (or the front of the engine) to make sure that the belt is reinstalled in the same direction as before.
In this case the timing marks on the camshaft sprocket and on the locker cover should be aligned and the dowell pins on the camshaft sprockets should be positioned upward.





4. Remove the timing belt.





5. Remove the camshaft sprockets.

NOTE: Be careful not to damage the cylinder head and camshaft sprocket with the wrench.





6. When the oil pump sprocket nut is removed, first remove the plug at the left side of the cylinder block and insert a screwdriver to keep the left counter balance shaft in position. Use a screwdriver with a shaft measuring 8 mm (0.3 inch) in diameter which can be inserted by more than 60 mm (2.36 inch).
7. Remove the oil pump sprocket retaining nut and the oil pump sprocket.
8. Loosen the right counter balance shaft sprocket mounting bolt until it can be loosened by hand.





9. Next, remove the tensioner "B" and then the timing belt "B."

CAUTION: After the timing belt "B" is removed, do not attempt to loosen bolts while holding the sprocket with pliers or any other tool.

10. Remove the crankshaft sprocket "B" from the crankshaft.

INSPECTION
SPROCKETS, TENSIONER PULLEY AND IDLER PULLEY
1. Check the camshaft sprocket, crankshaft sprocket, tensioner pulley and idler pulley for abnormal wear, cracks or damage. Replace if necessary.





2. Inspect the tensioner pulley and the idler pulley for easy and smooth rotation and check for play or noise. Replace if necessary.
3. Replace the pulley if there is a grease leak from its bearing.

AUTO TENSIONER
1. Check the auto tensioner for leaking and replace if necessary.





2. Check the rod end for wear or damage and replace if necessary.





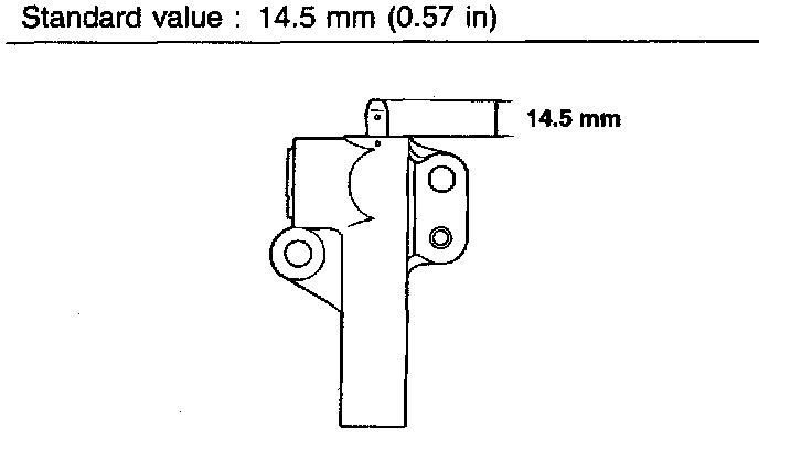
3. Measure the rod protrusion. If it is out of specification, replace the auto tensioner.
Standard value: 14.5 mm (0.57 inch)





4. Using a soft jaw vise, compress the auto tensioner rod. slowly. If the rod can be easily retracted, replace the auto tensioner. You should feel extensive resistance when pushing the rod in. And it must be compressed in several steps.

NOTE: Clamp the auto tensioner in the vise so that it is level. Use soft jaws in the vise to avoid damaging the auto tensioner.

TIMING BELT





1. Check the belt for oil or dust deposit. Replace if necessary. Small deposits should be wiped away with a dry cloth or paper. Do not clean with solvent.

1 Of 2:





2 Of 2:





2. When the engine is overhauled or belt tension is adjusted, check the belt carefully. If any of the following flaws are evident, replace the belt with a new one.

INSTALLATION





1. Install the crankshaft sprocket "B" into the crankshaft.

CAUTION: Pay attention to the direction of the flange. If it is installed in the wrong direction, a broken belt could result.





2. Apply engine oil to the outer surface of the spacer lightly and then install the spacer to the right counter balance shaft. Be sure to install in the direction shown in the illustration.
3. Install the counter balance shaft sprocket onto the right counterbalance shaft and then tighten its flange bolt by hand tightly.





4. Align the timing mark on each sprocket with the corresponding timing mark on the front case.





5. When the timing belt "B" is installed, make certain that its tension side has no slack.
Install the tensioner "B" so the center of the pulley is located on the left side of the mounting bolt and in the pulley flange faces the front of the engine.
Align the timing mark on the right counter balance shaft sprocket with the timing mark on the front case.





6. Lift the tensioner "B" to tighten the timing belt "B" so that its tension side is pulled tight. In this condition, tighten the bolt to secure tensioner "B". As the bolt is tightened, be careful to prevent the shaft from turning. If the shaft is turned, the belt will be tightened excessively.





7. Check to ensure that the timing marks are in alignment.

Specifications

8. Verify the tension of the timing belt.
Method 1: Verify that, when the center of the span on the tension side is depressed with an index finger in the direction of arrow, the deflection of the belt is within specification.
Belt deflection: 5 - 7 mm (0.20 - 0.28 inch)
Method 2: Measure the tension of the timing belt by using a tension gauge.










9. Install the flange and crankshaft sprocket onto the crankshaft. Be sure to install the as shown in the illustration.

CAUTION: Pay attention to the direction of the flange. If it is installed in the wrong direction, a broken belt could result.

10. Install the special washer and sprocket bolt to the crankshaft and then tighten the sprocket bolt.
Tightening torque
Crankshaft sprocket bolt 160 - 170 Nm (1600 - 1700 kg.cm, 116 - 123 ft. lbs.)





11. Insert a screwdriver through the plug hole in the left side of the cylinder block to keep the shaft in position.





12. Install the oil pump sprocket and tighten the nut to the specified torque.
Tightening torque
Oil pump sprocket 50 - 60 Nm (500 - 600 kg.cm, 36 - 43 ft. lbs.)





13. Install the camshaft sprocket and tighten the bolt to the specified torque.
Tightening torque
Camshaft sprocket bolt 80 - 100 Nm (800 - 1000 kg.cm, 58 - 72 ft. lbs.)





14. Install the auto tensioner.

CAUTION: Leave the set pin installed in the auto tensioner.





NOTE: If the auto tensioner rod is in its fully extended position, reset it as follows.
1. Clamp it in a vise equipped with soft jaws, in a level position. Use a plain washer if there is a plug at the bottom of the auto tensioner
2. Compress the rod slowly with the vise until the set hole in the rod is aligned with set hole in the cylinder
3. Insert a set pin through the auto tensioner body and rod.

CAUTION: Leave the set pin installed in the auto tensioner.





15. Install the tensioner pulley onto the tensioner arm.
Tightening torque
Tensioner pulley: 43 - 55 Nm (430 - 550 kg.cm, 31 - 40 ft. lbs.)
16. Rotate the camshaft sprockets so that the dowel pin of the camshaft sprocket is at the upper side. Set the timing mark of sprocket correctly





NOTE:
1. Before installing the timing belt, if the timing mark of the cam sprocket doesn't coincide with that of the rocker cover, do not rotate the cam sprocket more than 2 teeth of the sprocket in any direction. Rotating the sprocket more than 2 teeth may make the valve and piston touch each other
2. If it is necessary to rotate the cam sprocket more than 2 teeth, rotate the crank sprocket counter clock wise first based on the timing mark. After the cam sprocket is properly timed return the crankshaft to TDC.





NOTE: When exhaust and intake camshaft sprocket is used and install it after checking I.D. mark depending on the engine deplacement.





17. Align the timing mark on each sprocket with the corresponding timing mark and install the belt as the following order.
Crankshaft sprocket - Oil pump sprocket - Idler pulley - Exhaust camshaft sprocket - Intake camshaft sprocket - Tensioner pulley





NOTE:
1. Be sure that the piston of NO. 1 cylinder is located in TDC position (Compression stroke).
2. When aligning the timing mark on oil pump sprocket, remove the left plug of cylinder block, and then check that the count balance shaft is in the specified position by inserting the screwdriver (Diameter: 8 mm, inserting length: 60 mm or more)
3. After checking the timing mark, install the lift plug of cylinder block.

Tightening torque: 2.7 - 3.4 kgf.m
(Apply the liquid gasket THREE BOND NO.1212B or equivalent)

18. Pull out the set pin.





19. Rotate the crankshaft two turns clockwise and leave it for about 5 minutes. Then, measure the auto tensioner protrusion "A" (Distance between the tensioner arm and auto tensioner body) to ensure that it is within the specification.
Standard value: 5.5 - 9 mm (0.22 - 0.35 inch)





20. Install the timing belt lower cover and the timing belt upper cover.
A: 8 - 10 Nm (80 - 100 kg.cm, 6 - 7 ft. lbs.)
B: 10 - 12 Nm (100 - 120 kg.cm, 7 - 8 ft. lbs.)