Operation CHARM: Car repair manuals for everyone.
Manuals through 2025 now available!

Our trusted friends have launched a new website named LEMON, which has newer manuals. It also contains all the CHARM manuals.

LEMON is the spiritual successor to CHARM, I recommend you try it!

Link: lemon-manuals.la or lemon-manuals.org.ua

(Some people have issue connecting. LEMON is investigating. For now, use Firefox or change your DNS server)

Or, hide this message: temporarily or permanently

ABS (Anti-Lock Brake System)

BLEEDING OF BRAKE SYSTEM
This procedure should be used to insure adequate bleeding and filling of ABS unit, brake lines, master cylinder.





1. Remove the reservoir cap and fill the brake reservoir with brake fluid.

CAUTION: Do not allow brake fluid to remain on a painted surface. Wash it off immediately.

NOTE: When bleeding by pressured fluid, do not depress the brake pedal. Recommended fluid DOT3 or DOT4





2. Connect the clear plastic tube to the wheel cylinder bleeder plug and insert the other end of the tube in a half filled clear plastic bottle half filled with brake fluid.





3. Connect Scan tool to the Data Link Connector located underneath the dash panel.
4. Select and operate according to the instructions on the Scan tool screen.

CAUTION: You have to obey maximum operating time (60 seconds) of ABS motor with Scan tool to prevent motor pump burnt.

1) Select Hyundai vehicle diagnosis.
2) Select vehicle name.
3) Select Anti-Lock brake system.





4) Select air bleeding mode.





5) Press "YES" to operate motor pump and solenoid valve.





6) "ON" and "OFF" control are automatically performed to prevent the motor pump from being burnt. (If not, you may damage the motor).
5. Pump the brake pedal several times, and then loosen the bleeder screw until fluid starts to run out without bubbles. Then close the bleeder screw.





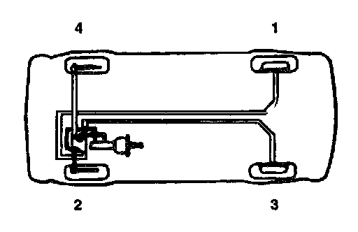
6. Repeat the step 5 until there are no more bubbles in the fluid for each wheel in the sequence shown in the illustration.
7. Tighten the bleeder screw.
Bleeder screw tightening torque: 7 - 13 Nm (70 - 130 kgf-cm, 5.2 - 9.6 ft. lbs.)