Operation CHARM: Car repair manuals for everyone.
Manuals through 2025 now available!

Our trusted friends have launched a new website named LEMON, which has newer manuals. It also contains all the CHARM manuals.

LEMON is the spiritual successor to CHARM, I recommend you try it!

Link: lemon-manuals.la or lemon-manuals.org.ua

(Some people have issue connecting. LEMON is investigating. For now, use Firefox or change your DNS server)

Or, hide this message: temporarily or permanently

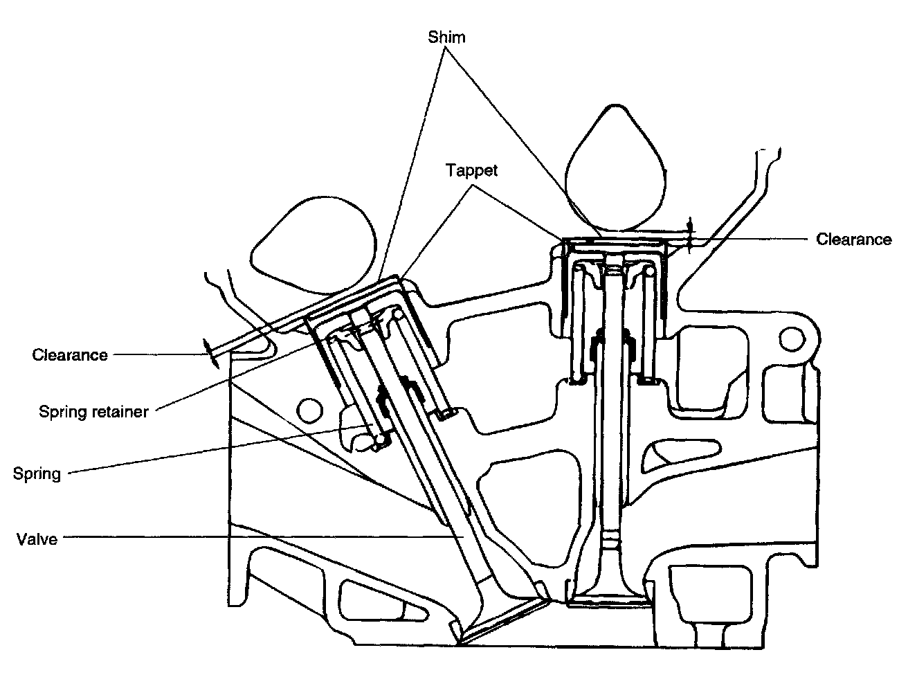
Valve Clearance: Adjustments

VALVE CLEARANCE INSPECTION AND ADJUSTMENT





NOTE: Inspect and adjust the valve clearance when the engine is cold (Engine coolant temperature: 20 °C) and cylinder head is installed on the cylinder block.





1. Remove the engine cover.





2. Remove the upper timing belt cover.
a. Loosen the upper timing belt cover bolts and then remove the cover.
3. Remove the cylinder head cover.
a Disconnect the spark plug cables and do not pull on the spark plug cables by force.

NOTE: Pulling on or bending the cables may damage the conductor inside.





b. Disconnect the P.C.V. hose and the breather hose from the cylinder head cover.





c. Disconnect the accelerator cable from the cylinder head cover.





d. Loosen the cylinder head cover bolts and then remove the cover and gasket.
4. Set No.1 cylinder to TDC/ compression.





a. Turn the crankshaft pulley and align its groove with the timing mark "T" of the lower timing belt cover.





b. Check that the hole of the camshaft timing pulley is aligned with the timing mark of the bearing cap. If not, turn the crankshaft one revolution (360°)
5. Inspect the valve clearance.





a. Check only the valves indicated as shown. [No.1 cylinder: TDC/Compression] measure the valve clearance
^ Using a thickness gauge, measure the clearance between the tappet shim and the base circle of camshaft.
^ Record the out - of - specification valve clearance measurements. They will be used later to determine the required replacement adjusting shim.

Valve clearance
[Specification]
Engine coolant temperature: 20 °C (68 °F)
Intake: 0.20 mm (0.0079 in.)
Exhaust: 0.28 mm (0.0110 in.)
Engine coolant temperature: 80 °C (176 °F)
Intake: 0.29 mm (0.0114 in.)
Exhaust: 0.34 mm (0.0134 in.)
Limit
Intake: 0.12 - 0.28 mm (0.0047 - 0.0110 in.)
Exhaust: 0.20 - 0.38 mm (0.0079 - 0.0150 in.)

b. Turn the crankshaft pulley one revolution (360°) and align the groove with timing mark "T" of the lower timing belt cover.





c. Check only the valves indicated as shown. [NO.4 cylinder: TDC/compression]. Measure the valve clearance.
6. Adjust the intake and exhaust valve clearance.
a. Turn the crankshaft so that the cam lobe of the camshaft on the adjusting valve is upward.





b. Using the special tool (09220-2D000), press down the valve lifter and place the stopper between the camshaft and valve liner and remove the special tool.





c. Remove the adjusting shim with a small screw driver and magnet.





d. Measure the thickness of the removed shim using a micrometer.
e. Calculate the thickness of a new shim so that the valve clearance comes within the specified value.
Valve clearance (Engine coolant temperature: 20 °C)
T: Thickness of removed shim
A: Measured valve clearance
N: Thickness of new shim
Intake: N = T + [A - 0.20 mm (0.0079 in.)]
Exhaust: N = T + [A - 0.28 mm (0.0110 in.)]

f. Select a new shim with a thickness as close as possible to the calculated value.

NOTE: Shims are available in 20 size increments of 0.04 mm (0.0016 in.) from 2.00 mm (0.079 in.) to 2.76 mm (0.1087 in.)

g. Place a new adjusting shim on the valve lifter.
h. Using the special tool (09220-2D000), press down the valve lifter and remove the stopper.
i. Recheck the valve clearance.
Valve clearance (Engine coolant temperature: 20 °C)
[Specification]
Intake: 0.20 mm (0.0079 in.)
Exhaust: 0.28 mm (0.0110 in.)
[Limit] (After adjusting valve clearance)
Intake: 0.17 - 0.23 mm (0.0067 - 0.0091 in.)
Exhaust: 0.25 - 0.31 mm (0.0098 - 0.0122 in.)





Adjusting Shim Selection Chart (Intake)





Adjusting Shim Selection Chart (Exhaust)