Operation CHARM: Car repair manuals for everyone.
Manuals through 2025 now available!

Our trusted friends have launched a new website named LEMON, which has newer manuals. It also contains all the CHARM manuals.

LEMON is the spiritual successor to CHARM, I recommend you try it!

Link: lemon-manuals.la or lemon-manuals.org.ua

(Some people have issue connecting. LEMON is investigating. For now, use Firefox or change your DNS server)

Or, hide this message: temporarily or permanently

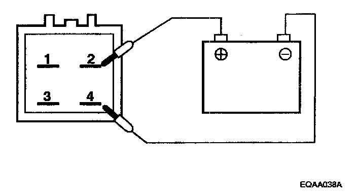
Condenser Fan: Testing and Inspection

CONDENSER FAN ASSEMBLY

1. Check the condenser fan for blockage or damage.
2. Check the connection of the harness coupler.




3. Check that the fan motor runs when the battery voltage is applied.

Fan Logic: