Operation CHARM: Car repair manuals for everyone.
Manuals through 2025 now available!

Our trusted friends have launched a new website named LEMON, which has newer manuals. It also contains all the CHARM manuals.

LEMON is the spiritual successor to CHARM, I recommend you try it!

Link: lemon-manuals.la or lemon-manuals.org.ua

(Some people have issue connecting. LEMON is investigating. For now, use Firefox or change your DNS server)

Or, hide this message: temporarily or permanently

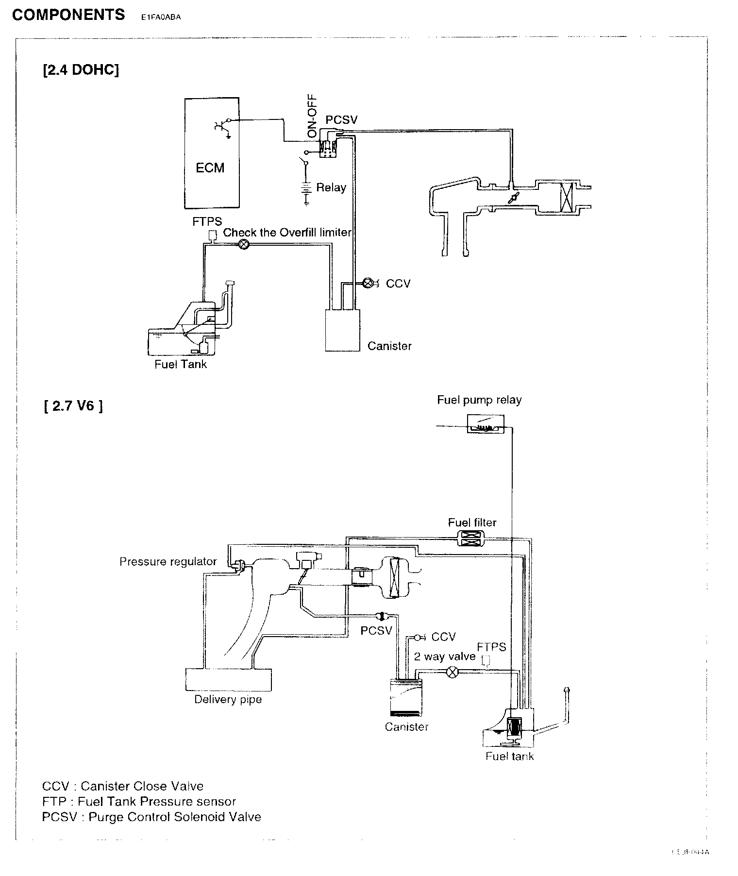
Evaporative Emissions System: Description and Operation

Evaporative and ORVR Emission Control System

Description

ORVR On-Board Refueling Vapor Recovery:






On-Board Refueling Vapor Recovery (ORVR) system is properly designed to prevent the fuel tank vapor (HC) emission during refueling at the gas station. This system consists of fuel vent valve (ORVR), fuel shut-off valve, fuel cut valve (roll over), two way valve (pressure/vacuum relief), fuel liquid/vapor separator which is installed beside the filler pipe, charcoal canister which is mounted under the rear floor LH side member with protector, tubes and miscellaneous connections. While refueling, the flow and column of there fueling draws the ambient air into the filler pipe so as not to emit fuel vapor in the air. The fuel vapor in the tank is then forced to flow into the canister via the fill vent valve and the fuel liquid/vapor separator which isolates liquid fuel ingredient and transfers the pure vapor to the carbon canister. While the engine is operating, the trapped vapor emission in the canister is drawn and fed by the intake manifold vacuum into the engine combustion chamber. According to this purge process, the carbonp canister is purged and recovers its adsorbing capability.

Evaporative Emission Control Components: