Operation CHARM: Car repair manuals for everyone.
Manuals through 2025 now available!

Our trusted friends have launched a new website named LEMON, which has newer manuals. It also contains all the CHARM manuals.

LEMON is the spiritual successor to CHARM, I recommend you try it!

Link: lemon-manuals.la or lemon-manuals.org.ua

(Some people have issue connecting. LEMON is investigating. For now, use Firefox or change your DNS server)

Or, hide this message: temporarily or permanently

A/T Control Component Check

A/T CONTROL COMPONENT CHECK
1. THROTTLE POSITION SENSOR CHECK
The TPS is a variable resistor type that rotates with the throttle body shaft to sense the throttle valve angle. As the throttle shaft rotates, the output voltage of the TPS changes. The ECM detects the throttle valve opening based on voltage change.
2. OIL TEMPERATURE SENSOR CHECK
1) Remove the oil temperature sensor.
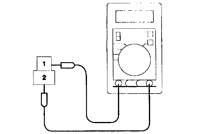
2) Measure the resistance between terminals 1 and 2 of the oil temperature sensor connector.





STANDARD VALUE

3. VEHICLE SPEED SENSOR CHECK
1) Remove the vehicle speed sensor and connect a 3-10 k ohms resistance as shown in the illustration.





2) Turn the shaft of the vehicle speed sensor and check that there is voltage between terminals 2-3 (1 turn=4 pulses).
4. A/T CONTROL RELAY CHECK
1) Remove the A/T control relay.
2) Use jumper wires to connect A/T control relay terminal 2 to the battery (+) terminal and terminal 4 to the battery (-) terminal.
3) Check the continuity between terminal 1 and terminal 3 of the A/T control relay when the jumper wires are connected and disconnected from the battery.





4) If there is a problem, replace the A/T control relay.
5. SOLENOID VALVE CHECK
1) Remove the valve body cover.





2) Disconnect the connectors of each solenoid valve.
3) Measure the resistance between terminals 1 and 2 of each solenoid valve.








STANDARD VALUE

4) If the resistance is outside the standard value, replace the solenoid valve.





NOTE: Resistance of the solenoid valve connector.