Operation CHARM: Car repair manuals for everyone.
Manuals through 2025 now available!

Our trusted friends have launched a new website named LEMON, which has newer manuals. It also contains all the CHARM manuals.

LEMON is the spiritual successor to CHARM, I recommend you try it!

Link: lemon-manuals.la or lemon-manuals.org.ua

(Some people have issue connecting. LEMON is investigating. For now, use Firefox or change your DNS server)

Or, hide this message: temporarily or permanently

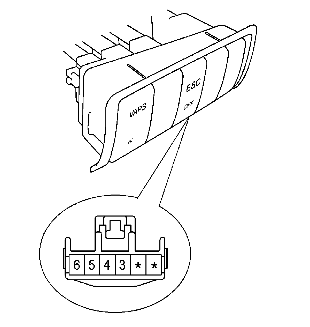
Traction Control Switch: Testing and Inspection

ESP (ELECTRONIC STABILITY PROGRAM) SYSTEM

INSPECTION
1. Remove the ESC OFF switch from the switch panel on the crash pad of the driver's side.





2. Check the continuity between the switch terminals as the ESC OFF switch is engaged.