Operation CHARM: Car repair manuals for everyone.
Manuals through 2025 now available!

Our trusted friends have launched a new website named LEMON, which has newer manuals. It also contains all the CHARM manuals.

LEMON is the spiritual successor to CHARM, I recommend you try it!

Link: lemon-manuals.la or lemon-manuals.org.ua

(Some people have issue connecting. LEMON is investigating. For now, use Firefox or change your DNS server)

Or, hide this message: temporarily or permanently

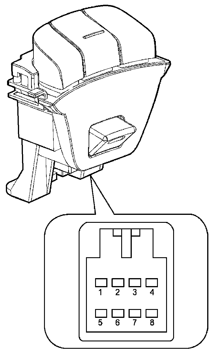
Component Tests and General Diagnostics

INSPECTION

MEASURING RESISTANCE




1. Disconnect the cruise control switch connector from the control switch.




2. Measure resistance between terminals on the control switch when each function switch is ON (switch is depressed).
3. If not within specification, replace switch.

MEASURING VOLTAGE




1. Connect the cruise control switch connector to the control switch.




2. Measure voltage between terminals on the harness side connector when each function switch is ON (switch is depressed).
3. If not within specification, replace switch.