Operation CHARM: Car repair manuals for everyone.
Manuals through 2025 now available!

Our trusted friends have launched a new website named LEMON, which has newer manuals. It also contains all the CHARM manuals.

LEMON is the spiritual successor to CHARM, I recommend you try it!

Link: lemon-manuals.la or lemon-manuals.org.ua

(Some people have issue connecting. LEMON is investigating. For now, use Firefox or change your DNS server)

Or, hide this message: temporarily or permanently

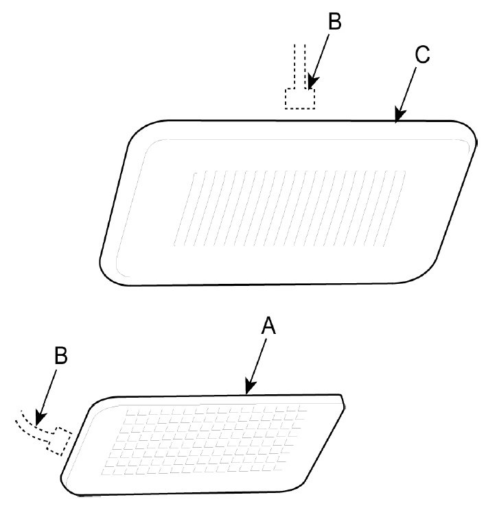
Vanity Lamp: Service and Repair

VANITY LAMP AND HANDS FREE MIC REPLACEMENT

NOTE:
- When prying with a flat-tip screwdriver, wrap it with protective tape to prevent damage.
- Put on gloves to protect your hands.

1. Using a screwdriver, and remove the vanity lamp (A) and hands free mic (C).
2. Disconnect the connector (B).






3. Installation is the reverse of removal.