Operation CHARM: Car repair manuals for everyone.
Manuals through 2025 now available!

Our trusted friends have launched a new website named LEMON, which has newer manuals. It also contains all the CHARM manuals.

LEMON is the spiritual successor to CHARM, I recommend you try it!

Link: lemon-manuals.la or lemon-manuals.org.ua

(Some people have issue connecting. LEMON is investigating. For now, use Firefox or change your DNS server)

Or, hide this message: temporarily or permanently

Rear

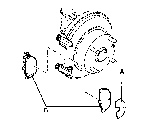
REAR DISC BRAKE








COMPONENTS

REPLACEMENT

CAUTION: Frequent inhalation of brake pad dust, regardless of material composition, could be hazardous to your health.
- Avoid breathing dust particles.
- Never use an air hose or brush to clean brake assemblies.

1. Raise the rear of the vehicle and make sure it is securely supported. Remove the rear wheel.
2. Release the parking brake.





3. Remove the brake hose (A) from the suspension arm by removing the brake hose clip (B).
Thoroughly clean the outside of the caliper to prevent dust and dirt from entering inside.
Support the caliper with a piece of wire so that it does not hang from the brake hose.
4. Remove the two guide rods (C) and caliper (D) from the bracket.





5. Remove the pad shim (A) and brake pads (B).





6. Using vernier calipers, measure the thickness of each brake pad lining. Measurement does not include pad backing plate (A) thickness.
Brake pad thickness:
Standard: 9 mm (0.35 inch)
Service limit: 2 mm (0.08 inch)





7. Remove the pad retainers.
8. Clean the caliper thoroughly; remove any rust, and check for grooves and cracks.
9. Check the brake disc for damage and cracks.
10. Install the pad retainers.





11. Check the foreign material at the pad shim (A) and the back of the pads (B). Contaminated brake discs or pads reduce stopping ability. Keep grease off the discs and pads.
12. Install the brake pads (B) and pad shim (A) on the caliper bracket. Install the inner pad with its wear indicator (C) facing down ward.
If you are rousing the pads, always reinstall the brake pads in their original positions to prevent a momentary loss of braking efficiency.





13. Rotate the caliper piston (A) clockwise into the cylinder, the align the cutout (B) in the piston with the tab (C) on the inner pad by turning the piston back. Lubricate the boot with rubber grease to avoid twisting the piston boot. If the piston boot is twisted, back it out so it is positioned properly.
14. Install the brake caliper (D).
15. Install and torque the guide rods (E) to proper specification.
16. Install the brake hose (F) onto the suspension arm with the brake hose clip (G).
17. After installation, check for leaks at hose and line joints and connections, and retighten if necessary.
18. Depress the brake pedal several times to make sure the brakes work, then test-drive.

NOTE: Engagement of the brake may require a greater pedal stroke immediately after the brake pads have been replaced as a set. Several applications of the brake pedal will restore the normal pedal stroke.

INSPECTION

RUNOUT
1. Raise the rear or the vehicle, and make sure it is securely supported.
2. Remove the brake pads.
3. Inspect the disc surface for damage and cracks clean the disc thoroughly and remove all rust.





4. Use wheel nuts and suitable flat washers (A) to hold the disc securely against the hub, then mount a dial indicator (B) as shown, and measure the runout at 10 mm (0.4 inch) from the outer edge of the disc.
5. If the disc is beyond the service limit, refinish the brake disc.
Max. Refinishing limit: 8.0 mm (0.315 inch)

NOTE: A new disc should be refinished if its runout is greater than 0.10 mm (0.004 inch)

THICKNESS AND PARALLELISM
1. Loosen the rear wheel nuts slightly, then raise the vehicle, and make sure it is securely supported. Remove the rear wheels.
2. Remove the brake pads.
3. Using a micrometer (A), measure disc thickness at eight points, approximately 45° apart and 10 mm (0.4 inch) in from the outer edge of the disc. Replace the brake disc if the smallest measurement is less than the max. refinishing limit.
Brake disc thickness:
Standard: 10 mm (0.4 inch)
Max. Refinishing limit: 8.0 mm (0.315 inch)
Brake disc parallelism: Max. 0.015 mm (0.0006 inch)





This is the maximum allowable difference between the thickness measurements.
4. If the disc is beyond the service limit for parallelism, refinish the brake disc.

NOTE: If the brake disc is beyond the service limit for refinishing, replace it.