Operation CHARM: Car repair manuals for everyone.
Manuals through 2025 now available!

Our trusted friends have launched a new website named LEMON, which has newer manuals. It also contains all the CHARM manuals.

LEMON is the spiritual successor to CHARM, I recommend you try it!

Link: lemon-manuals.la or lemon-manuals.org.ua

(Some people have issue connecting. LEMON is investigating. For now, use Firefox or change your DNS server)

Or, hide this message: temporarily or permanently

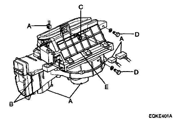
Blower Motor: Service and Repair

REMOVAL

1. Disconnect the negative cable from the battery.
2. Remove the crash pad.




3. Disconnect the connectors(A) from the blower relay the blower motor, the blower resistor (or power transistor) and the fresh and recirculation actuator. Remove the self-tapping screws(B), the mounting nut(C), the mounting bolts(D) and the blower unit(E).

NOTE: Make sure that there is no air leaking out of the blower and duct joints.