Operation CHARM: Car repair manuals for everyone.
Manuals through 2025 now available!

Our trusted friends have launched a new website named LEMON, which has newer manuals. It also contains all the CHARM manuals.

LEMON is the spiritual successor to CHARM, I recommend you try it!

Link: lemon-manuals.la or lemon-manuals.org.ua

(Some people have issue connecting. LEMON is investigating. For now, use Firefox or change your DNS server)

Or, hide this message: temporarily or permanently

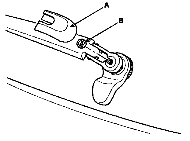
Rear

REAR WIPER MOTOR

REMOVAL




1. Detach the wiper cap(A), then remove the rear wiper arm after removing a nut(B).

Tightening torque
Nut(B): 14-17 Nm (140-170 kgfcm, 10.1-12.3 lbf.ft)




2. Remove the handle(B) after removing a nut(A).

Tightening torque
Nut(A): 10-13 Nm (100-130 kgfcm, 7.2-9.4 lbf.ft)

3. Open the tailgate glass then remove the rear wiper motor cover(A).




4. Disconnect the rear wiper motor connector then remove the rear wiper motor(B) after removing 3 nuts.

Tightening torque
Nut: 14-17 Nm (140-170 kgfcm, 10.1-12.3 lbf.ft)

5. Installation is the reverse of removal.

INSTALLATION







1. Install the rear wiper arm and blade to the specified position.




2. Set the rear washer nozzle on the specified spray position.