Operation CHARM: Car repair manuals for everyone.
Manuals through 2025 now available!

Our trusted friends have launched a new website named LEMON, which has newer manuals. It also contains all the CHARM manuals.

LEMON is the spiritual successor to CHARM, I recommend you try it!

Link: lemon-manuals.la or lemon-manuals.org.ua

(Some people have issue connecting. LEMON is investigating. For now, use Firefox or change your DNS server)

Or, hide this message: temporarily or permanently

Exterior Lighting Functions

FUNCTIONS

EXTERIOR LIGHTING FUNCTIONS
The exterior lighting function has to provide the lighting and signalling of the vehicle; it monitors different available lights in front or at the back of the vehicle:
- Park and Tail lamps (with Side marker lamps),
- License plate lamps,
- Head lamps Low Beam,
- Head lamps High Beam,
- Front and Rear fog lamps (with the Rear fog lamp switch indicator),
- Stop lamps,
- Backup lamps,
- Turn signal and side repeater lamps.

PARK/TAIL LAMPS FUNCTION
1. Necessary conditions to switch ON :
- By putting the Head lamp switch in position 'Park and Tail lamp' or 'Head lamp Low Beam' or Auto light activation or DRL activation

2. Necessary conditions to switch OFF :
- If they are released by the Head lamp switch (Auto light function deactivated) and if DRL function is deactivated
- If the Auto light function is active but the Auto light Sensor signal status is OFF or Battery Saver function is active.




3. Functional diagram

HEAD LAMPS LOW BEAM FUNCTION
1. Necessary conditions to switch ON :
- By putting the Head lamp switch in position 'Head lamp Low Beam' or Auto light activation or DRL activation.

2. Necessary conditions to switch OFF :
- If they are released by the Head lamp switch (Auto light function deactivated) and if the DRL function is deactivated
- If the Auto light function is active but the Auto light sensor signal status is not 'HL ON'.




3. Functional diagram.

HEAD LAMPS HIGH BEAM FUNCTION
1. Necessary conditions to switch ON :
- By pushing down the High Beam lever switch
- If the Head lamp switch is in position 'Head lamp Low Beam' or the Head lamps Low Beam have been turned ON by the Auto light function.

- By pulling the High Beam lever switch toward the driver (Flash to pass activation)
- By the DRL function activation for Canada.

2. Necessary conditions to switch OFF :
- By pulling back the High Beam lever switch (manual reset by the driver) or
- If the Head lamps Low Beam are turned OFF or if the Auto light function is active but the Auto light Sensor signal status is not 'HL ON') or
- By releasing the Flash To Pass activation and
- If the DRL function is deactivated for Canada.




3. Functional diagram

TURN SIGNAL AND SIDE REPEATER LAMPS FUNCTION
1. Necessary conditions to switch ON (if they are standard)
- By activation of Crash Unlock
- During the opening / closing of the Tail gate by the PTG Flasher input
- With the Remote Keyless Entry to lock I unlock the vehicle
- By alarm activation
- By panic activation with the Remote Keyless Entry
- By activation of the Hazard Lamp by the hazard switch and ignition is position OFF, ACC or RUN
- By using the turn lever switch with the ignition switch in the ON position.

2. Necessary conditions to switch OFF (if they are standard) :
- Ignition switch in OFF position for deactivation of crash unlock flashing
- Deactivation of the alarm or at the end of the alarm flashing sequence
- Deactivation of panic sequence with pushing any button of the Remote Keyless Entry or at the end of the panic flashing sequence
- Turn lever switch command in OFF position or ignition switch in OFF, ACC or START position to stop turn lever flashing.
- The hazard switch in OFF position or ignition switch in position START to stop the Hazard flashing.
- At the end of the Lock, Unlock and PTG flashing sequence.

3. During the start up of the vehicle (ignition key in position START) :
- The Turn signal lamps activated by the turn lever switch are temporarily turned OFF. If the time duration in Start position is more than 10 seconds and engine running, the Turn signal lamps are managed again as if the ignition key was in ON position,
- The flashing sequence of the hazard lamps is immediately stopped if they have been activated by the hazard button. If the time duration in Start position is more than 10 seconds and engine running, the flashing sequence of the hazard lamps are managed again as if the ignition key was in RUN position,
- The flashing sequence of the hazard lamps is not stopped if they have been activated by a crash unlock.




4. Functional diagram

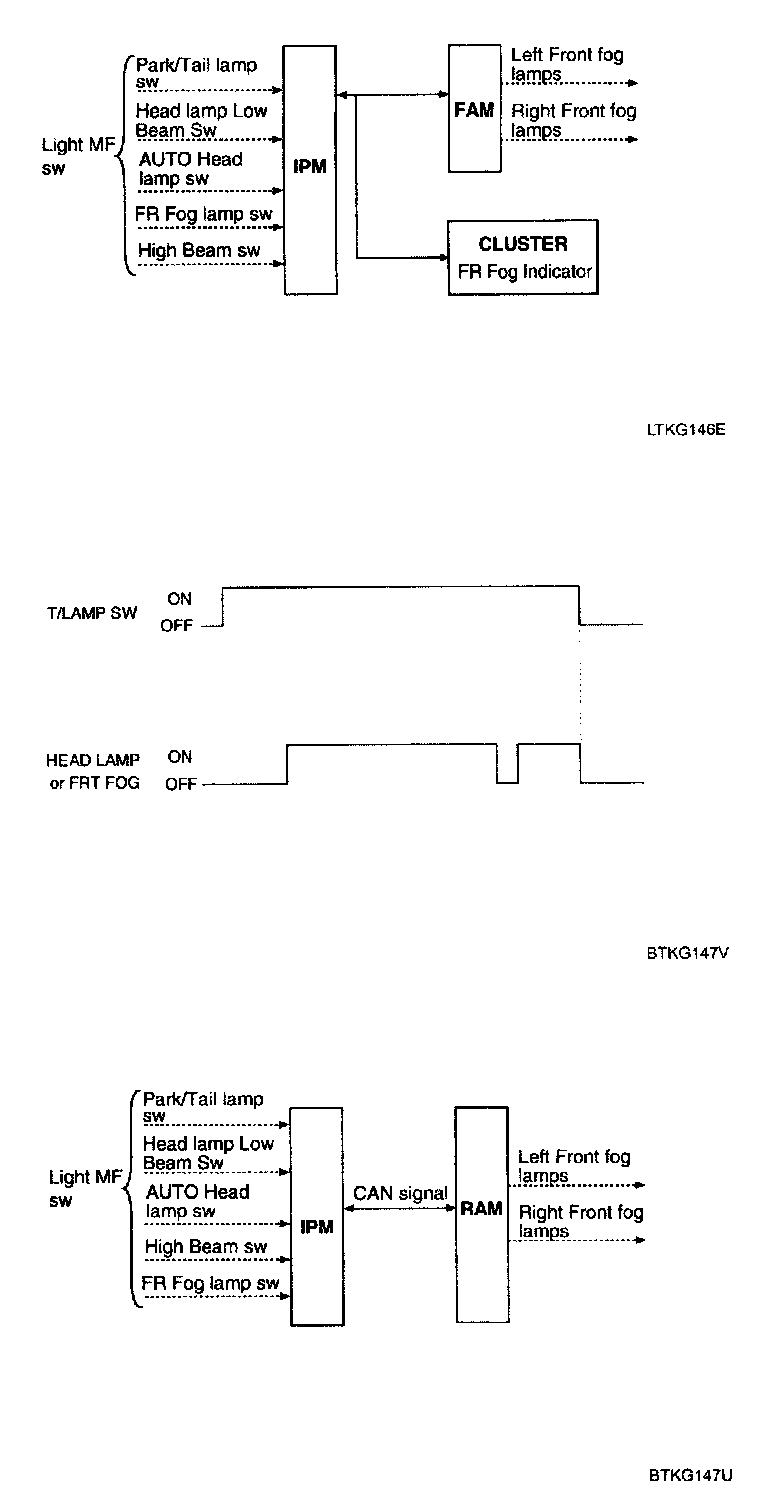
FRONT FOG LAMPS FUNCTION
1. Necessary conditions to switch ON (When the ignition key is in the RUN position and Head lamps High Beam are OFF.)
- By using the stalk: Head lamp switch in position Head lamp Low Beam' and Front Fog lamp sw ON
- When Auto light function activated and Auto light Sensor signal status is 'HL ON' and Front Fog lamp sw ON

2. Necessary conditions to switch OFF (When the ignition key is in the RUN position)
- When Auto light function activated and Auto light Sensor signal status is not ON
- When Front fog lamp sw OFF.
- If the Head lamps High Beam are turned ON (With high beam SW or flash to pass)




3. Functional Diagram

BACKUP LAMPS FUNCTION
1. Necessary conditions to switch ON :
- When inhibit sw 'R' read by FAM is active and transmitted to RAM by CAN signal.

2. Necessary conditions to switch OFF :
- When inhibit sw 'R' read by FAM is not active and transmitted to RAM by CAN signal.




3. Functional diagram

STOP LAMPS FUNCTION
1. Necessary conditions to switch ON the stop lamps:
- Pushing on the brake pedal.

2. Necessary conditions to switch OFF the stop lamps:
- Releasing the brake pedal.




3. Functional diagram

AUTO LIGHT FUNCTION
1. The Auto light function is active when the Head lamp switch is positioned to 'Auto' and the Key is in RUN position.

The auto light sensor is powered on the status ACC START and RUN of the key position. Based on the Auto light sensor values corresponding to the exterior brightness level, it controls automatically the lighting of the Park and tail lamps or / and the Head lamps Low Beam depending on the country.




2. Auto light Sensor detection table

DRL FUNCTION
1. The Auto DRL function operates the Head lamps High Beam at 50% of full illumination.

The park and tail are managed by the auto light sensor. The Auto DRL function is active if:
- The ignition switch is on RUN position
- The engine is running.
- The Park brake switch is OFF.

2. The DRL function is inactive when one of above conditions is released. When the DRL function is active, the Head lamps High Beam can't be turned ON, except for the Flash To Pass activation.




3. Functional diagram

BATTERY SAVER FUNCTION
1. Necessary conditions to activate the Battery Saver function:
- Do not turn off the Park/Tail Lamp when intentionally turned on.
- If Key reminder switch is ON and Park/Tail Lamp switch is ON, Intentional "ON" should be reset
- If the driver's door is open and if the key is not in the key hole whereas the Head lamp switch is still in position 'Park and tail lamp' or 'Head lamp Low Beam', the park and tail lamps (and the Front fog/lamps if turned on) are immediately turned off.




2. Necessary conditions to cancel the Battery Saver function:
- As soon as the Key is input into the IGN Key Cylinder or the Head lamp switch is put to position OFF.




3. Functional diagram